Охранные системы Страж AVIZOR KIT - инструкция пользователя по применению, эксплуатации и установке на русском языке. Мы надеемся, она поможет вам решить возникшие у вас вопросы при эксплуатации техники.
Если остались вопросы, задайте их в комментариях после инструкции.
"Загружаем инструкцию", означает, что нужно подождать пока файл загрузится и можно будет его читать онлайн. Некоторые инструкции очень большие и время их появления зависит от вашей скорости интернета.

58
Страж™
AVIZOR
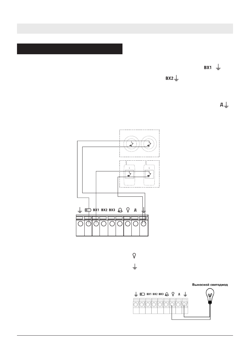
10. ПОДКЛЮЧЕНИЕ ДОПОЛНИТЕЛЬНЫХ
ПРОВОДНЫХ КОМПОНЕНТОВ
10.1 Подключение дополнительных проводных
датчиков
К сигнализации «Страж™ AVIZOR » возможно под-
ключить 2 шлейфа с проводными датчиками� Воз-
можно подключения любого датчика с нормально за-
мкнутым или нормально разомкнутым контактом� При
подключении на один шлейф более одного датчика с
нормально замкнутыми контактами, используйте по-
следовательное соединение датчиков�
При подключении на один шлейф более одного дат-
чика с нормально разомкнутыми контактами, исполь-
зуйте параллельное соединение датчиков�
Датчики, подключаемые к контактам
и выде-
ляются в зону 1� При срабатывании датчиков, подклю-
ченных к контактам
Вы будете получать SMS со-
общения с установленным вами текстом и тревожные
кол-во гудков при этом будет соответствовать номеру
сработавшей зоны�
Питать проводные датчики возможно как от внешне-
го источника электропитания, так и от контактов
Зона 1
Зона 2
10.2 Подключение выводного светодиода
Выносной светодиод удобно использовать, в случае
если для постановки снятия используются брелки или
мобильный телефон� Вы не можете проконтролировать,
снялась система с охраны или нет, если централь у вас
спрятана в кладовке� Установив выносной светодиод
перед входной дверью, Вам будет легко ориентиро-
ваться в состоянии системы и не придется тратить
деньги на лишние SMS информирующие о статусе си-
стемы�
Для подключения выносного светодиода смотрите
схему, приведенную ниже�
– к этому разъему на клемной колодке подключает-
ся плюс светодиода�
– к этому разъему на клемной колодке подключа-
ется минус светодиода�
Содержание
- 4 СтражTM; AVIZOR; ОСНОВНЫЕ ВОЗМОЖНОСТИ СИСТЕМЫ
- 6 ОПИСАНИЕ ЦЕНТРАЛЬНОГО БЛОКА
- 8 ОПИСАНИЕ РАЗЪЕМА ДЛЯ ПРОВОДНЫХ; Обязательно отключите запрос
- 9 Кнопка настройка
- 14 Пример: необходимо установить задержку
- 18 ОПИСАНИЕ
- 22 Каждое нажатие клавиши на ПП; 3 Получение настроек проводных входов
- 26 6 Получить настройки проверки баланса
- 39 Управление при помощи SMS сообще-
- 44 НАСТРОЙКА СИСТЕМЫ C ПОМОЩЮ КОМПЬЮТЕРА; Пример приведен для операционной; УСТАНОВКА ДРАЙВЕРОВ
- 45 Кнопка прочитать настройки
- 46 сети
- 47 файла
- 48 Configurator; УСТАНОВКА КОМПОНЕНТОВ
- 50 Замена элемента питания
- 52 Не монтируйте датчик:
- 54 принудительная тревога нажатием; КОЛИЧЕСТВО «ПИКОВ»
- 56 Примечание
- 57 N H
- 58 ПОДКЛЮЧЕНИЕ ДОПОЛНИТЕЛЬНЫХ
- 60 Подключения релейной клавиатуры
- 62 Дата приобретения товара:; Г А Р А Н Т И Й Н Ы Й Т А Л О Н :
Характеристики
Остались вопросы?Не нашли свой ответ в руководстве или возникли другие проблемы? Задайте свой вопрос в форме ниже с подробным описанием вашей ситуации, чтобы другие люди и специалисты смогли дать на него ответ. Если вы знаете как решить проблему другого человека, пожалуйста, подскажите ему :)