Обогреватели WWQ GH-15 - инструкция пользователя по применению, эксплуатации и установке на русском языке. Мы надеемся, она поможет вам решить возникшие у вас вопросы при эксплуатации техники.
Если остались вопросы, задайте их в комментариях после инструкции.
"Загружаем инструкцию", означает, что нужно подождать пока файл загрузится и можно будет его читать онлайн. Некоторые инструкции очень большие и время их появления зависит от вашей скорости интернета.

25
1. Корпус
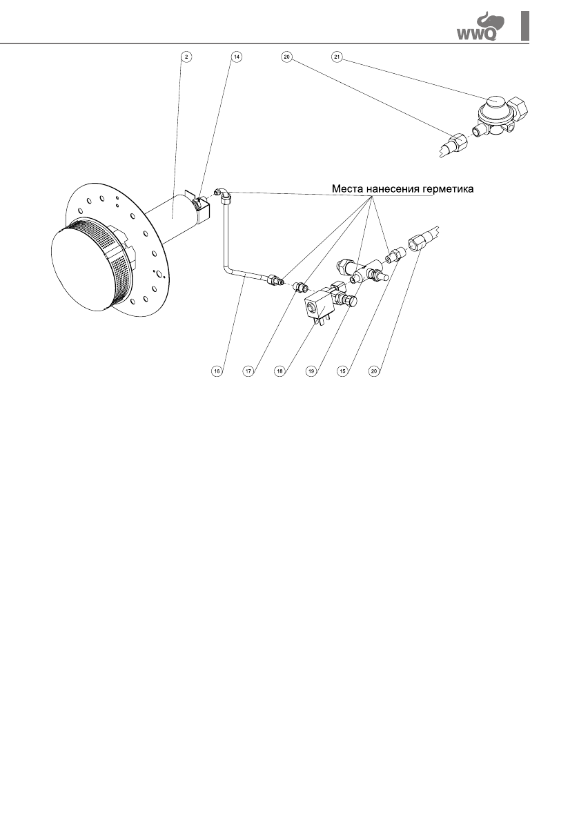
2. Горелка
3. Колодка заземления
4. Уголок
5. Коробка
6. Кронштейн
7. Дно
8. Обечайка
9. Основание
10. Стенка
11. Решетка передняя
12. Решетка задняя
13. Рукоятка
14. Форсунка
15. Фитинг
16. Трубка медная
17. Фитинг
18. Клапан электромагнитный
19. Клапан безопасности газовый
20. Шланг ПВХ
21. Редуктор
22. Клавишный выключатель
23. Пьезоподжиг
24. Термопара
25. Термостат биметаллический
26. Шнур ПВС-ВП
27. Вентилятор
28. Стяжка кабельная
29. Клемная колодка
30. Фиксатор кабеля
31. Втулка провода
32. Амортизатор
33. Винт 4х14
34. Винт 4х14
35. Гайка вытяжная с фланцем
36. Заклепка тяговая
37. Заклепка вытяжная
38. Шайба М4
39. Шайба гровер
40. Саморезы 4,8х10
41. Саморезы 3,9х10
42. Саморезы 2,9х16
Содержание
- 3 ПРАВИЛА БЕЗОПАСНОСТИ
- 5 УКАЗАНИЯ ПО ТЕХНИКЕ БЕЗОПАСНОСТИ; находящихся ниже уровня земли.; УСТРОЙСТВО ОБОРУДОВАНИЯ; новка на ровной поверхности.
- 8 * Обслуживание должно проводиться в сервисных центрах; ТЕХНИЧЕСКИЕ ХАРАКТЕРИСТИКИ
- 10 ПОИСК И УСТРАНЕНИЕ НЕИСПРАВНОСТЕЙ
- 11 ХРАНЕНИЕ И ТРАНСПОРТИРОВКА
- 12 ДАТА ИЗГОТОВЛЕНИЯ; требованиям нормативных документов:
- 13 Изготовлено в России.; СПИСОК СЕРВИСНЫХ ЦЕНТРОВ; Гарантийный срок изделия: 12 месяцев
- 14 P E; Öåïü çàæèãàíèÿ; ЭЛЕКТРИЧЕСКАЯ СХЕМА
- 15 PE; Схемы электрические принципиальные для газовых тепловен
- 26 ГАРАНТИЙНЫЙ ТАЛОН; Уважаемый покупатель!; ем заводскихдефектов.