Обогреватели Hyundai H-HV23-10 - инструкция пользователя по применению, эксплуатации и установке на русском языке. Мы надеемся, она поможет вам решить возникшие у вас вопросы при эксплуатации техники.
Если остались вопросы, задайте их в комментариях после инструкции.
"Загружаем инструкцию", означает, что нужно подождать пока файл загрузится и можно будет его читать онлайн. Некоторые инструкции очень большие и время их появления зависит от вашей скорости интернета.

IM2020
5
6.
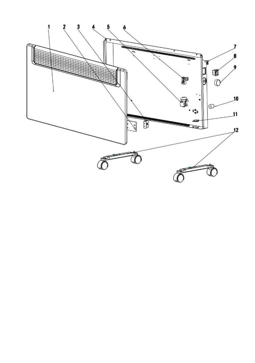
ОПИСАНИЕ ПРИБОРА
Рисунок 1*
*
Изображение приведено в качестве справочной информации и может отличаться от реального
прибора
1. Лицевая панель
2.
Нагревательный элемент
3.
Крепление нагревательного элемента
4.
Задняя панель
5.
Датчик защиты от падения
6.
Термостат
7. Крепление на стену
8. Выключатель питания
9. Ручка регулировки температуры
10.
Упоры с резиновыми прокладками
11.
Крепление для колёсиков
12.
Колёсики
Характеристики
Остались вопросы?Не нашли свой ответ в руководстве или возникли другие проблемы? Задайте свой вопрос в форме ниже с подробным описанием вашей ситуации, чтобы другие люди и специалисты смогли дать на него ответ. Если вы знаете как решить проблему другого человека, пожалуйста, подскажите ему :)