Обогреватели Ballu-Biemmedue SP 100 oil - инструкция пользователя по применению, эксплуатации и установке на русском языке. Мы надеемся, она поможет вам решить возникшие у вас вопросы при эксплуатации техники.
Если остались вопросы, задайте их в комментариях после инструкции.
"Загружаем инструкцию", означает, что нужно подождать пока файл загрузится и можно будет его читать онлайн. Некоторые инструкции очень большие и время их появления зависит от вашей скорости интернета.

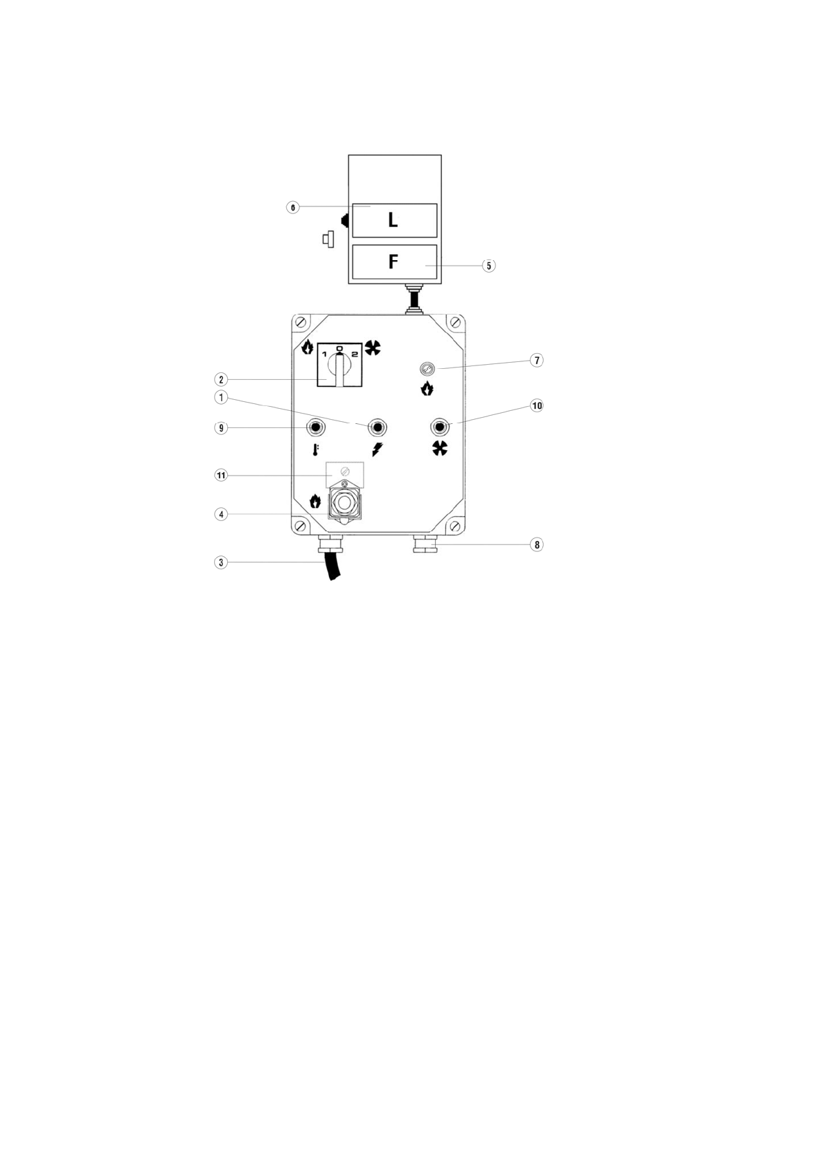
ШКАФ
УПРАВЛЕНИЯ
1
ИНДИКАТОР
НАПРЯЖЕНИЯ
ЩИТА
2
ПЕРЕКЛЮЧАТЕЛЬ
НАГРЕВА
-
ОСТАНОВА
-
ВЕНТИЛЯЦИИ
3
КАБЕЛЬ
ЭЛЕКТРОПИТАНИЯ
4
ГНЕЗДО
ДЛЯ
ГОРЕЛКИ
5
ТЕРМОВЫКЛЮЧАТЕЛЬ
ВЕНТИЛЯТОРА
, F
6
ПРЕДОХРАНИТЕЛЬНЫЙ
ТЕРМОВЫКЛЮЧАТЕЛЬ
С
РУЧНЫМ
СБРОСОМ
, L
7
ПАТРОН
ПРЕДОХРАНИТЕЛЯ
ДЛЯ
ГОРЕЛКИ
8
КАБЕЛЬНАЯ
ВТУЛКА
ДЛЯ
КАБЕЛЯ
РЕЛЕ
ТЕМПЕРАТУРЫ
ПОМЕЩЕНИЯ
9
ИНДИКАТОР
ПРЕДОХРАНИТЕЛЬНЫХ
ТЕРМОВЫКЛЮЧАТЕЛЕЙ
, L2
10
ИНДИКАТОР
БЛОКИРОВКИ
ВЕНТИЛЯТОРА
11
СБРОС
ВЕНТИЛЯТОРА













