Настольные плиты Gefest ПГЭ 910-01 - инструкция пользователя по применению, эксплуатации и установке на русском языке. Мы надеемся, она поможет вам решить возникшие у вас вопросы при эксплуатации техники.
Если остались вопросы, задайте их в комментариях после инструкции.
"Загружаем инструкцию", означает, что нужно подождать пока файл загрузится и можно будет его читать онлайн. Некоторые инструкции очень большие и время их появления зависит от вашей скорости интернета.

10
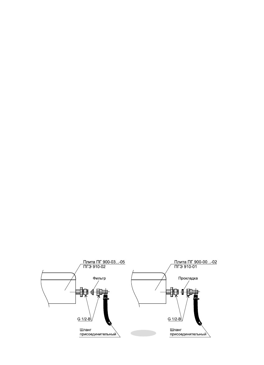
Рис. 3
3) БГ.К00221
05,01,2012
ВНИМАНИЕ!
ПРИ ПОДСОЕДИНЕНИИ ПЛИТЫ К ГАЗОВОЙ СЕТИ ГИБКИМ
ТОКОПРОВОДЯЩИМ ШЛАНГОМ (СТАЛЬНЫМ ИЛИ В СТАЛЬНОЙ ОПЛЕТКЕ
И Т. П . ) СЛ Е Д У Е Т П Р И М Е Н Я Т Ь С П Е Ц И А Л Ь Н У Ю И ЗОЛ И РУ Ю Щ У Ю
ВСТАВК У (ДЛЯ ПЛИТ ПГЭ 910). ВСТАВКА УСТАНАВЛИВАЕТСЯ НА
ВНУТРИКВАРТИРНОМ ГАЗОПРОВОДЕ ПОСЛЕ КРАНА.
П Р И П О Д С О Е Д И Н Е Н И И П Л И Т Ы К ГА З О В О Й С Е Т И Г И Б К И М
Н Е ТО КО П РО ВОД Я Щ И М Ш Л А Н ГО М ( Р ЕЗ И Н О В Ы М ) П Р И М Е Н Е Н И Е
СПЕЦИАЛЬНОЙ ИЗОЛИРУЮЩЕЙ ВСТАВКИ НЕ ТРЕБУЕТСЯ.
Проверить герметичность соединений в соответствии с технологическими
инструкциями газоснабжающей организации.
ЗАПРЕЩАЕТСЯ
ПРОВЕРЯТЬ ГЕРМЕТИЧНОСТЬ СОЕДИНЕНИЙ И ИСКАТЬ
УТЕЧКИ ГАЗА С ПОМОЩЬЮ СПИЧЕК И ДРУГОГО ОТКРЫТОГО ОГНЯ!
Специальная изолирующая вставка, регулятор давления газа, баллон, гибкий
присоединительный шланг для подсоединения плиты к газовой сети в комплект
поставки не входят и приобретаются через торговую сеть.
Перед подключением проверить, соответствуют ли условия подключения (вид
газа и давление газа) настройке прибора.
Параметры настройки прибора
приведены в маркировке.
Если давление природного газа в подводящей сети превышает максимально
допустимое значение, необходимо установить редуктор, понижающий
давление до положенной величины.
Характеристики гибкого присоединительного шланга должны соответствовать
действующему в Вашем регионе законодательству.
При подсоединении должны быть соблюдены следующие требования:
– шланг должен быть доступен для осмотра по всей длине;
– шланг не должен касаться задней стенки плиты;
– шланг не должен пережиматься, образовывать петли, иметь сильные изгибы
и испытывать растягивающие усилия;
– шланг не должен касаться подвижных объектов и предметов с острыми
кромками;
– шланг должен иметь длину, достаточную для подключения, обслуживания и
соответствовать действующим в Вашем регионе ТНПА;
– если шланг имеет повреждения, он должен заменяться целиком, ремонт
недопустим.
После подключения плиты проверьте работу горелок. Пламя горелок должно
быть ровным, без проскоков и отрывов.
Содержание
- 4 ОБЩИЕ УКАЗАНИЯ; ТРЕБОВАНИЯ БЕЗОПАСНОСТИ
- 6 ТЕХНИЧЕСКИЕ ХАРАКТЕРИСТИКИ
- 7 КОМПЛЕКТНОСТЬ
- 8 УСТРОЙСТВО И ПОРЯДОК РАБОТЫ; Устройство плиты мод. 900
- 11 Выравнивание; УСТАНОВКА; ПОДСОЕДИНЕНИЕ К ГАЗОВОЙ СЕТИ
- 12 ЗАПРЕЩАЕТСЯ
- 13 ВНИМАНИЕ; РЕКОМЕНДАЦИИ РЕМОНТНЫМ СЛУЖБАМ; Регулировка для различных давлений газа
- 14 ОБСЛУЖИВАНИЕ ПЛИТЫ; Уход за плитой; ОБЯЗАТЕЛЬНО; ПРАКТИЧЕСКИЕ СОВЕТЫ ПО
- 17 4 ГАРАНТИИ ИЗГОТОВИТЕЛЯ; Унитарное предприятие
Характеристики
Остались вопросы?Не нашли свой ответ в руководстве или возникли другие проблемы? Задайте свой вопрос в форме ниже с подробным описанием вашей ситуации, чтобы другие люди и специалисты смогли дать на него ответ. Если вы знаете как решить проблему другого человека, пожалуйста, подскажите ему :)