Музыкальные центры Samsung Sound Tower MX-T50 - инструкция пользователя по применению, эксплуатации и установке на русском языке. Мы надеемся, она поможет вам решить возникшие у вас вопросы при эксплуатации техники.
Если остались вопросы, задайте их в комментариях после инструкции.
"Загружаем инструкцию", означает, что нужно подождать пока файл загрузится и можно будет его читать онлайн. Некоторые инструкции очень большие и время их появления зависит от вашей скорости интернета.

KAZ - 3
02 ӨНІМГЕ ШОЛУ
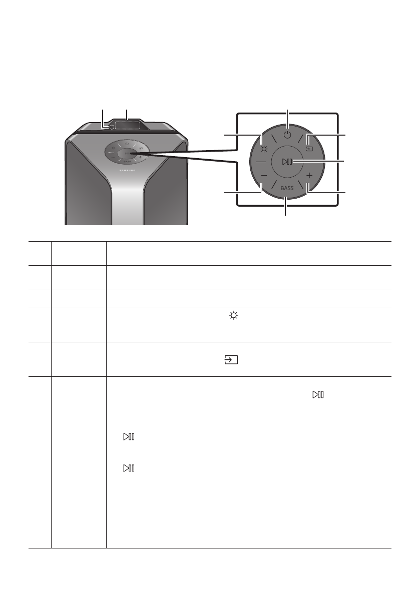
Party Audio жүйесінің үстіңгі панелі
BASS
Қашықтағы
датчик
Party Audio жүйесімен жұмыс істеу кезінде қашықтан басқару пультінің алдыңғы
жағын қашықтағы датчикке қаратыңыз.
Дисплей
терезесі
Операциялық хабарламалар немесе Party Audio жүйесінің ағымдағы күйі
кескінделеді.
Қуат
Party Audio жүйесін қосады және өшіреді.
Жарық
Жарықтандыру режимін қосу үшін
(Жарық)
түймесін басыңыз.
Қолжетімді жарық режимдерін ауыстырып қосу үшін түймені қайта-қайта
басыңыз:
AMBIENT
,
PARTY
,
DANCE
,
THUNDERBOLT
,
STAR
немесе
OFF
.
Көз
Party Audio жүйесіне қосылған көзді таңдау үшін осы түймені басыңыз.
«
BT PAIRING
» режиміне кіру үшін
( Көз)
түймесін басып, 5 секундтан артық
ұстап тұрыңыз.
Ойнату/
Тоқтату
•
Ойнату/Тоқтату
Музыкалық файлдың ойнатылуын уақытша тоқтату үшін
түймесін
басыңыз. Түймені қайтадан басқан кезде музыкалық файл ойнатылады.
•
Демо ойнату
Жүйе қуат көзіне қосулы болған кезде Демо ойнату функциясын қосу үшін
түймесін басып, 5 секундтан артық ұстап тұрыңыз. Дисплейде «
DEMO
»
жазуы шығады да, 60 секунд бойы демо музыка ойнатылады. Демо ойнату
функциясын өшіру үшін Демо ойнату функциясы қосулы болған кезде
түймесін басып, 5 секундтан артық ұстап тұрыңыз.
–
Демо ойнату функциясы қосулы болған кезде қандай да бір пәрмен беретін
болсаңыз, таймер жаңартылады.
–
Демо ойнату функциясы қосулы болған кезде қашықтан басқару пультіндегі
және артқы панельдегі түймелердің барлығы өшіріледі. Егер қашықтан
басқару пультін қолдануды қаласаңыз, демо ойнату функциясын өшіріңіз.
–
Демо ойнату функциясы сіз көзді таңдаған немесе жүйені қуаттан
ажыратқан кезде өшіріледі.
Характеристики
Остались вопросы?Не нашли свой ответ в руководстве или возникли другие проблемы? Задайте свой вопрос в форме ниже с подробным описанием вашей ситуации, чтобы другие люди и специалисты смогли дать на него ответ. Если вы знаете как решить проблему другого человека, пожалуйста, подскажите ему :)