Музыкальные центры Samsung Sound Tower MX-T50 - инструкция пользователя по применению, эксплуатации и установке на русском языке. Мы надеемся, она поможет вам решить возникшие у вас вопросы при эксплуатации техники.
Если остались вопросы, задайте их в комментариях после инструкции.
"Загружаем инструкцию", означает, что нужно подождать пока файл загрузится и можно будет его читать онлайн. Некоторые инструкции очень большие и время их появления зависит от вашей скорости интернета.

UKR - 3
02 ОГЛЯД ВИРОБУ
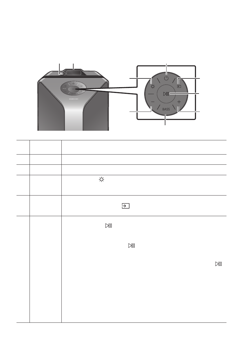
Верхня панель аудіосистеми Party Audio
BASS
Дистанційний
датчик
Під час роботи системи Party Audio, будь ласка, направляйте передню частину
пульта дистанційного керування на дистанційний датчик.
Дисплей
Відображає операційні повідомлення або поточний стан аудіосистеми Party Audio.
Електроживлення
Вмикає та вимикає аудіосистему Party Audio.
Світло
Натисніть кнопку
(Світло)
, щоб увімкнути режим освітлення. Кілька разів
натисніть кнопку, щоб переглянути доступні режими освітлення:
AMBIENT
,
PARTY
,
DANCE
,
THUNDERBOLT
,
STAR
або
OFF
.
Джерело
Натисніть для вибору джерела, підключеного до Party Audio.
Натисніть і утримуйте кнопку
(Джерело)
протягом більше ніж 5 секунд, щоб
увійти в режим “
BT PAIRING
”.
Відтворення/
пауза
•
Відтворення/пауза
Натисніть кнопку
, щоб тимчасово призупинити відтворення музичного
файлу. При повторному натисканні на кнопку відтворення поновлюється.
•
Демонстраційне відтворення
Натисніть і утримайте кнопку
протягом більше ніж 5 секунд, щоб розпочати
Демонстраційне відтворення під час увімкнення системи. На дисплеї з’явиться
“
DEMO
”, та демонстраційна музика почне відтворюватись протягом 60 секунд.
Щоб скасувати Демонстраційне відтворення, натисніть і утримуйте кнопку
протягом більше ніж 5 секунд під час Демонстраційного відтворення.
– Якщо ви вводите будь-які команди під час Демонстраційного відтворення,
60-секундний таймер оновлюється.
– Під час Демонстраційного відтворення усі кнопки на пульті дистанційного
керування та на задній панелі заблоковані. Якщо ви хочете
використовувати пульт дистанційного керування, скасуйте
демонстраційне відтворення.
– Демонстраційне відтворення скасовується при зміні джерела або
відключенні живлення системи.
Характеристики
Остались вопросы?Не нашли свой ответ в руководстве или возникли другие проблемы? Задайте свой вопрос в форме ниже с подробным описанием вашей ситуации, чтобы другие люди и специалисты смогли дать на него ответ. Если вы знаете как решить проблему другого человека, пожалуйста, подскажите ему :)