Мойки высокого давления IPC Portotecnica G. Power-C I 1813 P T 94198 IDAF - инструкция пользователя по применению, эксплуатации и установке на русском языке. Мы надеемся, она поможет вам решить возникшие у вас вопросы при эксплуатации техники.
Если остались вопросы, задайте их в комментариях после инструкции.
"Загружаем инструкцию", означает, что нужно подождать пока файл загрузится и можно будет его читать онлайн. Некоторые инструкции очень большие и время их появления зависит от вашей скорости интернета.

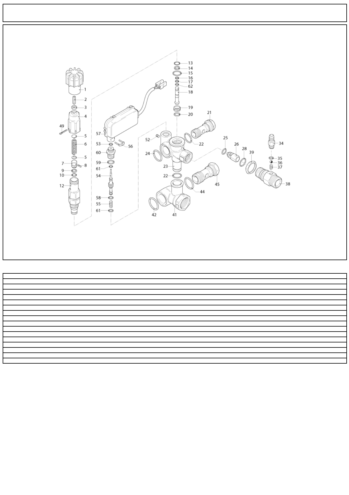
Tаблица: КЛАПАН
Порядковый Hомер: 1
Дата: 05/02/2015
Bыбранная Запчасть: IDAF94198
Cтраница: 6
C-ка K N. з/ч.
N. з/ч. Клиента
Oписание
Кол-во
Действителен:
C По
Цена
0039
VTDD40003
КОНТРГАЙКА M20x1
1,00
--
0041
PVVR40131
ШТУЦЕР M.MATIC 4/B
1,00
--
0042
GUGO76542
ПРОКЛАДКА D. 23.47 X 2.62 NBR 70SH
1,00
--
0044
GUGO01058
ПРОКЛАДКА D. 17.17 X 1.78 NBR 70SH
1,00
--
0045
RCDS40070
ВИНТ G 1/2 M.MATIC 4/B
1,00
--
0049
VTVR40025
ШПИЛЬКА D. 2,6X15
1,00
--
0052
VTVT40019
ВИНТ M 3X 5 EI-ST UNI 5923
1,00
--
0053
GUGO19207
ПРОКЛАДКА D. 1.78 X 1.78 NBR 70SH
1,00
--
0054
PVVR40136
УПРАВЛЯЮЩИЙ ПОРШЕНЬ AR TSS M.MTC
1,00
--
0055
MLML40017
ПРУЖИНА D. 8.7 X15.9 D.1.2
1,00
--
0056
LAFN40212
ШТИФТ "U" AR TSS
1,00
--
0057
MEPF40018
ПЕРЕКЛЮЧАТЕЛЬ ДАВЛЕНИЯ AR TSS 220V N.A. L.430
1,00
--
0058
GUGO12489
ПРОКЛАДКА D. 6.07 X 1.78 NBR 70SH
1,00
--
0059
GUGO03496
ПРОКЛАДКА D. 9.25 X 1.78 NBR 70SH
1,00
--
0060
PVVR40137
НАПРАВЛЯЮЩАЯ ПОРШНЯ AR TSS M.MATIC
1,00
--
0061
GUGO40027
ПРОКЛАДКА D. 2.90 X 1.78 NBR 90SH
2,00
--
0062
S
GUGO13640
ПРОКЛАДКА D. 3.69 X 1.78 NBR 90SH
1,00
--













