Мотоциклы HONDA XL1000VA Varadero - инструкция пользователя по применению, эксплуатации и установке на русском языке. Мы надеемся, она поможет вам решить возникшие у вас вопросы при эксплуатации техники.
Если остались вопросы, задайте их в комментариях после инструкции.
"Загружаем инструкцию", означает, что нужно подождать пока файл загрузится и можно будет его читать онлайн. Некоторые инструкции очень большие и время их появления зависит от вашей скорости интернета.

54
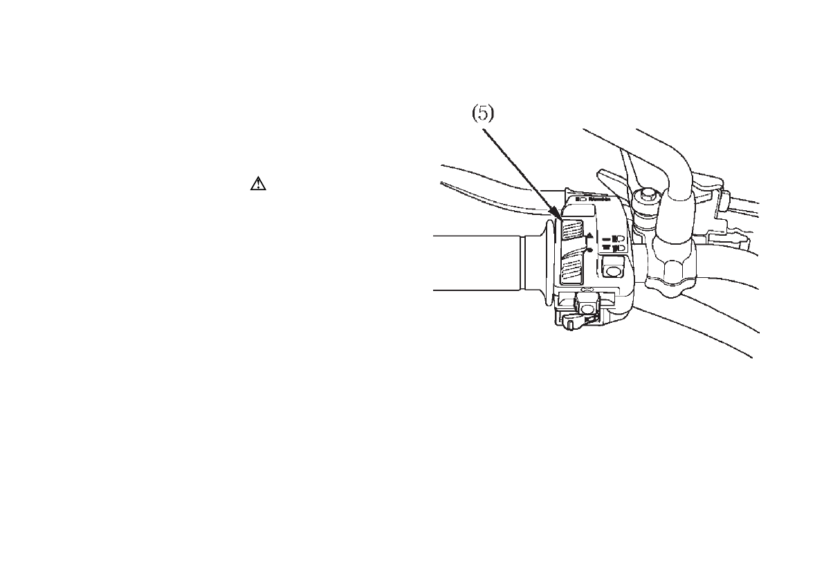
Выключатель аварийной сигнализации (5)
Система аварийной сигнализации должна
использоваться только если мотоцикл необU
ходимо остановить изUза неисправности, в случае
аварии или из соображений безопасности. Для её
включения поверните ключ зажигания в
положение ON (ВКЛ) или ACC, а затем нажмите
выключатель с символом
Передние и задние
указатели поворотов начнут мигать одноU
временно.
Обязательно выключите аварийную сигналиU
зацию, если она более не требуется, иначе
сигналы поворота не будут подаваться должным
образом, что может дезориентировать других
водителей.
(5) Выключатель аварийной сигнализации
Содержание
- 4 ДОБРО ПОЖАЛОВАТЬ; чужой собственности и окружающей среде.; ВНИМАНИЕ
- 6 НЕСКОЛЬКО СЛОВ О БЕЗОПАСНОСТИ; Таблички безопасности
- 7 Заголовки, относящиеся к безопасности; — такие, как важные предостережения или требования; Раздел «Безопасность»; — относящийся к безопасности, связанной с мотоциклом.; Инструкции; ОПАСНОСТЬ; ПРЕДОСТЕРЕЖЕНИЕ
- 8 ЭКСПЛУАТАЦИЯ МОТОЦИКЛА; рекомендации
- 9 5 ПРОЧЕЕ ОБОРУДОВАНИЕ; противоугонного устройства; 9 ЭКСПЛУАТАЦИЯ
- 10 технического обслуживания; 33 ОЧИСТКА МОТОЦИКЛА
- 12 ЗАЩИТНАЯ ОДЕЖДА
- 13 Шлемы и защитные очки
- 14 Загрузка
- 16 Дополнительное оборудование
- 17 Изменения конструкции
- 18 ОРГАНЫ УПРАВЛЕНИЯ И ИХ РАСПОЛОЖЕНИЕ
- 21 ПРИБОРЫ И ИНДИКАТОРЫ; в двигателе
- 22 ПРИМЕЧАНИЕ
- 23 Многофункциональный дисплей
- 24 Загорается при включении нейтрали.
- 25 Тахометр
- 27 Спидометр
- 28 Исходный режим индикации
- 29 расхода топлива
- 30 охлаждающей жидкости
- 33 Указатели A и B пробега за поездку.
- 35 Цифровые часы; Нажимайте кнопку до появления на дисплее
- 36 ОСНОВНЫЕ АГРЕГАТЫ; Затем необходимо повернуть регулятор на 4
- 41 СЦЕПЛЕНИЕ
- 42 Запустите двигатель, нажмите рычаг сцепления
- 44 Проверка; расширительного бачка
- 46 Топливный бак
- 51 Необходимо обратить внимание на следующее:
- 52 Износ протектора
- 53 Ремонт шины
- 54 Замена шины
- 55 Важная информация по безопасности
- 56 МЕХАНИЗМЫ И ОРГАНЫ; ЗАМОК ЗАЖИГАНИЯ
- 57 КЛЮЧИ ЗАЖИГАНИЯ; номером ключа
- 62 Кнопка стартера
- 63 ОРГАНЫ УПРАВЛЕНИЯ ЛЕВОЙ РУКОЯТКИ
- 64 Передние и задние
- 65 ПРОЧЕЕ ОБОРУДОВАНИЕ
- 66 СЕДЛО
- 67 ДЕРЖАТЕЛЬ ДЛЯ ШЛЕМА
- 70 ПАКЕТ ДЛЯ ДОКУМЕНТОВ
- 72 ВНУТРЕННИЙ ОБТЕКАТЕЛЬ
- 73 НИЖНИЙ ОБТЕКАТЕЛЬ
- 75 ВЕРХНИЙ ОБТЕКАТЕЛЬ
- 77 Немного приподнимите заднюю часть
- 79 ЭКСПЛУАТАЦИЯ; ОСМОТР ПЕРЕД ПОЕЗДКОЙ
- 81 ПУСК ДВИГАТЕЛЯ
- 84 Заливание цилиндров топливом; положении «; Отключение зажигания
- 85 ОБКАТКА МОТОЦИКЛА
- 86 ВОЖДЕНИЕ; Пока двигатель работает на холостом ходу,
- 88 ТОРМОЖЕНИЕ; Важная информация по безопасности:
- 90 СТОЯНКА МОТОЦИКЛА; После остановки включите нейтраль в коробке
- 95 РЕГЛАМЕНТ ТЕХНИЧЕСКОГО ОБСЛУЖИВАНИЯ; через указанные промежутки времени.
- 98 КОМПЛЕКТ ИНСТРУМЕНТА; Опора топливного бака
- 99 ИДЕНТИФИКАЦИОННЫЕ НОМЕРА; НОМЕР РАМЫ
- 100 ЭТИКЕТКА С ОБОЗНАЧЕНИЕМ КРАСКИ
- 102 Моторное масло и масляный фильтр
- 105 СВЕЧИ ЗАЖИГАНИЯ
- 106 Передний цилиндр
- 108 Измерьте свободный ход рукоятки управления
- 109 РЕГУЛИРОВАНИЕ ЧАСТОТЫ ХОЛОСТОГО ХОДА; Прогрейте двигатель, включите нейтраль и
- 111 ПРИВОДНАЯ ЦЕПЬ; боковой упор и включите нейтраль.
- 113 нейтраль и выключите зажигание.
- 115 Приводная цепь для замены:
- 117 НАПРАВЛЯЮЩАЯ ПРИВОДНОЙ ЦЕПИ
- 118 ПРОВЕРКА ПЕРЕДНЕЙ И ЗАДНЕЙ ПОДВЕСКИ; Проверьте состояние узла передней вилки,
- 119 БОКОВОЙ УПОР; Проверка работоспособности:
- 120 Приподнимите переднее колесо над опорной
- 126 Снятие заднего колеса; Приподнимите заднее колесо над опорной
- 127 Рекомендации по установке:
- 129 ПРОВЕРКА ТОРМОЗНОЙ СИСТЕМЫ; выключите двигатель и включите нейтраль.
- 130 АККУМУЛЯТОРНАЯ БАТАРЕЯ
- 131 Снятие аккумуляторной батареи
- 132 ЗАМЕНА ПРЕДОХРАНИТЕЛЕЙ; Перегоревший предохранитель
- 133 Закройте крышку блока предохранителей
- 136 ЗАМЕНА ЛАМП
- 137 Лампа фары; колпачок
- 138 Лампа стояночного света
- 139 Лампа стопсигнала и заднего фонаря; против часовой стрелки и потяните на себя.
- 140 Лампы передних указателей поворотов; против часовой стрелки.
- 141 Лампы задних указателей поворотов
- 143 Тщательно смойте грязь с мотоцикла слабой
- 144 Уход за лакокрасочным покрытием
- 145 Очистка мотоцикла от дорожной соли
- 147 Замените масло в двигателе и масляный
- 150 ЗАПРАВОЧНЫЕ ЁМКОСТИ; ТЕХНИЧЕСКИЕ ХАРАКТЕРИСТИКИ; РАЗМЕРЫ
- 151 ДВИГАТЕЛЬ
- 152 ШАССИ И ПОДВЕСКА; Задняя шина; ТРАНСМИССИЯ
- 154 КАТАЛИТИЧЕСКИЕ НЕЙТРАЛИЗАТОРЫ; Правильно регулируйте двигатель.
