Мотоциклы HONDA XL1000VA Varadero - инструкция пользователя по применению, эксплуатации и установке на русском языке. Мы надеемся, она поможет вам решить возникшие у вас вопросы при эксплуатации техники.
Если остались вопросы, задайте их в комментариях после инструкции.
"Загружаем инструкцию", означает, что нужно подождать пока файл загрузится и можно будет его читать онлайн. Некоторые инструкции очень большие и время их появления зависит от вашей скорости интернета.

132
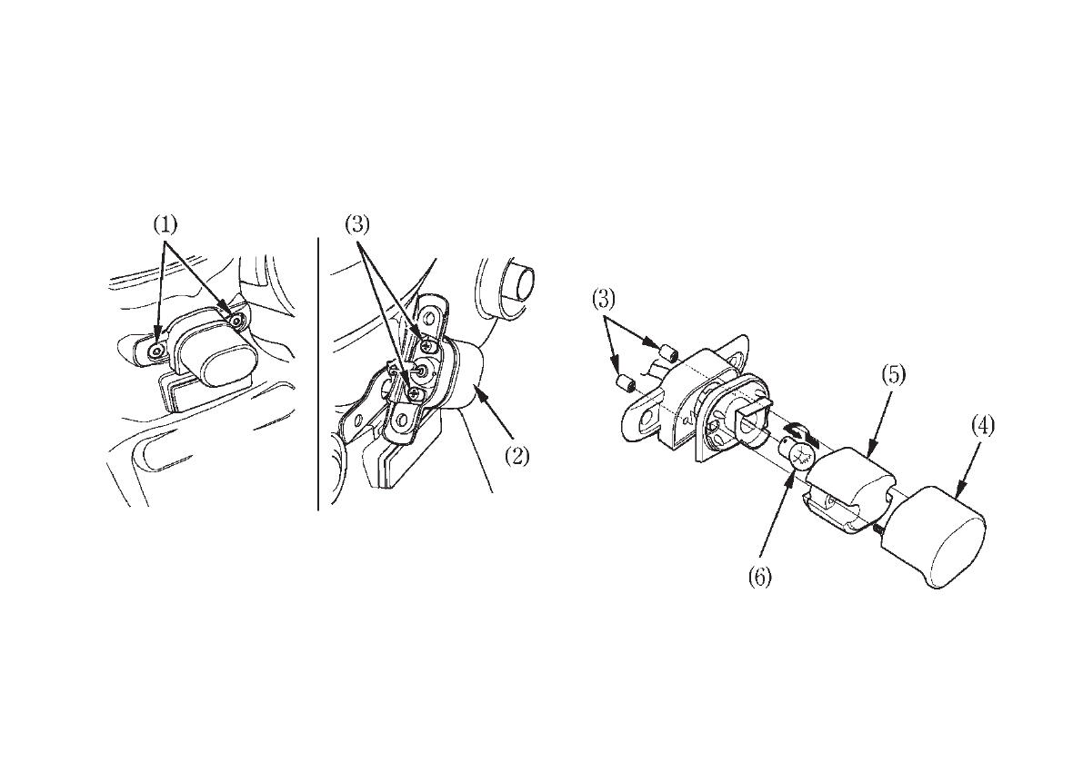
Лампа фонаря освещения
регистрационного знака
1. Открутите два винта (1) и снимите фонарь
освещения регистрационного знака в сборе (2).
(1) Винты
(2) Фонарь освещения
регистрационного знака в сборе.
(3) Гайки
(3) Гайки
(4) Экран фонаря регистрационного знака
(5) Рассеиватель фонаря регистрационного знака
(6) Лампа
2. Снимите экран (4) фонаря и рассеиватель (5)
фонаря, отвернув две гайки (3).
3. Слегка надавите на лампу (6) и поверните её
против часовой стрелки.
4. Установите новую лампу, выполняя операции в
обратном порядке.
Содержание
- 4 ДОБРО ПОЖАЛОВАТЬ; чужой собственности и окружающей среде.; ВНИМАНИЕ
- 6 НЕСКОЛЬКО СЛОВ О БЕЗОПАСНОСТИ; Таблички безопасности
- 7 Заголовки, относящиеся к безопасности; — такие, как важные предостережения или требования; Раздел «Безопасность»; — относящийся к безопасности, связанной с мотоциклом.; Инструкции; ОПАСНОСТЬ; ПРЕДОСТЕРЕЖЕНИЕ
- 8 ЭКСПЛУАТАЦИЯ МОТОЦИКЛА; рекомендации
- 9 5 ПРОЧЕЕ ОБОРУДОВАНИЕ; противоугонного устройства; 9 ЭКСПЛУАТАЦИЯ
- 10 технического обслуживания; 33 ОЧИСТКА МОТОЦИКЛА
- 12 ЗАЩИТНАЯ ОДЕЖДА
- 13 Шлемы и защитные очки
- 14 Загрузка
- 16 Дополнительное оборудование
- 17 Изменения конструкции
- 18 ОРГАНЫ УПРАВЛЕНИЯ И ИХ РАСПОЛОЖЕНИЕ
- 21 ПРИБОРЫ И ИНДИКАТОРЫ; в двигателе
- 22 ПРИМЕЧАНИЕ
- 23 Многофункциональный дисплей
- 24 Загорается при включении нейтрали.
- 25 Тахометр
- 27 Спидометр
- 28 Исходный режим индикации
- 29 расхода топлива
- 30 охлаждающей жидкости
- 33 Указатели A и B пробега за поездку.
- 35 Цифровые часы; Нажимайте кнопку до появления на дисплее
- 36 ОСНОВНЫЕ АГРЕГАТЫ; Затем необходимо повернуть регулятор на 4
- 41 СЦЕПЛЕНИЕ
- 42 Запустите двигатель, нажмите рычаг сцепления
- 44 Проверка; расширительного бачка
- 46 Топливный бак
- 51 Необходимо обратить внимание на следующее:
- 52 Износ протектора
- 53 Ремонт шины
- 54 Замена шины
- 55 Важная информация по безопасности
- 56 МЕХАНИЗМЫ И ОРГАНЫ; ЗАМОК ЗАЖИГАНИЯ
- 57 КЛЮЧИ ЗАЖИГАНИЯ; номером ключа
- 62 Кнопка стартера
- 63 ОРГАНЫ УПРАВЛЕНИЯ ЛЕВОЙ РУКОЯТКИ
- 64 Передние и задние
- 65 ПРОЧЕЕ ОБОРУДОВАНИЕ
- 66 СЕДЛО
- 67 ДЕРЖАТЕЛЬ ДЛЯ ШЛЕМА
- 70 ПАКЕТ ДЛЯ ДОКУМЕНТОВ
- 72 ВНУТРЕННИЙ ОБТЕКАТЕЛЬ
- 73 НИЖНИЙ ОБТЕКАТЕЛЬ
- 75 ВЕРХНИЙ ОБТЕКАТЕЛЬ
- 77 Немного приподнимите заднюю часть
- 79 ЭКСПЛУАТАЦИЯ; ОСМОТР ПЕРЕД ПОЕЗДКОЙ
- 81 ПУСК ДВИГАТЕЛЯ
- 84 Заливание цилиндров топливом; положении «; Отключение зажигания
- 85 ОБКАТКА МОТОЦИКЛА
- 86 ВОЖДЕНИЕ; Пока двигатель работает на холостом ходу,
- 88 ТОРМОЖЕНИЕ; Важная информация по безопасности:
- 90 СТОЯНКА МОТОЦИКЛА; После остановки включите нейтраль в коробке
- 95 РЕГЛАМЕНТ ТЕХНИЧЕСКОГО ОБСЛУЖИВАНИЯ; через указанные промежутки времени.
- 98 КОМПЛЕКТ ИНСТРУМЕНТА; Опора топливного бака
- 99 ИДЕНТИФИКАЦИОННЫЕ НОМЕРА; НОМЕР РАМЫ
- 100 ЭТИКЕТКА С ОБОЗНАЧЕНИЕМ КРАСКИ
- 102 Моторное масло и масляный фильтр
- 105 СВЕЧИ ЗАЖИГАНИЯ
- 106 Передний цилиндр
- 108 Измерьте свободный ход рукоятки управления
- 109 РЕГУЛИРОВАНИЕ ЧАСТОТЫ ХОЛОСТОГО ХОДА; Прогрейте двигатель, включите нейтраль и
- 111 ПРИВОДНАЯ ЦЕПЬ; боковой упор и включите нейтраль.
- 113 нейтраль и выключите зажигание.
- 115 Приводная цепь для замены:
- 117 НАПРАВЛЯЮЩАЯ ПРИВОДНОЙ ЦЕПИ
- 118 ПРОВЕРКА ПЕРЕДНЕЙ И ЗАДНЕЙ ПОДВЕСКИ; Проверьте состояние узла передней вилки,
- 119 БОКОВОЙ УПОР; Проверка работоспособности:
- 120 Приподнимите переднее колесо над опорной
- 126 Снятие заднего колеса; Приподнимите заднее колесо над опорной
- 127 Рекомендации по установке:
- 129 ПРОВЕРКА ТОРМОЗНОЙ СИСТЕМЫ; выключите двигатель и включите нейтраль.
- 130 АККУМУЛЯТОРНАЯ БАТАРЕЯ
- 131 Снятие аккумуляторной батареи
- 132 ЗАМЕНА ПРЕДОХРАНИТЕЛЕЙ; Перегоревший предохранитель
- 133 Закройте крышку блока предохранителей
- 136 ЗАМЕНА ЛАМП
- 137 Лампа фары; колпачок
- 138 Лампа стояночного света
- 139 Лампа стопсигнала и заднего фонаря; против часовой стрелки и потяните на себя.
- 140 Лампы передних указателей поворотов; против часовой стрелки.
- 141 Лампы задних указателей поворотов
- 143 Тщательно смойте грязь с мотоцикла слабой
- 144 Уход за лакокрасочным покрытием
- 145 Очистка мотоцикла от дорожной соли
- 147 Замените масло в двигателе и масляный
- 150 ЗАПРАВОЧНЫЕ ЁМКОСТИ; ТЕХНИЧЕСКИЕ ХАРАКТЕРИСТИКИ; РАЗМЕРЫ
- 151 ДВИГАТЕЛЬ
- 152 ШАССИ И ПОДВЕСКА; Задняя шина; ТРАНСМИССИЯ
- 154 КАТАЛИТИЧЕСКИЕ НЕЙТРАЛИЗАТОРЫ; Правильно регулируйте двигатель.
