Мотоциклы HONDA VTR1000 - инструкция пользователя по применению, эксплуатации и установке на русском языке. Мы надеемся, она поможет вам решить возникшие у вас вопросы при эксплуатации техники.
Если остались вопросы, задайте их в комментариях после инструкции.
"Загружаем инструкцию", означает, что нужно подождать пока файл загрузится и можно будет его читать онлайн. Некоторые инструкции очень большие и время их появления зависит от вашей скорости интернета.

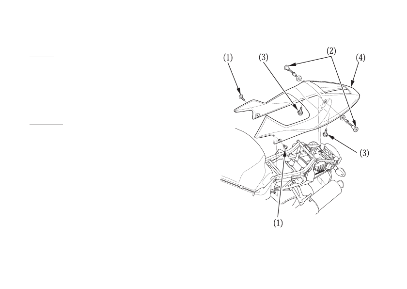
ЗАДНИЙ КОЖУХ
Снятие:
1. Снимите переднее седло (стр. 49).
2. Снимите заднее седло (стр. 49).
3. Снимите болты А (1), и болты В (2).
4. Снимите клипсы (3).
5. Снимите задний кожух (4).
Установка:
•
Установка выполняется в порядке, обратном
процедуре снятия.
53
(1) Болты А
(2) Болты В
(3) Клипсы
(4) Задний кожух
Содержание
- 4 ДОБРО ПОЖАЛОВАТЬ; собственности и окружающей среде.
- 6 НЕСКОЛЬКО СЛОВ О БЕЗОПАСНОСТИ; • Таблички безопасности; перед которой помещен символ внимания; Эти сигнальные слова означают следующее:
- 7 • Заголовки, относящиеся к безопасности; относящийся к безопасности, связанной с мотоциклом.; • Инструкции; ОПАСНОСТЬ
- 8 ЭКСПЛУАТАЦИЯ МОТОЦИКЛА
- 12 ПРЕДОСТЕРЕЖЕНИЕ
- 13 Шлемы и защитные очки
- 14 Загрузка
- 17 Изменения конструкции
- 21 ПРИБОРЫ И ИНДИКАТОРЫ; в двигателе
- 22 Спидометр
- 23 Тахометр
- 24 топлива
- 25 Исходный режим индикации
- 26 Многофункциональный дисплей
- 27 Указатель температуры охлаждающей жидкости; Индикация температуры; (1) Указатель температуры охлаждающей жидкости
- 30 (1) Регулятор предварительного сжатия пружины; ОСНОВНЫЕ АГРЕГАТЫ
- 33 Задняя подвеска; Это соответствует установке максимального; щего усилия
- 36 ТОРМОЗА; ПЕРЕДНЯЯ СТОРОНА
- 37 головка
- 38 Заднее колесо
- 39 СЦЕПЛЕНИЕ
- 41 ОХЛАЖДАЮЩАЯ ЖИДКОСТЬ
- 42 Проверка; бачок
- 43 ТОПЛИВО; Топливный бак; мкость топливного бака, включая резервный объём,
- 46 МОТОРНОЕ МАСЛО; Проверка уровня моторного масла; Остановите двигатель и удерживайте мотоцикл; уровня UPPER
- 47 БЕСКАМЕРНЫЕ ШИНЫ; Давление воздуха в шинах
- 48 Необходимо обратить внимание на следующее:
- 49 Износ протектора; Минимальная глубина протектора
- 50 Ремонт шины
- 51 Замена шины
- 53 МЕХАНИЗМЫ И ОРГАНЫ УПРАВЛЕНИЯ; ЗАМОК ЗАЖИГАНИЯ; Положения ключа
- 55 ОРГАНЫ УПРАВЛЕНИЯ ЛЕВОЙ РУКОЯТКИ; Переключатель (2) ближнего и дальнего света фары; Нажмите на сторону
- 57 БЛОКИРАТОР РУЛЯ
- 58 ДЕРЖАТЕЛЬ ШЛЕМА; шлема
- 59 СЕДЛО; Переднее седло
- 60 Панель кожуха седла
- 61 ПАКЕТ ДЛЯ ДОКУМЕНТОВ
- 63 ЗАДНИЙ КОЖУХ
- 64 НИЖНИЙ КОЖУХ; кожух
- 66 ключ
- 68 ОСМОТР ПЕРЕД ПОЕЗДКОЙ; Уровень масла в двигателе ? добавьте моторного
- 70 ПУСК ДВИГАТЕЛЯ
- 71 Нормальная температура окружающего воздуха; заслонки
- 73 Заливание цилиндров топливом; Вдвиньте кнопку воздушной заслонки до конца; Отключение зажигания
- 74 ОБКАТКА МОТОЦИКЛА
- 75 ЕЗДА НА МОТОЦИКЛЕ
- 76 ТОРМОЖЕНИЕ; Важная информация по безопасности:
- 77 СТОЯНКА МОТОЦИКЛА; После остановки мотоцикла включите нейтральную
- 79 ВАЖНОСТЬ ТЕХНИЧЕСКОГО ОБСЛУЖИВАНИЯ
- 82 РЕГЛАМЕНТ ТЕХНИЧЕСКОГО ОБСЛУЖИВАНИЯ
- 85 КОМПЛЕКТ ИНСТРУМЕНТА
- 86 ИДЕНТИФИКАЦИОННЫЕ НОМЕРА; РАМА No
- 87 ЭТИКЕТКА С ОБОЗНАЧЕНИЕМ КРАСКИ; ЦВЕТ
- 89 Моторное масло и масляный фильтр
- 90 отверстия картера
- 92 ВЕНТИЛЯЦИЯ КАРТЕРА; Снимите пробку трубки вентиляции картера
- 93 СВЕЧИ ЗАЖИГАНИЯ; Для холодного климата:
- 95 (5) Зазор между электродами свечи зажигания
- 96 Измерьте свободный ход рукоятки управление
- 97 ЧАСТОТА ХОЛОСТОГО ХОДА; Прогрейте двигатель, включите нейтральную
- 99 ПРИВОДНАЯ ЦЕПЬ; боковой упор и включите нейтральную передачу.
- 101 нейтральную передачу и выключите зажигание.; болты
- 105 НАПРАВЛЯЮЩАЯ ПРИВОДНОЙ ЦЕПИ; приводной цепи
- 106 ПРОВЕРКА ПЕРЕДНЕЙ И ЗАДНЕЙ ПОДВЕСОК; Проверьте состояние узла передней вилки, нажав
- 107 БОКОВОЙ УПОР; Проверка функционирования:
- 108 Приподнимите переднее колесо над опорной
- 112 После установки колеса нажмите на рычаг
- 113 продвинув заднее колесо вперёд.; регулировки цепи
- 116 АККУМУЛЯТОРНАЯ БАТАРЕЯ; ПРИМЕЧАНИЕ
- 117 Снятие аккумуляторной батареи; Вначале отсоедините провод от отрицательной; батарея
- 121 РЕГУЛИРОВКА ВЫКЛЮЧАТЕЛЯ СТОПСИГНАЛА
- 122 ЗАМЕНА ЛАМП
- 123 Лампа фары; колпачок
- 124 Лампа стояночного света; Вытяните и извлеките патрон лампы стояночного; стояночного света
- 125 Лампа стопсигнала и заднего света; против часовой стрелки и потяните на себя.
- 127 ОЧИСТКА МОТОЦИКЛА; Дайте двигателю и системе выпуска остыть.
- 128 Мойка мотоцикла
- 129 Промойте мотоцикл струей чистой воды
- 131 ХРАНЕНИЕ МОТОЦИКЛА
- 134 ТЕХНИЧЕСКИЕ ХАРАКТЕРИСТИКИ МОТОЦИКЛА; РАЗМЕРЫ
- 135 ДВИГАТЕЛЬ
