Мотоциклы HONDA CBR600RR ABS - инструкция пользователя по применению, эксплуатации и установке на русском языке. Мы надеемся, она поможет вам решить возникшие у вас вопросы при эксплуатации техники.
Если остались вопросы, задайте их в комментариях после инструкции.
"Загружаем инструкцию", означает, что нужно подождать пока файл загрузится и можно будет его читать онлайн. Некоторые инструкции очень большие и время их появления зависит от вашей скорости интернета.

28
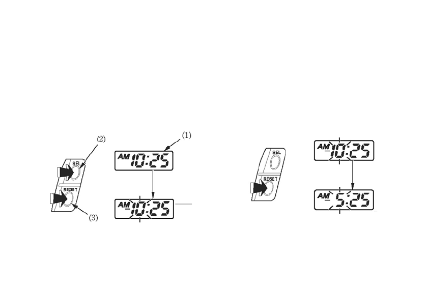
Цифровые часы
Отображают часы и минуты. Для установки 
времени следуйте процедуре:
1. Включите зажигание, повернув ключ в поло-
жение ON (ВКЛ).
2. Нажмите и удерживайте кнопку SEL (ВЫБОР)
(2) и кнопку RESET (СБРОС) (3) более 2 
секунд. Включится режим установки време-
ни. Дисплей часов начнет мигать.
(1) Цифровые часы
(2)  Кнопка SEL (ВЫБОР)
(3)  Кнопка RESET (СБРОС)
3. Для установки показаний часов нажмите и
удерживайте кнопку RESET (СБРОС) до 
появления на индикаторе желаемого значе-
ния.
•
Каждое нажатие кнопки прибавляет по
часу.
•
При нажатии и удержании кнопки прибав-
ление часов становится быстрее.
Содержание
- 4 ДОБРО ПОЖАЛОВАТЬ; ПРИМЕЧАНИЕ; ущерба чужой собственности и окружающей среде.
 - 5 Спецификация мотоцикла может меняться в зависимости от страны
 - 6 НЕСКОЛЬКО СЛОВ О БЕЗОПАСНОСТИ; Предупреждающие таблички; - перед которой помещен символ внимания; ОПАСНОСТЬ, ПРЕДОСТЕРЕЖЕНИЕ или ПРЕДУПРЕЖДЕНИЕ.; Эти сигнальные слова означают следующее:
 - 7 W такие, как важные предостережения или требования; Инструкции
 - 8 ЭКСПЛУАТАЦИЯ; управления
 - 9 5 ПРОЧЕЕ ОБОРУДОВАНИЕ; ПРОТИВОУГОННОГО; 4 ЭКСПЛУАТАЦИЯ МОТОЦИКЛА; МОТОЦИКЛА ОТ УГОНА
 - 10 НИИ ТЕХНИЧЕСКОГО ОБСЛУЖИВАНИЯ; страница; ВЫКЛЮЧАТЕЛЯ СТОПWСИГНАЛА; 47 РЕКОМЕНДАЦИИ ПО ХРАНЕНИЮ; ПОСЛЕ ХРАНЕНИЯ; 50 ЕСЛИ ВЫ ПОПАЛИ В АВАРИЮ
 - 11 Всегда надевайте шлем
 - 12 ЗАЩИТНАЯ ОДЕЖДА; ПРЕДОСТЕРЕЖЕНИЕ
 - 13 Шлемы и защитные очки; Прочные сапоги или ботинки с подошвой,
 - 14 Загрузка
 - 17 Аксессуары и модификации; Аксессуары; Убедитесь, что аксессуары не заслоняют
 - 18 Запрещается эксплуатировать мотоцикл с; Изменения конструкции
 - 19 УЗЛЫ И ИХ РАСПОЛОЖЕНИЕ
 - 22 ПРИБОРЫ И ИНДИКАТОРЫ; дисплей
 - 23 Функционирование; топлива
 - 24 при которой стрелка тахометра будет находиться в красной зоне.
 - 25 Спидометр
 - 30 Исходный режим индикации
 - 31 Указатель уровня топлива; жидкокристаллического дисплея
 - 33 Многофункциональный дисплей; жидкости
 - 34 Индикация температуры:; (1) Указатель температуры охлаждающей жидкости
 - 35 охлаждающей жидкости
 - 36 Показывает скорость движения.
 - 38 Цифровые часы; Для установки показаний часов нажмите и
 - 40 (1) Регулятор предварительного сжатия пружины
 - 43 Задняя подвеска; Поворачивайте регулятор демпфирующего
 - 46 ТОРМОЗА
 - 49 СЦЕПЛЕНИЕ; Если регулятор вывернут почти до предела,
 - 52 Проверка; бачка
 - 53 Остановите двигатель и не приближай-
 - 58 БЕСКАМЕРНЫЕ ШИНЫ; Давление воздуха в шинах
 - 59 Выпуклости или вздутия на протекторе или
 - 60 Износ протектора; Минимальная глубина протектора; or
 - 61 Ремонт шины
 - 63 Важная информация по безопасности; • Запрещается установка на данный мотоцикл
 - 64 МЕХАНИЗМЫ И ОРГАНЫ УПРАВЛЕНИЯ; ЗАМОК ЗАЖИГАНИЯ; Положение ключа зажигания
 - 65 КЛЮЧИ; ключа
 - 71 Кнопка стартера
 - 72 (1) Переключатель ближнего и дальнего света
 - 75 БЛОКИРАТОР РУЛЯ
 - 77 Заднее седло
 - 78 ДЕРЖАТЕЛЬ ШЛЕМА
 - 79 ПАКЕТ ДЛЯ ДОКУМЕНТОВ
 - 81 НИЖНИЙ КОЖУХ; Правильно установите трубопроводы на
 - 82 ЦЕНТРАЛЬНЫЙ КОЖУХ; Не прилагайте к кожуху чрезмерное уси-
 - 84 ЭКСПЛУАТАЦИЯ МОТОЦИКЛА; ОСМОТР ПЕРЕД ПОЕЗДКОЙ; Уровень масла в двигателе W добавьте мотор-
 - 86 ПУСК ДВИГАТЕЛЯ
 - 88 Процедура запуска; Нажмите на кнопку стартера при полностью
 - 89 Заливание цилиндров топливом; Оставьте выключатель двигателя в рабочем; Отключение зажигания
 - 90 ОБКАТКА МОТОЦИКЛА
 - 91 ЕЗДА НА МОТОЦИКЛЕ; цикл готов к поездке.
 - 93 ТОРМОЖЕНИЕ
 - 97 СТОЯНКА МОТОЦИКЛА; После остановки мотоцикла включите ней-
 - 99 ВАЖНОСТЬ ТЕХНИЧЕСКОГО ОБСЛУЖИВАНИЯ
 - 101 • Ожоги от контакта с горячими частями
 - 102 РЕГЛАМЕНТ ТЕХНИЧЕСКОГО ОБСЛУЖИВАНИЯ; указанные промежутки времени.
 - 105 КОМПЛЕКТ ИНСТРУМЕНТОВ
 - 106 ИДЕНТИФИКАЦИОННЫЕ НОМЕРА
 - 107 ЭТИКЕТКА С ОБОЗНАЧЕНИЕМ КРАСКИ
 - 108 Вязкость; Используйте рекомендованное масло.
 - 109 масло
 - 110 Моторное масло и масляный фильтр
 - 112 С помощью специального ключа для филь-
 - 113 (4) Уплотнительное кольцо масляного фильтра
 - 114 Запрещается проводить чистку свечей. Если
 - 116 ния
 - 118 (16) Зазор между электродами свечи зажигания
 - 122 ПРИВОДНАЯ ЦЕПЬ; Остановите двигатель, установите мотоцикл
 - 126 Приводная цепь для замены:
 - 128 НАПРАВЛЯЮЩАЯ ПРИВОДНОЙ ЦЕПИ
 - 129 ПРОВЕРКА ПЕРЕДНЕЙ И ЗАДНЕЙ ПОДВЕСКИ; Проверьте состояние узла передней вилки,
 - 130 БОКОВОЙ УПОР; Убедитесь в отсутствии повреждений и потери
 - 131 Приподнимите переднее колесо над опор-
 - 133 Установка переднего колеса
 - 135 Установите датчик скорости вращения
 - 136 Снятие заднего колеса; Приподнимите заднее колесо над опорной
 - 139 Задний тормоз
 - 141 Проверьте надежность затяжки всех болтов
 - 146 ЗАМЕНА ЛАМП; Не забудьте выключить зажигание при заме-
 - 147 Лампа фары; нув ее против часовой стрелки.
 - 148 Стояночный фонарь
 - 151 Освещение регистрационного знака; (1) Фонарь освещения регистрационного знака
 - 152 ОЧИСТКА МОТОЦИКЛА; Дайте двигателю и системе выпуска остыть.
 - 153 Мойка мотоцикла
 - 155 Очистка матовых поверхностей
 - 156 Уход за выхлопной трубой и глушителем
 - 161 ТЕХНИЧЕСКИЕ ХАРАКТЕРИСТИКИ МОТОЦИКЛА; РАЗМЕРЫ
 - 162 ДВИГАТЕЛЬ
 - 163 ШАССИ И ПОДВЕСКА
 - 164 ТРАНСМИССИЯ
 - 166 КАТАЛИТИЧЕСКИЙ НЕЙТРАЛИЗАТОР; Всегда используйте неэтилированный бен-
 
 
 
 
 
 
 
 
 
 
 
 
 
 
 
 
 
 
 
 
 
 
 
 
 
 
 
 
 
 
 
 
 
 
 
 
 
 
 
 
 
 
 
 
 
 
 
 
 
 
 
 
 
 
 
 
 
 
 
 
 
 
 
 
 
 
 
 
 
 
 
 
 
 
 
 
 
 
 
 
 
 
 
 
 
 
 
 
 
 
 
 
 
 
 
 
 
 
 
 
 
 
 
 
 
 
 
 
 
 
 
 
 
 
 
 
 
 
 
 
 
 
 
 
 
 
 
 
 
 
 
 
 
 
 
 
 
 
 
 
 
 
 
 
 
 
 
 
 
 
 
 
 
 
 
 
 
 
 
 
 
 
 
 
 
 
 