Мотоциклы HONDA CBR1100XX - инструкция пользователя по применению, эксплуатации и установке на русском языке. Мы надеемся, она поможет вам решить возникшие у вас вопросы при эксплуатации техники.
Если остались вопросы, задайте их в комментариях после инструкции.
"Загружаем инструкцию", означает, что нужно подождать пока файл загрузится и можно будет его читать онлайн. Некоторые инструкции очень большие и время их появления зависит от вашей скорости интернета.

87
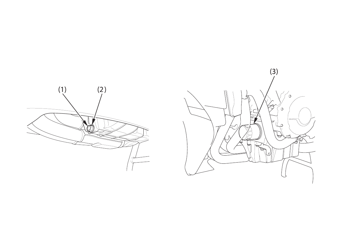
(1) Сливная пробка
(2) Уплотнительная шайба
(3) Масляный фильтр
1. Снимите нижний обтекатель (стр. 58).
2. Для слива масла выверните заливную крышку
(1) и болт сливного отверстия с
уплотнительной шайбой (2).
3. С помощью специального ключа для фильтра
отверните масляный фильтр (3) и дайте стечь
остаткам масла.
Содержание
- 4 ДОБРО ПОЖАЛОВАТЬ; ПРИМЕЧАНИЕ
- 6 НЕСКОЛЬКО СЛОВ О БЕЗОПАСНОСТИ; Таблички безопасности; A на самом мотоцикле.; Информация, относящаяся к безопасности; A перед которой помещен символ; ОПАСНОСТЬ; Эти сигнальные слова означают следующее:
- 7 Заголовки, относящиеся к безопасности; A такие, как важные предостережения или требования; Инструкции; ПРЕДОСТЕРЕЖЕНИЕ
- 8 ЭКСПЛУАТАЦИЯ МОТОЦИКЛА
- 12 ЗАЩИТНАЯ ОДЕЖДА
- 13 Шлемы и защитные очки
- 14 Загрузка
- 16 Дополнительное оборудование и модификации
- 21 ПРИБОРЫ И ИНДИКАТОРЫ; двигателе
- 23 иммобилайзера HISS
- 24 дисплей
- 26 Показывает частоту вращения двигателя в оборотах в минуту.
- 27 Исходный режим индикации; уровня топлива
- 28 Многофункциональный дисплей; жидкости
- 29 Указатель уровня топлива
- 30 Одометр; Показывает величину общего пробега.; Указатель пробега за поездку
- 31 Спидометр; Показывает скорость движения.
- 32 Цифровые часы; Нажмите и удерживайте нажатой кнопку SET
- 33 Указатель температуры охлаждающей жидкости; Индикация температуры
- 34 ОСНОВНЫЕ АГРЕГАТЫ; Регулировочное устройство установлено в
- 39 СЦЕПЛЕНИЕ
- 41 на базе
- 42 Проверка; расширительного бачка
- 43 бака
- 45 Запрещается использовать бензин,
- 48 Необходимо обратить внимание на следующее:
- 49 Износ протектора
- 50 Ремонт шины
- 51 Замена шины
- 52 Важная информация по безопасности
- 54 КЛЮЧИ ЗАЖИГАНИЯ
- 60 Выключатель двигателя; RUN; Кнопка стартера
- 61 Переключатель ближнего и дальнего света фары (1); Нажмите на сторону
- 62 ПРОЧЕЕ ОБОРУДОВАНИЕ; Разблокировать
- 63 ДЕРЖАТЕЛЬ ДЛЯ ШЛЕМА
- 64 СЕДЛО
- 65 ПАКЕТ ДЛЯ ДОКУМЕНТОВ
- 67 ЗАДНИЙ ОБТЕКАТЕЛЬ
- 68 НИЖНИЙ ОБТЕКАТЕЛЬ
- 69 полукожух
- 70 ВЕРХНИЙ ОБТЕКАТЕЛЬ
- 71 ВЕТРОВЫЕ ЭКРАНЫ
- 72 ВНУТРЕННЯЯ ПАНЕЛЬ
- 74 ОСМОТР ПЕРЕД ПОЕЗДКОЙ; Уровень масла в двигателе A добавьте
- 76 ПУСК ДВИГАТЕЛЯ
- 78 Заливание цилиндров топливом; Если холостой ход после запуска двигателя; Отключение зажигания
- 79 ОБКАТКА МОТОЦИКЛА
- 80 ВОЖДЕНИЕ; Пока двигатель работает на холостом ходу,
- 82 ТОРМОЖЕНИЕ; Важная информация по безопасности:
- 84 СТОЯНКА МОТОЦИКЛА; После остановки мотоцикла включите
- 88 * Ожоги от контакта с горячими частями
- 89 РЕГЛАМЕНТ ТЕХНИЧЕСКОГО ОБСЛУЖИВАНИЯ
- 92 КОМПЛЕКТ ИНСТРУМЕНТА
- 93 ИДЕНТИФИКАЦИОННЫЕ НОМЕРА; ДВИГАТЕЛЬ No
- 94 ЭТИКЕТКА С ОБОЗНАЧЕНИЕМ КРАСКИ; ЦВЕТ
- 96 Моторное масло и масляный фильтр
- 97 С помощью специального ключа для фильтра
- 99 СВЕЧИ ЗАЖИГАНИЯ
- 104 Измерьте свободный ход рукоятки управления
- 107 ПРИВОДНАЯ ЦЕПЬ; центральный упор и включите нейтраль.
- 108 НОРМА
- 109 включите нейтраль и выключите зажигание.
- 111 Приводная цепь для замены:
- 115 БОКОВОЙ УПОР; Проверка работоспособности:
- 116 Приподнимите переднее колесо над опорной
- 122 Демонтаж заднего колеса; звёздочки, продвинув заднее колесо вперёд.
- 123 Рекомендации по установке:
- 125 Задний тормоз
- 126 ПРОВЕРКА ТОРМОЗНОЙ СИСТЕМЫ; выключите двигатель и включите нейтраль.
- 127 АККУМУЛЯТОРНАЯ БАТАРЕЯ
- 128 Снятие аккумуляторной батареи; Сначала отсоедините провод от отрицательной
- 130 Закройте крышку блока предохранителей и
- 133 ЗАМЕНА ЛАМП
- 134 Лампа фары; колпачок
- 135 Лампа стояночного света
- 136 Лампа стоп6сигнала и заднего света; стрелки и потяните на себя.
- 137 Лампы передних указателей поворотов; стрелки и снимите его.
- 138 Лампы задних указателей поворотов; против часовой стрелки.
- 139 ОЧИСТКА МОТОЦИКЛА
- 140 Мойка мотоцикла; Полностью ополосните мотоцикл струей
- 144 ХРАНЕНИЕ МОТОЦИКЛА; Замените масло в двигателе и масляный
- 147 ТЕХНИЧЕСКИЕ ХАРАКТЕРИСТИКИ МОТОЦИКЛА; РАЗМЕРЫ; Сухая масса; МАССА
- 148 ДВИГАТЕЛЬ
- 149 Главная передача
- 151 Правильно регулируйте двигатель.
- 152 СИСТЕМА СНИЖЕНИЯ ШУМА (ТОЛЬКО ДЛЯ АВСТРАЛИИ)
