Мотоциклы HONDA CBR1100XX - инструкция пользователя по применению, эксплуатации и установке на русском языке. Мы надеемся, она поможет вам решить возникшие у вас вопросы при эксплуатации техники.
Если остались вопросы, задайте их в комментариях после инструкции.
"Загружаем инструкцию", означает, что нужно подождать пока файл загрузится и можно будет его читать онлайн. Некоторые инструкции очень большие и время их появления зависит от вашей скорости интернета.

128
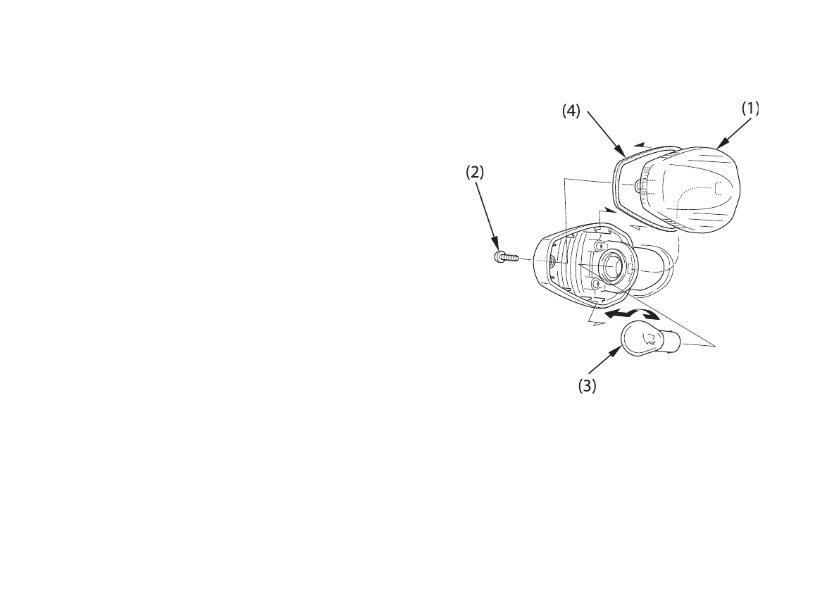
Лампы задних указателей поворотов
1. Открутив винт (2), снимите рассеиватель (1)
указателя поворота и его прокладку (4).
2. Слегка надавите на лампу (3) и поверните её
против часовой стрелки.
3. Установите новую лампу, выполняя операции
в обратном порядке.
(1) Рассеиватель
(2) Винт
(3) Лампа
(4) Прокладка
рассеивателя
Содержание
- 4 ДОБРО ПОЖАЛОВАТЬ; ПРИМЕЧАНИЕ
- 6 НЕСКОЛЬКО СЛОВ О БЕЗОПАСНОСТИ; Таблички безопасности; A на самом мотоцикле.; Информация, относящаяся к безопасности; A перед которой помещен символ; ОПАСНОСТЬ; Эти сигнальные слова означают следующее:
- 7 Заголовки, относящиеся к безопасности; A такие, как важные предостережения или требования; Инструкции; ПРЕДОСТЕРЕЖЕНИЕ
- 8 ЭКСПЛУАТАЦИЯ МОТОЦИКЛА
- 12 ЗАЩИТНАЯ ОДЕЖДА
- 13 Шлемы и защитные очки
- 14 Загрузка
- 16 Дополнительное оборудование и модификации
- 21 ПРИБОРЫ И ИНДИКАТОРЫ; двигателе
- 23 иммобилайзера HISS
- 24 дисплей
- 26 Показывает частоту вращения двигателя в оборотах в минуту.
- 27 Исходный режим индикации; уровня топлива
- 28 Многофункциональный дисплей; жидкости
- 29 Указатель уровня топлива
- 30 Одометр; Показывает величину общего пробега.; Указатель пробега за поездку
- 31 Спидометр; Показывает скорость движения.
- 32 Цифровые часы; Нажмите и удерживайте нажатой кнопку SET
- 33 Указатель температуры охлаждающей жидкости; Индикация температуры
- 34 ОСНОВНЫЕ АГРЕГАТЫ; Регулировочное устройство установлено в
- 39 СЦЕПЛЕНИЕ
- 41 на базе
- 42 Проверка; расширительного бачка
- 43 бака
- 45 Запрещается использовать бензин,
- 48 Необходимо обратить внимание на следующее:
- 49 Износ протектора
- 50 Ремонт шины
- 51 Замена шины
- 52 Важная информация по безопасности
- 54 КЛЮЧИ ЗАЖИГАНИЯ
- 60 Выключатель двигателя; RUN; Кнопка стартера
- 61 Переключатель ближнего и дальнего света фары (1); Нажмите на сторону
- 62 ПРОЧЕЕ ОБОРУДОВАНИЕ; Разблокировать
- 63 ДЕРЖАТЕЛЬ ДЛЯ ШЛЕМА
- 64 СЕДЛО
- 65 ПАКЕТ ДЛЯ ДОКУМЕНТОВ
- 67 ЗАДНИЙ ОБТЕКАТЕЛЬ
- 68 НИЖНИЙ ОБТЕКАТЕЛЬ
- 69 полукожух
- 70 ВЕРХНИЙ ОБТЕКАТЕЛЬ
- 71 ВЕТРОВЫЕ ЭКРАНЫ
- 72 ВНУТРЕННЯЯ ПАНЕЛЬ
- 74 ОСМОТР ПЕРЕД ПОЕЗДКОЙ; Уровень масла в двигателе A добавьте
- 76 ПУСК ДВИГАТЕЛЯ
- 78 Заливание цилиндров топливом; Если холостой ход после запуска двигателя; Отключение зажигания
- 79 ОБКАТКА МОТОЦИКЛА
- 80 ВОЖДЕНИЕ; Пока двигатель работает на холостом ходу,
- 82 ТОРМОЖЕНИЕ; Важная информация по безопасности:
- 84 СТОЯНКА МОТОЦИКЛА; После остановки мотоцикла включите
- 88 * Ожоги от контакта с горячими частями
- 89 РЕГЛАМЕНТ ТЕХНИЧЕСКОГО ОБСЛУЖИВАНИЯ
- 92 КОМПЛЕКТ ИНСТРУМЕНТА
- 93 ИДЕНТИФИКАЦИОННЫЕ НОМЕРА; ДВИГАТЕЛЬ No
- 94 ЭТИКЕТКА С ОБОЗНАЧЕНИЕМ КРАСКИ; ЦВЕТ
- 96 Моторное масло и масляный фильтр
- 97 С помощью специального ключа для фильтра
- 99 СВЕЧИ ЗАЖИГАНИЯ
- 104 Измерьте свободный ход рукоятки управления
- 107 ПРИВОДНАЯ ЦЕПЬ; центральный упор и включите нейтраль.
- 108 НОРМА
- 109 включите нейтраль и выключите зажигание.
- 111 Приводная цепь для замены:
- 115 БОКОВОЙ УПОР; Проверка работоспособности:
- 116 Приподнимите переднее колесо над опорной
- 122 Демонтаж заднего колеса; звёздочки, продвинув заднее колесо вперёд.
- 123 Рекомендации по установке:
- 125 Задний тормоз
- 126 ПРОВЕРКА ТОРМОЗНОЙ СИСТЕМЫ; выключите двигатель и включите нейтраль.
- 127 АККУМУЛЯТОРНАЯ БАТАРЕЯ
- 128 Снятие аккумуляторной батареи; Сначала отсоедините провод от отрицательной
- 130 Закройте крышку блока предохранителей и
- 133 ЗАМЕНА ЛАМП
- 134 Лампа фары; колпачок
- 135 Лампа стояночного света
- 136 Лампа стоп6сигнала и заднего света; стрелки и потяните на себя.
- 137 Лампы передних указателей поворотов; стрелки и снимите его.
- 138 Лампы задних указателей поворотов; против часовой стрелки.
- 139 ОЧИСТКА МОТОЦИКЛА
- 140 Мойка мотоцикла; Полностью ополосните мотоцикл струей
- 144 ХРАНЕНИЕ МОТОЦИКЛА; Замените масло в двигателе и масляный
- 147 ТЕХНИЧЕСКИЕ ХАРАКТЕРИСТИКИ МОТОЦИКЛА; РАЗМЕРЫ; Сухая масса; МАССА
- 148 ДВИГАТЕЛЬ
- 149 Главная передача
- 151 Правильно регулируйте двигатель.
- 152 СИСТЕМА СНИЖЕНИЯ ШУМА (ТОЛЬКО ДЛЯ АВСТРАЛИИ)
