Мотоциклы HONDA CB1300SA 2010 - инструкция пользователя по применению, эксплуатации и установке на русском языке. Мы надеемся, она поможет вам решить возникшие у вас вопросы при эксплуатации техники.
Если остались вопросы, задайте их в комментариях после инструкции.
"Загружаем инструкцию", означает, что нужно подождать пока файл загрузится и можно будет его читать онлайн. Некоторые инструкции очень большие и время их появления зависит от вашей скорости интернета.

О
ОР
РГ
ГА
АН
НЫ
Ы У
УП
ПР
РА
АВ
ВЛ
ЛЕ
ЕН
НИ
ИЯ
Я Л
ЛЕ
ЕВ
ВО
ОЙ
Й Р
РУ
УК
КО
ОЯ
ЯТ
ТК
КИ
И Р
РУ
УЛ
ЛЯ
Я
П
Пе
ер
ре
ек
кл
лю
юч
ча
ат
те
ел
ль
ь б
бл
ли
иж
жн
не
егго
о и
и д
да
ал
ль
ьн
не
егго
о с
св
ве
ет
та
а
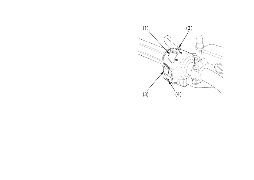
ф
фа
ар
ры
ы ((1
1))
Нажмите на сторону "HI" клавиши переключателя
для включения дальнего света или на сторону
"LO" для включения ближнего света.
В
Вы
ык
кл
лю
юч
ча
ат
те
ел
ль
ь п
по
од
да
ач
чи
и с
си
иггн
на
ал
ло
ов
в д
да
ал
ль
ьн
ни
им
м с
св
ве
ет
то
ом
м
ф
фа
ар
ры
ы ((2
2))
При нажатии на кнопку этого выключателя фара
мигает, подавая сигналы приближающимся или
обгоняемым автомобилям.
В
Вы
ык
кл
лю
юч
ча
ат
те
ел
ль
ь у
ук
ка
аз
за
ат
те
ел
ля
я п
по
ов
во
ор
ро
от
то
ов
в ((3
3))
Передвиньте выключатель влево, в положение
"L", для включения левого указателя поворота,
или вправо, в положение "R" для включения
правого указателя поворота. Нажмите на перек@
лючатель для выключения указателя поворота.
К
Кн
но
оп
пк
ка
а з
зв
ву
ук
ко
ов
во
огго
о с
си
иггн
на
ал
ла
а ((4
4))
Нажмите на кнопку для включения звукового
сигнала.
(1) Переключатель ближнего и дальнего света
фары
(2) Выключатель подачи сигналов дальним
светом фары
(3) Выключатель указателей поворота.
(4) Кнопка звукового сигнала
71
