Микроволновые печи Panasonic NN-GF574MZPE - инструкция пользователя по применению, эксплуатации и установке на русском языке. Мы надеемся, она поможет вам решить возникшие у вас вопросы при эксплуатации техники.
Если остались вопросы, задайте их в комментариях после инструкции.
"Загружаем инструкцию", означает, что нужно подождать пока файл загрузится и можно будет его читать онлайн. Некоторые инструкции очень большие и время их появления зависит от вашей скорости интернета.

- Rus-9 -
Ру
сский
Возможность
запрограммировать
время
устойки
блюда
после
его
приготовления
,
использовать
печь
как
минутный
или
секундный
таймер
,
а
также
установить
задержку
запуска
программы
.
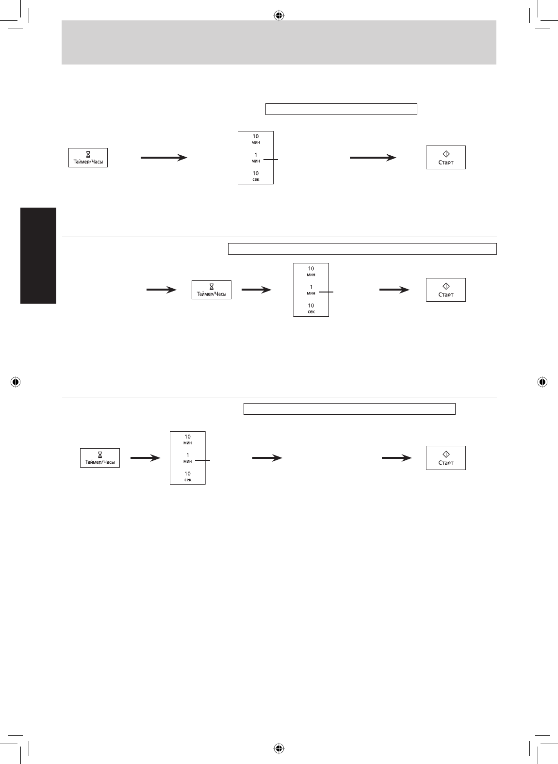
Для
использования
в
качестве
минутного
таймера
:
Например
:
Чтобы
отсчитать
5
минут
Для
программирования
времени
устойки
:
Например
:
Чтобы
установить
5
минут
устойки
после
приготовления
Для
программирования
задержки
включения
:
Например
:
Чтобы
начать
готовить
на
5
минут
позже
1.
Нажмите
один
раз
.
1.
Нажмите
один
раз
.
1.
Нажмите
один
раз
.
3.
Нажмите
.
Таймер
начнет
обратный
отсчёт
времени
без
работы
печи
.
3.
Нажмите
.
Начнётся
приготовление
.
После
приготовления
,
начнётся
обратный
отсчёт
времени
устойки
без
работы
печи
.
3.
Нажмите
.
Начнётся
отсчёт
времени
задержки
включения
.
Затем
начнётся
приготовление
.
2.
Нажмите
5
раз
.
Установите
нужное
время
.
(
до
99
мин
50
сек
)
2.
Нажмите
5
раз
.
Установите
нужное
время
паузы
.
(
до
99
мин
50
сек
)
2.
Нажмите
5
раз
.
Установите
нужное
время
задержки
.
(
до
99
мин
50
сек
)
Примечания
:
1.
Отсчёт
времени
таймера
/
задержки
включения
/
устойки
на
дисплее
будет
продолжаться
даже
при
открытии
дверцы
печи
.
2.
При
программировании
последовательности
действий
задержка
включения
и
время
устойки
не
могут
быть
поставлены
ни
перед
одной
программой
автоматического
приготовления
.
Это
не
позволяет
продукту
нагреться
перед
началом
приготовления
или
размораживания
.
Изменение
начальной
температуры
пищи
может
повлиять
на
результат
приготовления
.
3.
При
использовании
таймера
,
задания
времени
устойки
и
задержки
включения
допускается
программирование
до
двух
этапов
установки
разных
мощностей
.
5
раз
5
раз
5
раз
Установка
таймера
,
времени
устойки
или
отсрочки
включения
Выберите
нужную
программу
приготовления
.
(
до
2-
х
стадий
)
Выберите
нужную
программу
приготовления
.
(
до
2-
х
стадий
)
IP5034_3BN00ZP_Rus_13_141106.indd 9
IP5034_3BN00ZP_Rus_13_141106.indd 9
2014-11-6 14:41:54
2014-11-6 14:41:54
Характеристики
Остались вопросы?Не нашли свой ответ в руководстве или возникли другие проблемы? Задайте свой вопрос в форме ниже с подробным описанием вашей ситуации, чтобы другие люди и специалисты смогли дать на него ответ. Если вы знаете как решить проблему другого человека, пожалуйста, подскажите ему :)