Микроволновые печи WEISSGAUFF HMT-255 - инструкция пользователя по применению, эксплуатации и установке на русском языке. Мы надеемся, она поможет вам решить возникшие у вас вопросы при эксплуатации техники.
Если остались вопросы, задайте их в комментариях после инструкции.
"Загружаем инструкцию", означает, что нужно подождать пока файл загрузится и можно будет его читать онлайн. Некоторые инструкции очень большие и время их появления зависит от вашей скорости интернета.
Загружаем инструкцию

10
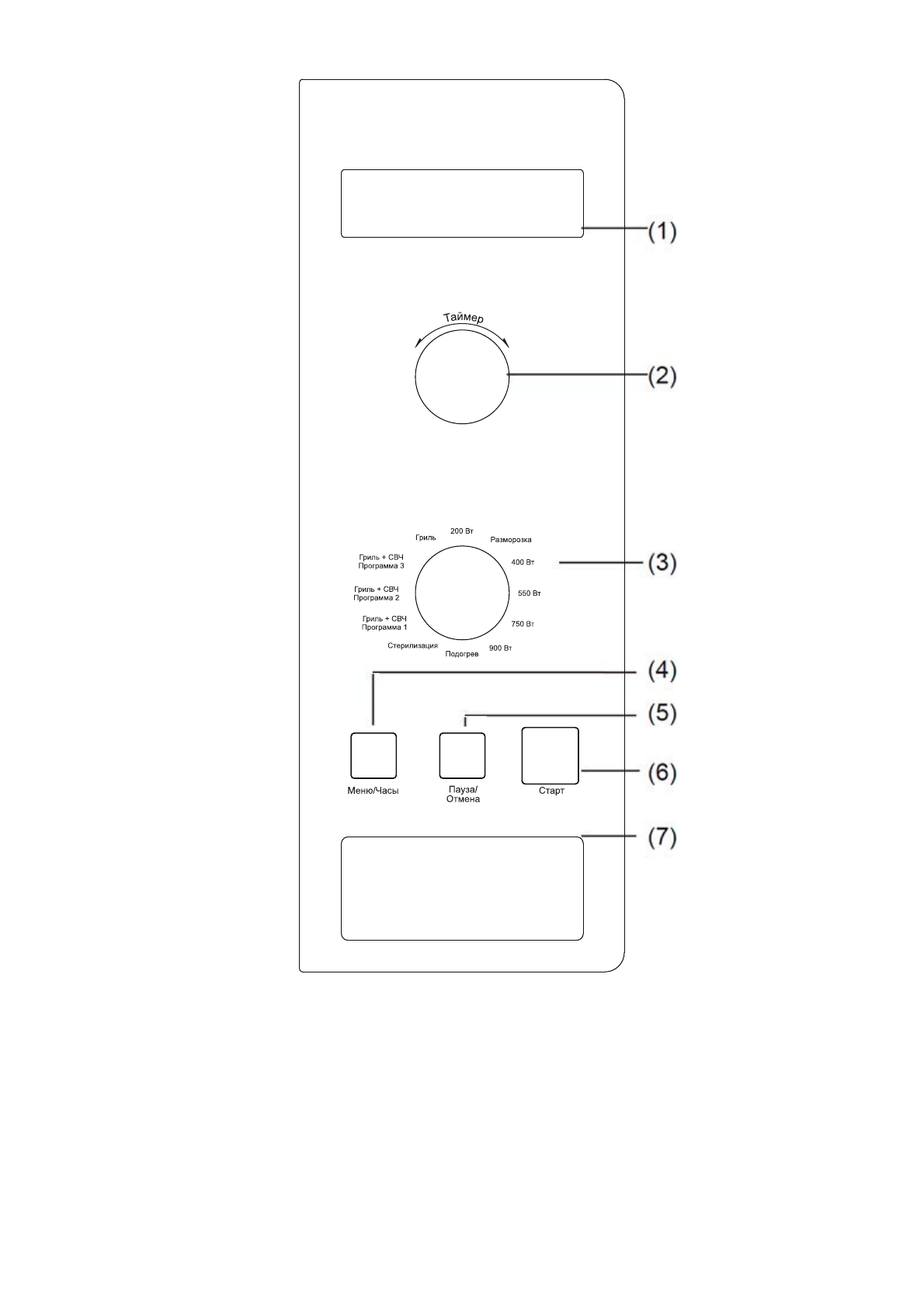
Дисплей
Таймер
Селектор функций
Меню/Часы
Пауза/Отмена
Старт
Кнопка открытия
двери
Содержание
- 2 Оглавление
- 5 Внимание: горячая поверхность; Очистите дверцу и уплотнительную поверхность дверцы прибора.
- 8 ТЕХНИКА БЕЗОПАСНОСТИ ПРИ ИСПОЛЬЗОВАНИИ; металлические кастрюли или посуда с металлическими ручками
- 9 Для снижения риска возникновения пожара в полости печи:; ОПИСАНИЕ
- 13 Блокировка от детей; мигать на дисплее
- 14 УХОД ЗА МИКРОВОЛНОВОЙ ПЕЧЬЮ
- 15 ИНСТРУКЦИЯ ПО УСТАНОВКЕ МИКРОВОЛНОВОЙ ПЕЧИ; Крышка винта – 1 шт.
- 16 Установите ножки на места их крепления.
- 17 ТЕХНИЧЕСКИЕ ХАРАКТЕРИСТИКИ












