Микроволновые печи Saturn ST-MW7153 - инструкция пользователя по применению, эксплуатации и установке на русском языке. Мы надеемся, она поможет вам решить возникшие у вас вопросы при эксплуатации техники.
Если остались вопросы, задайте их в комментариях после инструкции.
"Загружаем инструкцию", означает, что нужно подождать пока файл загрузится и можно будет его читать онлайн. Некоторые инструкции очень большие и время их появления зависит от вашей скорости интернета.

30
чистоті
може
позначитися
на
ушкодженні
поверхні,
зменшенні
терміну служби пристрою і виникненні
небезпечної ситуації.
12.
Використовуйте
лише
посуд,
придатний
для
використання
у
мікрохвильовій печі.
13. Не зберігайте продукти та сторонні
предмети всередині камери печі.
14. Не вмикайте мікрохвильову піч
вхолосту. Це може призвести до
пошкодження печі.
15. Пристрій не призначений для
використання дітьми або людьми з
обмеженими здібностями.
Користуватися мікрохвильовою піччю
без догляду дозволено дітям, якщо їх
докладно проінструктували про її
роботу,
і
вони
можуть
безпечно
використати її і розуміють потенційну
небезпеку, що може трапитися через
неправильного використання.
16.
Використання
аксесуарів,
не
рекомендованих
виробником,
може
призвести до травм.
17. Не користуйтеся пристроєм за
межами приміщення.
18. Збережіть інструкцію.
19. Пристрій не призначений для
керування зовнішнім таймером або
окремим
пультом
дистанційного
керування.
ТІЛЬКИ ДЛЯ ПОБУТОВОГО
ВИКОРИСТАННЯ
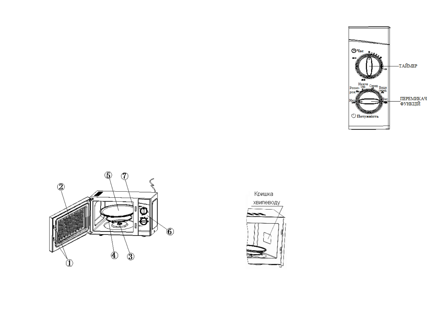
ОПИС ПРИСТРОЮ
31
1)
Блокіратори
дверцят
-
мікрохвильова піч вмикається тільки
при зачинених дверцятах.
2)
Оглядове
вікно
-
можна
спостерігати за станом приготування
через металеву решітку.
3)
Привод
обертання
обертає
скляний піддон.
4)
Кільце
обертання
підтримує
скляний піддон.
5) Скляний піддон - при обертанні,
їжа
рівномірно
прожарюється.
Використовувати
лише
при
приготуванні.
6) Панель керування див. нижче
(панель керування може відрізнятися у
різних моделей).
7) Кришка хвилеводу (внутрішня) -
увага: не знімати під час чищення, див.
Мал. 1.
Панель керування
1. Таймер
Максимальний час, на яке можна
встановити час таймера - 30 хвилин.
Коли таймер доходить до «0», звучить
звуковий сигнал.
2. Ручка перемикача функцій
Для приготування в мікрохвильовій
печі передбачено 6 рівнів потужності.
1)
Висока: 100% потужність (швидке
приготування)
2)
Вище середньої: потужність 85%
(Обсмажування)
3)
Середня:
потужність
66%
(повільне приготування)
4)
Нижче середньої: потужність 40%
5)
Розморожування: потужність 37%