Микроволновые печи LEFF 23MD802B - инструкция пользователя по применению, эксплуатации и установке на русском языке. Мы надеемся, она поможет вам решить возникшие у вас вопросы при эксплуатации техники.
Если остались вопросы, задайте их в комментариях после инструкции.
"Загружаем инструкцию", означает, что нужно подождать пока файл загрузится и можно будет его читать онлайн. Некоторые инструкции очень большие и время их появления зависит от вашей скорости интернета.

9
Модель Leff 23MD802B
ПОРЯДОК РАБОТЫ
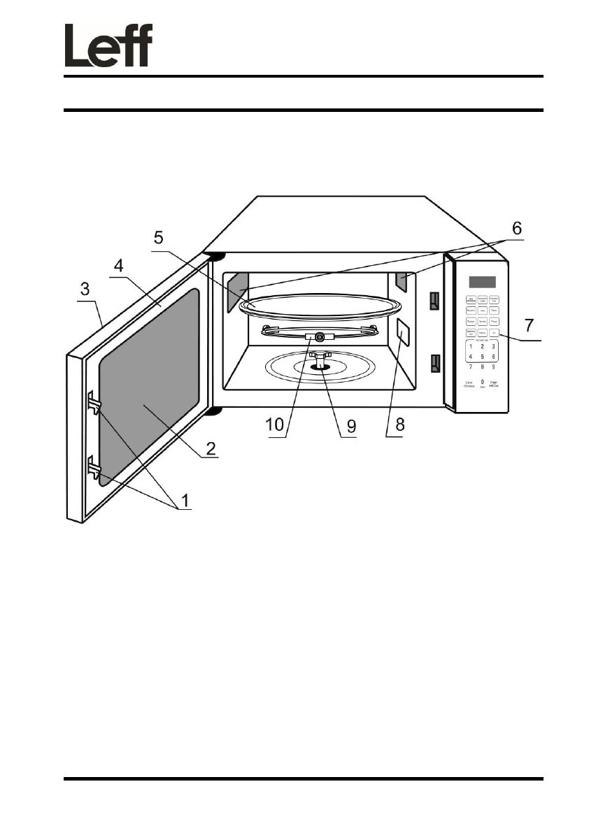
УСТРОЙСТВО ПЕЧИ
Устройство печи приведено на рисунке 2.
1
Защелки дверцы
2
Окно печи
3
Дверца
4
Уплотнительная прокладка дверцы
5
Стеклянное блюдо
6
Вентиляционные отверстия
7
Панель управления
8
Слюдяная пластина.
НЕ УДАЛЯТЬ!
9
Муфта вала мотора
10
Кольцо роликовое
Рисунок 2
Содержание
- 2 Модель Leff 23MD802B; СОДЕРЖАНИЕ
- 3 ТЕХНИЧЕСКИЕ ХАРАКТЕРИСТИКИ; ОСНОВНЫЕ ПАРАМЕТРЫ И ХАРАКТЕРИСТИКИ; Условия эксплуатации
- 4 РЕКОМЕНДАЦИИ ПОКУПАТЕЛЮ; КОМПЛЕКТНОСТЬ
- 5 МЕРЫ БЕЗОПАСНОСТИ
- 6 МЕРЫ ПОЖАРНОЙ БЕЗОПАСНОСТИ; ПРИ ПОЯВЛЕНИИ ДЫМА ВЫКЛЮЧИТЕ ПЕЧЬ, ОТКЛЮЧИТЕ ЕЕ ОТ СЕТИ И
- 7 ПОДГОТОВКА К ПРИМЕНЕНИЮ
- 10 ПОРЯДОК РАБОТЫ; УСТРОЙСТВО ПЕЧИ
- 11 ПАНЕЛЬ УПРАВЛЕНИЯ; Рисунок 3
- 13 ОРЯДОК РАБОТЫ; ПОДКЛЮЧЕНИЕ ПЕЧИ; ФУНКЦИЯ «ТАЙМЕР»
- 14 ПРИГОТОВЛЕНИЕ В РЕЖИМЕ «МИКРОВОЛНЫ»
- 15 БЫСТРЫЙ СТАРТ; РАЗМОРАЖИВАНИЕ ПО ВЕСУ; РАЗМОРАЖИВАНИЕ ПО ВРЕМЕНИ
- 16 ПОЭТАПНОЕ ПРИГОТОВЛЕНИЕ; ФУНКЦИЯ «ПАМЯТЬ»
- 17 ПРИГОТОВЛЕНИЕ В РЕЖИМЕ «АВТОМЕНЮ»
- 18 ФУНКЦИЯ СПРАВКИ
- 19 ПРЕРЫВАНИЕ РАБОТЫ ПЕЧИ В ПРОЦЕССЕ ПРИГОТОВЛЕНИЯ; ВНИМАНИЕ! ПЕРЕД ЧИСТКОЙ ОТКЛЮЧИТЕ ПЕЧЬ ОТ СЕТИ, ВЫНУВ ВИЛКУ; ТЕХНИЧЕСКОЕ ОБСЛУЖИВАНИЕ
- 20 ВОЗМОЖНЫЕ НЕИСПРАВНОСТИ И СПОСОБЫ; Неисправность
- 21 ИНФОРМАЦИЯ; СРОК СЛУЖБЫ; По окончании срока службы Вам необходимо обратиться в уполно-; Дата изготовления; указана в серийном номере изделия. Первые; ИНФОРМАЦИЯ ОБ ИЗГОТОВИТЕЛЕ
- 22 ГАРАНТИЙНЫЕ УСЛОВИЯ; Гарантийный срок составляет 12 месяцев от даты продажи.; Адреса сервисных центров «Leff» Вы можете узнать на
Характеристики
Остались вопросы?Не нашли свой ответ в руководстве или возникли другие проблемы? Задайте свой вопрос в форме ниже с подробным описанием вашей ситуации, чтобы другие люди и специалисты смогли дать на него ответ. Если вы знаете как решить проблему другого человека, пожалуйста, подскажите ему :)