Микроволновые печи Kraft KF20MW7W-102M - инструкция пользователя по применению, эксплуатации и установке на русском языке. Мы надеемся, она поможет вам решить возникшие у вас вопросы при эксплуатации техники.
Если остались вопросы, задайте их в комментариях после инструкции.
"Загружаем инструкцию", означает, что нужно подождать пока файл загрузится и можно будет его читать онлайн. Некоторые инструкции очень большие и время их появления зависит от вашей скорости интернета.

6
М И К Р О В О Л Н О В А Я П Е Ч Ь
M I C R O WAV E O V E N
ИНСТРУКЦИЯ ПО ЭКСПЛУАТАЦИИ • USER MANUAL
КОМПЛЕКТАЦИЯ
МОДЕЛЬ
KF20MW7W-102M
Микроволновая печь (шт.)
1
Роликовая опора (шт.)
1
Стеклянное блюдо (шт.)
1
Инструкция по эксплуатации с гарантийным талоном (шт.)
1
Упаковка (шт.)
1
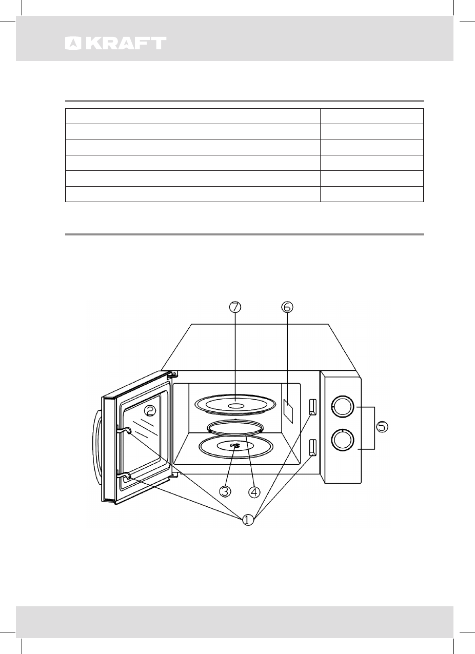
ОПИСАНИЕ
•
Печь предназначена для приготовления пищи, разогрева и размораживания пи-
щевых продуктов.
•
Данный прибор предназначен для применения бытовых условиях.
1. Защелки
2. Окно печи
3. Ролик
4. Роликовая опора
5. Поворотные переключатели
мощности и времени
6. Подсветка камеры
7. Стеклянное блюдо
Содержание
- 3 МЕРЫ БЕЗОПАСНОСТИ; Техника безопасности.
- 4 ЗАПРЕЩАЕТСЯ нагревать в печи взрывоопасные вещества и химикаты.
- 5 боры высокой мощности в той же цепи.; УСЛОВИЯ ЭКСПЛУАТАЦИИ; СПЕЦИФИКАЦИЯ; Модель; Количество режимов
- 6 КОМПЛЕКТАЦИЯ; МОДЕЛЬ; ОПИСАНИЕ
- 7 ПАНЕЛЬ УПРАВЛЕНИЯ; с заземляющим контактом!
- 8 ЭКСПЛУАТАЦИЯ
- 9 ВЫБОР ПОСУДЫ
- 10 чего возможно появление дыма.; ОЧИСТКА
- 11 на гарантийный ремонт; ТАЛОН No 2
- 13 ГАРАНТИЙНЫЙ ТАЛОН
Характеристики
Остались вопросы?Не нашли свой ответ в руководстве или возникли другие проблемы? Задайте свой вопрос в форме ниже с подробным описанием вашей ситуации, чтобы другие люди и специалисты смогли дать на него ответ. Если вы знаете как решить проблему другого человека, пожалуйста, подскажите ему :)