Микроволновые печи Gorenje GMO-23 DGW - инструкция пользователя по применению, эксплуатации и установке на русском языке. Мы надеемся, она поможет вам решить возникшие у вас вопросы при эксплуатации техники.
Если остались вопросы, задайте их в комментариях после инструкции.
"Загружаем инструкцию", означает, что нужно подождать пока файл загрузится и можно будет его читать онлайн. Некоторые инструкции очень большие и время их появления зависит от вашей скорости интернета.

50
matières inflammables (papier,
plastique) sont à l’intérieur ;
b)
Avant d’enfourner des aliments sous
sachets en plastique, retirez les liens
qui les ferment si ces derniers
comportent des fils métalliques.
c)
Si le feu se déclare à l’intérieur du
four, laissez la porte fermée,
débranchez l’appareil ou mettez-le
hors tension en fermant le disjoncteur
ou en enlevant le fusible sur le tableau
électrique.
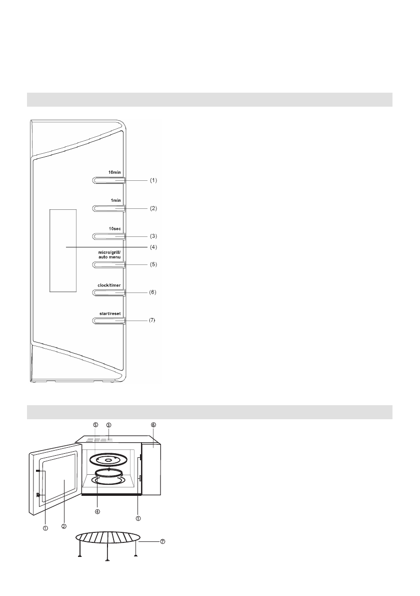
Bandeau de commandes électroniques
1. 10
minutes
2. 1
minute
3. 10
secondes
4. Afficheur
5. Micro-ondes/Gril/Cuisson
Auto
6. Horloge/Programmateur
7. Marche/Arrêt
Schéma du four
1.
Verrouillage de sécurité de la porte
2. Hublot
3.
Fentes de ventilation
4.
Couronne à roulettes
5.
Plateau tournant en verre
6. Bandeau
de
commandes
7.
Trépied pour cuisson au gril