Микроволновые печи Gorenje GMO-23 DGW - инструкция пользователя по применению, эксплуатации и установке на русском языке. Мы надеемся, она поможет вам решить возникшие у вас вопросы при эксплуатации техники.
Если остались вопросы, задайте их в комментариях после инструкции.
"Загружаем инструкцию", означает, что нужно подождать пока файл загрузится и можно будет его читать онлайн. Некоторые инструкции очень большие и время их появления зависит от вашей скорости интернета.

28
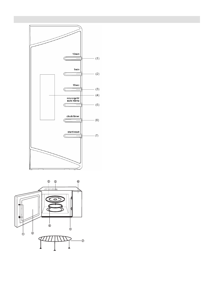
Дијаграм на печката
1. 10
минути
2. 1
минута
3. 10
секунди
4. Екран
5. Микро/Скара/Автоматско
мени
6. Часовник/Програмски
часовник
7. Почеток/Повторно
поставување
1.
Затворач на вратата
2.
Прозорец на печката
3.
Отвори за вентилација вентилатор за
проветрување
4.
Обрач на основата
5.
Стаклена основа
6.
Контролна плоча
7. Решетка
за
жар