Метеостанции TFA 35.1133.02 - инструкция пользователя по применению, эксплуатации и установке на русском языке. Мы надеемся, она поможет вам решить возникшие у вас вопросы при эксплуатации техники.
Если остались вопросы, задайте их в комментариях после инструкции.
"Загружаем инструкцию", означает, что нужно подождать пока файл загрузится и можно будет его читать онлайн. Некоторые инструкции очень большие и время их появления зависит от вашей скорости интернета.

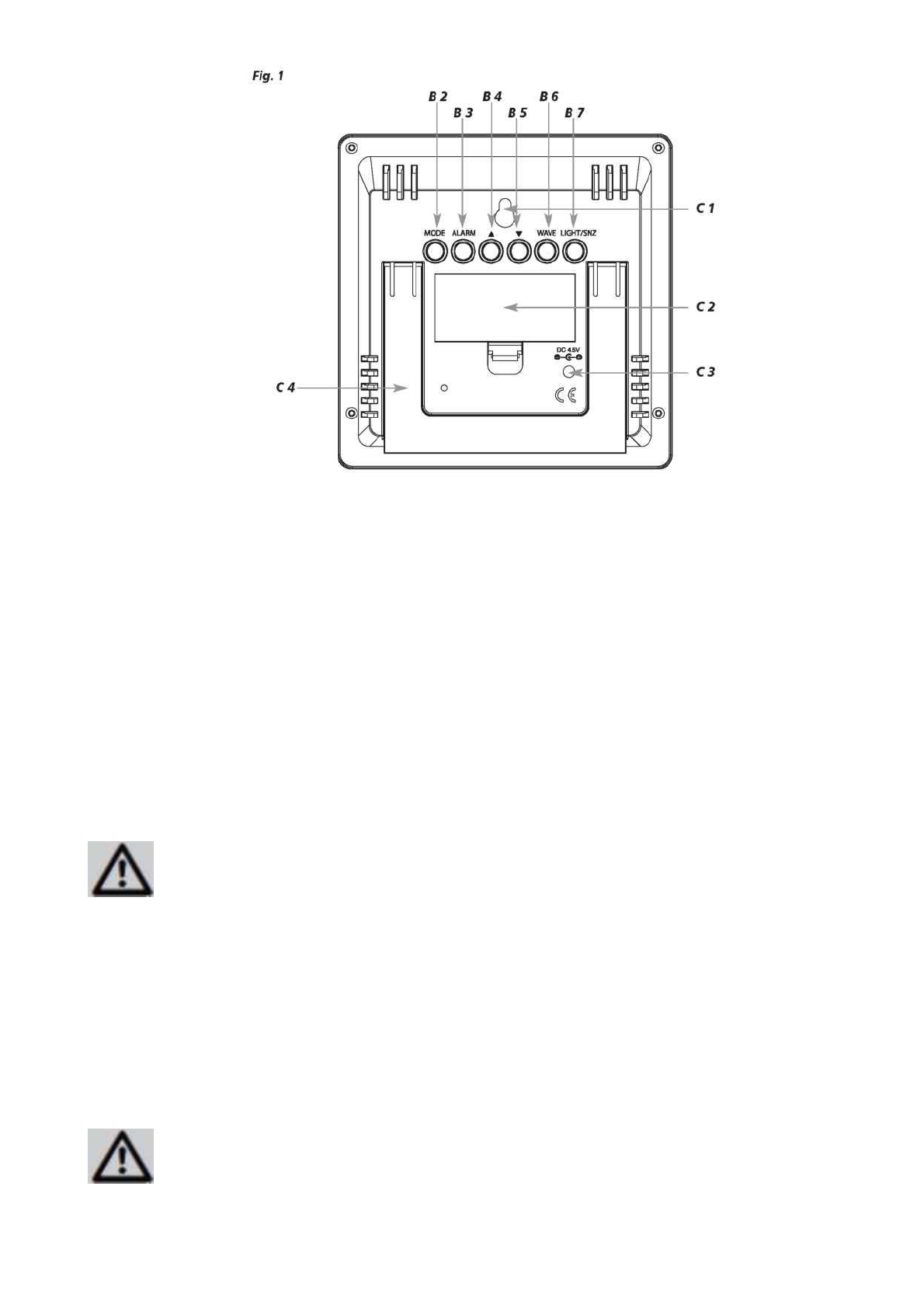
35.1133.01 / 35.1133.02
www.tfa-dostmann.de
2
Благодарим вас за выбор этого устройства от TFA.
1. Перед началом использования устройства
•
Пожалуйста, внимательно прочитайте эту инструкцию по эксплуатации.
•
Эта информация поможет вам хорошо ознакомиться с вашим новым устройством, изучить все его функции и
детали, узнать подробности о первом использовании и работе устройства, а также получить советы в случае
неисправностей.
•
Следование этой инструкции по эксплуатации предотвратит повреждения устройства и утерю ваших
законных прав вследствие появления дефектов из-за неправильного использования.
•
Мы не несем ответственности за какие-либо повреждения, которые явились результатом несоблюдения
указаний этой инструкции.
•
Пожалуйста, обратите особенное внимание на совет по безопасности!
•
Пожалуйста, просматривайте эту инструкцию в будущем.
2. Для вашей безопасности:
•
Этот продукт предназначен исключительно для области применения, описанной выше. Данный продукт
необходимо использовать только так, как описано в указаниях этой инструкции.
•
Незаконный ремонт, модификации или изменения этого продукта запрещены.
Внимание!
Риск поражения электрическим током!
• Подключайте базовую станцию только в розетку, установленную регламентированным способом и имеющую
напряжение электрической сети 230 Вольт!
• Базовая станция и блок питания не должны соприкасаться с водой или влагой. Их нужно использовать в сухих
помещениях.
• Не пользуйтесь устройством, если корпус или блок питания повреждены.
• Храните данное устройство вне досягаемости людей (в том числе детей), которые не могут в полной мере оценить
возможные риски в обращении с электрическим оборудованием.
• Немедленно вытаскивайте вилку из розетки, если случится какая-либо поломка, или если устройство не
используется длительный период времени.
• Используйте только поставляемый блок питания.
Внимание!
Риск травмы:
•
Храните это устройство и батарейки вне досягаемости детей.









