Магнитолы Supra SWD-708 - инструкция пользователя по применению, эксплуатации и установке на русском языке. Мы надеемся, она поможет вам решить возникшие у вас вопросы при эксплуатации техники.
Если остались вопросы, задайте их в комментариях после инструкции.
"Загружаем инструкцию", означает, что нужно подождать пока файл загрузится и можно будет его читать онлайн. Некоторые инструкции очень большие и время их появления зависит от вашей скорости интернета.

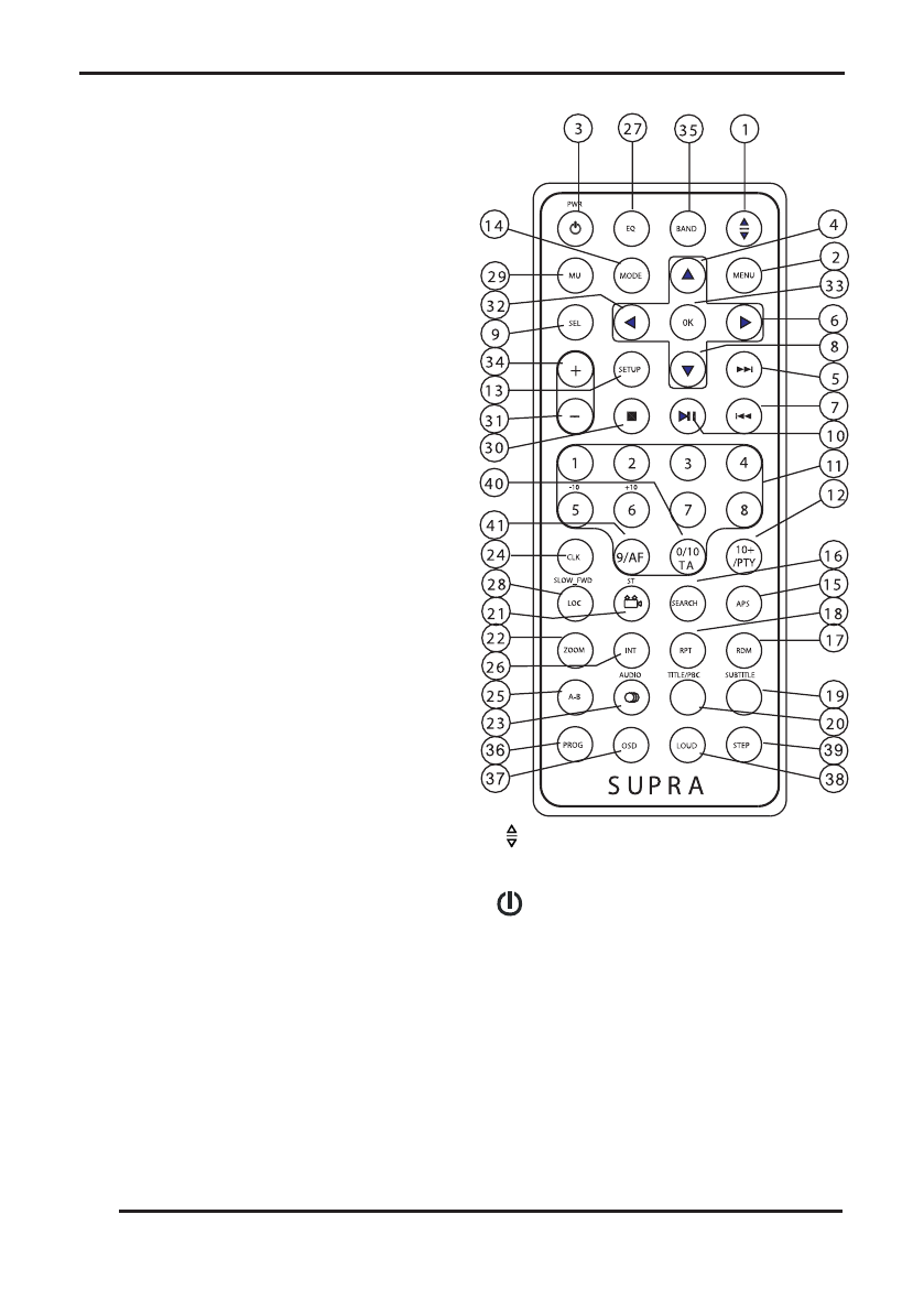
ПУЛЬТ ДИСТАНЦИОННОГО УПРАВЛЕНИЯ
Использование пульта ДУ
Перед первым использованием пульта ДУ откройте
отсек и удалите из него изолирующую пленку.
Направляйте пульт ДУ на окошко приёма инфра-
красных сигналов на передней панели устройства.
Пульт ДУ работает на расстоянии до 2 м под углом
до 30 градусов в любом направлении.
Пульт ДУ может не работать, если на окошко при-
ёма сигналов направлен прямой солнечный свет.
Пульт ДУ требует бережного отношения. Не бросай-
те, не роняйте и не ударяйте пульт ДУ.
Запрещается подвергать пульт ДУ воздействию
влаги, высоких температур или прямых солнечных
лучей.
Не храните пульт ДУ рядом с продуктами или в ме-
стах скопления пыли.
Не носите пульт ДУ в кармане брюк.
Кнопки пульта ДУ
1. Кнопка регулировки положения монитора
2.
MENU
Кнопка перехода в меню диска
3.
PWR
Кнопка включения/выключения аппарата
4.
F
Кнопка перехода вверх по меню
5.
O
Кнопка перехода к следующему заголовку/
главе/дорожке / поиска радиостанций вверх по
диапазону
6.
D
Кнопка перехода вправо по меню
7.
P
Кнопка перехода к предыдущему заголов-
ку/главе/дорожке / поиска радиостанций вниз
по диапазону
8.
G
Кнопка перехода вниз по меню
9.
SEL
Кнопка выбора аудио настроек
10