Магнитолы Sony MDX-C8970R - инструкция пользователя по применению, эксплуатации и установке на русском языке. Мы надеемся, она поможет вам решить возникшие у вас вопросы при эксплуатации техники.
Если остались вопросы, задайте их в комментариях после инструкции.
"Загружаем инструкцию", означает, что нужно подождать пока файл загрузится и можно будет его читать онлайн. Некоторые инструкции очень большие и время их появления зависит от вашей скорости интернета.

13
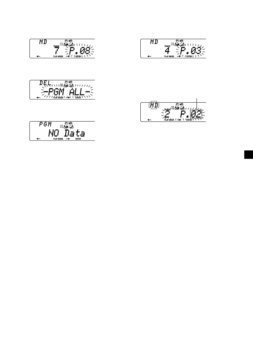
Стирание всей программы
1
Нажмите клавишу
(SHIFT)
, а затем
нажмите на две секунды клавишу
(4)
(PLAY MODE).
2
Нажмите клавишу
(2)
(
T
) несколько
раз до появления надписи “DEL”.
3
Нажмите на две секунды клавишу
(6)
(ENTER).
Программа полностью стерта.
4
После завершения стирания
программы нажмите на две секунды
клавишу
(4)
(PLAY MODE).
5
Нажмите
(SHIFT)
.
Добавление дорожек к программе
1
Нажмите клавишу
(SHIFT)
, а затем
нажмите на две секунды клавишу
(4)
(PLAY MODE).
2
Для выбора номера позиции, на
которую Вы хотите вставить
дорожку, нажмите
(2)
(
T
) или
(5)
(
t
).
Номер позиции участка
3
Перемещением рычажка SEEK/AMS
вверх или вниз выберите дорожку,
которую Вы хотите вставить.
4
Нажмите клавишу
(6)
(ENTER), чтобы
ввести дорожку в память.
Данная дорожка вводится в память под
этим номером, а все последующие
дорожки перемещаются ниже.
5
Для того чтобы продолжить
установку дорожек, повторите
операции 2 - 4.
Примечание
Когда все 24 участка заполнены, на дисплее
загорается надпись “
*
Mem Full
*
”, т.е. больше
дорожек вставить нельзя.
6
После того как Вы закончили
вставлять дорожки, нажмите на две
секунды клавишу
(4)
(PLAY MODE).
7
Нажмите
(SHIFT)
.
Содержание
- 3 Содержание
- 4 Примечания о MD; О наклеивании этикеток; предназначенном для этого месте.; О пользовании MD
- 5 Программная память CD; Расположение органов управления; Пролистывание
- 6 Клавиша OFF
- 7 Снятие передней панели; Нажмите клавишу; Установка передней панели; Наложите отверстие
- 8 Установка часов; Нажмите сначала
- 9 Проигрыватель MD; Прослушивание MD; Закройте переднюю панель.; дисплее не появится надпись “MD”.; Нажмите; Остановить; Нажмите
- 10 Изменение параметров дисплея; При каждом нажатии Вами клавиши; В случае нажатия Вами; Нажимайте
- 11 вновь воспроизводится данная дорожка.
- 12 Создание программы; MD Память программы
- 13 Стирание всей программы; Программа полностью стерта.; Добавление дорожек к программе
- 14 Стирание дорожек из программы; Радиоприемник
- 16 RDS; Обзор функций RDS; При каждом нажатии Вами
- 17 Последовательно нажимайте; Изменение показаний дисплея
- 18 до
- 19 Прием чрезвычайных сообщений
- 20 Загорается; Для отмены функции TIR; Воспроизведение дорожной информации
- 22 Чтобы отключить функцию “СТ”
- 23 на поворотном; SONY; и радиостанцию. После; Нажмите и удерживайте клавишу
- 26 DSP; Настройка эквалайзера; Выбор кривой эквалайзера
- 28 Меню звукового поля; Выбор режима DSO; Нажатием клавиши; Реверберация; Нажмите на две секунды клавишу
- 29 Подстройка режима DSO
- 30 ) и поверните регулятор на
- 31 Прочие функции
- 32 Изменение рабочего направления; • Найти нужную дорожку на диске.; Прочие операции
- 33 Приглушение звука
- 34 контрастность, а нажатие кнопки; Выбор типа настройки
- 35 Если Вы нажимаете; Во время воспроизведения нажмите; по
- 36 — Повтор воспроизведения; Начинается повторное воспроизведение.; Перетасованное воспроизведение; • Shuf 2 – для воспроизведения всех
- 39 — Программная память CD; Найдя нужный знак, нажмите; Если Вы нажмете кнопку; Повторите операции; При каждом нажатии
- 41 с заданным параметром “Play”.
- 42 Технический уход; Замена плавкого предохранителя; Предостережения; • Если Ваша машина была запаркована на; О конденсации влаги
- 43 Очистка контактов; Передняя крышка снята.
- 44 Технические характеристики; Секция проигрывателя MD
- 45 Инструкции по устранению неполадок; Общие проблемы
- 46 Функции RDS; Функции DSP; Проблема












