Магнитолы Pioneer DEX-P9R - инструкция пользователя по применению, эксплуатации и установке на русском языке. Мы надеемся, она поможет вам решить возникшие у вас вопросы при эксплуатации техники.
Если остались вопросы, задайте их в комментариях после инструкции.
"Загружаем инструкцию", означает, что нужно подождать пока файл загрузится и можно будет его читать онлайн. Некоторые инструкции очень большие и время их появления зависит от вашей скорости интернета.

82
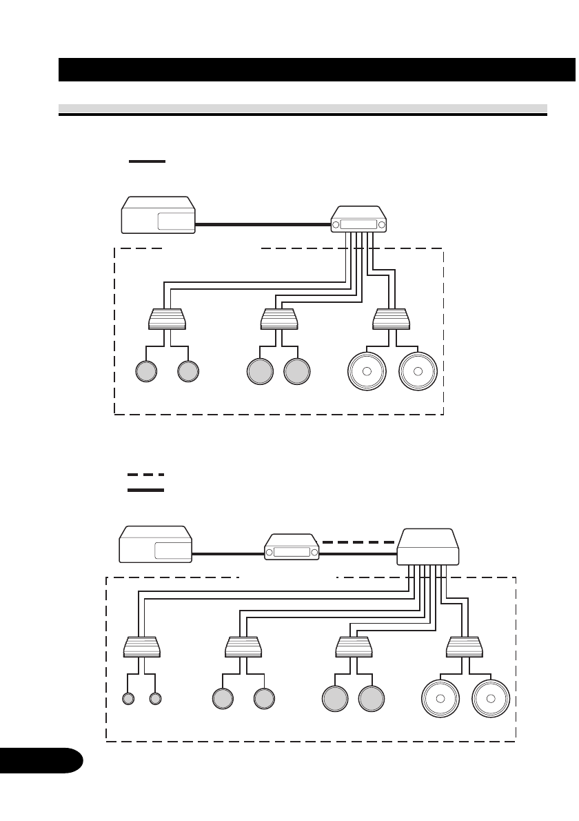
Пример установки
Подключение без использования эквалайзера (DEQ-P9)
Ïîäêëþ÷åíèå àïïàðàòîâ
Êàáåëü IP-BUS
Ìíîãîäèñêîâûé ïðîèãðûâàòåëü êîìïàêò-
äèñêîâ (ïðèîáðåòàåòñÿ îòäåëüíî)
DEX-P9R
Óñèëèòåëü ñî
âõîäîì RCA
Ôðîíòàëüíûé
äèíàìèê
Òûëîâîé äèíàìèê
Ñàáâóôåð
Подключение с использованием эквалайзера (DEQ-P9)
Îïòè÷åñêèé êàáåëü
Êàáåëü IP-BUS
Ïðîèãðûâàòåëü Ìàëòè-ÊÄ
(ïðèîáðåòàåòñÿ îòäåëüíî)
DEX-P9R
DEQ-P9 (ïðèîáðå-
òàåòñÿ îòäåëüíî)
Óñèëèòåëü ñî
âõîäîì RCA
Ôðîíòàëüíûé
òâèòòåð
Ôðîíòàëüíûé äèíà-
ìèê ñðåäíèõ ÷àñòîò
Ôðîíòàëüíûé
âóôåð
Ñàáâóôåð
Рис. 2
Рис. 3