Магнитолы Mystery MMD-3502 - инструкция пользователя по применению, эксплуатации и установке на русском языке. Мы надеемся, она поможет вам решить возникшие у вас вопросы при эксплуатации техники.
Если остались вопросы, задайте их в комментариях после инструкции.
"Загружаем инструкцию", означает, что нужно подождать пока файл загрузится и можно будет его читать онлайн. Некоторые инструкции очень большие и время их появления зависит от вашей скорости интернета.

-18-
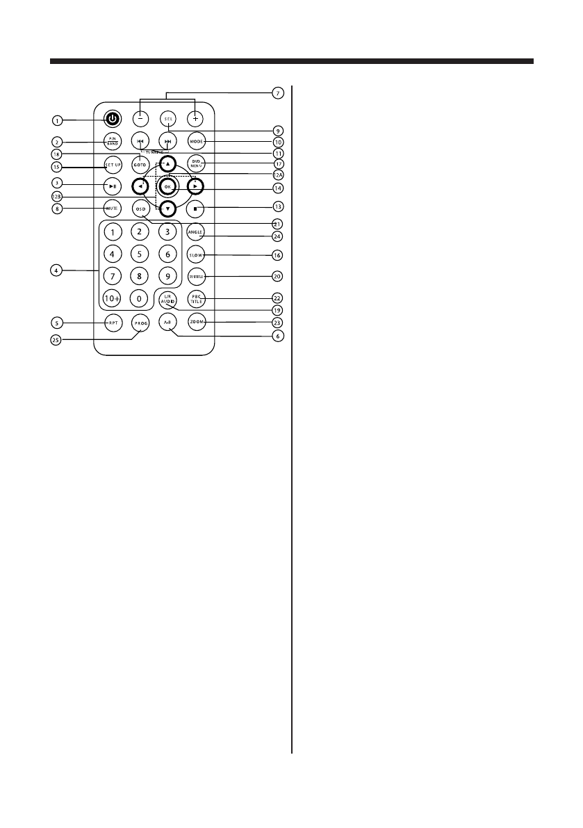
1.
o
Кнопка включения/выключения реси-
вера
2. P/N BAND Кнопка переключения между
режимами PAL/SECAM в режиме ТВ/
Кнопка выбора частотного диапазона в
режиме FM
3.
DU
Кнопка начала/временной приоста-
новки воспроизведения
4. 0 – 9/10+ Кнопки с цифрами
5. REPEAT Кнопка повторного воспроизве-
дения
6. A-B Кнопка повторного воспроизведе-
ния выбранного фрагмента
7. VOL+/- Кнопки регулировки уровня гром-
кости/установки настроек звука
8. MUTE Кнопка мгновенного выключения
звука
9. SEL Кнопка выбора настроек звука
10. MODE Кнопка выбора режима работы
11.
O P
Кнопки ручной настройки на стан-
ции / перехода к последующей/предыду-
щей дорожке
12А.
D E
Кнопки перемещения влево/вправо
12В.
F G
Кнопки перемещения вверх/вниз
13.
H
Кнопка остановки воспроизведения
14. OK Кнопка подтверждения
15. SETUP Кнопка меню настроек проигры-
вателя
16. SLOW Кнопка замедленного воспроизве-
дения
17. DVD MENU Кнопка доступа к меню DVD
диска
18. GOTO Кнопка для выбора фрагмента
19. L/R/AUDIO Кнопка выбора левого/право-
го канала / кнопка выбора аудио языка во
время работы режима DVD воспроизве-
дения
20. SUBTITLE Кнопка выбора субтитров
21. OSD Кнопка вывода на дисплей стати-
стической информации о диске
22. РВС/TITLE Кнопка включения функции
управления воспроизведением/доступа
к меню названий на DVD диске
23. ZOOM Кнопка увеличения/уменьшения
изображения
24. ANGLE Кнопка изменения угла просмо-
тра сцены на DVD диске
25. PROGRAM Кнопка воспроизведения до-
рожек в запрограммированном порядке
РУКОВОДСТВО ПО ЭКСПЛУАТАЦИИ
Содержание
- 2 РУКОВОДСТВО ПО ЭКСПЛУАТАЦИИ
- 3 МЕРЫ ПРЕДОСТОРОЖНОСТИ
- 4 Очистка передней панели и ЖК-экрана
- 5 - Не храните диски в местах попадания; Очистка диска; Не касайтесь рабочей поверхности диска.; Обращение с новыми дисками; Неровности на внешней кромке
- 8 Поддержка внешних жестких дисков
- 9 УПРАВЛЕНИЕ МР3 ВОСПРОИЗВЕДЕНИЕМ; Примечание по созданию собственных
- 11 Порядок установки
- 14 - Не прикасайтесь руками или другими
- 15 Тыльная сторона головного устройства
- 17 P O
- 20 Регулировка уровня громкости
- 21 Выбор ТВ канала для просмотра; O P
- 23 Извлечение диска; DU; Обзорное воспроизведение
- 24 Остановка воспроизведения; Используйте кнопки пульта ДУ; Подтверждение выбора; В. При помощи кнопок перемещения
- 26 Подключение USB устройства; Аккуратно вставьте USB устройство в
- 30 штаб изображения увеличится в 3 раза.; Замедленное воспроизведение; А. Нажмите кнопку SLOW на пульте ДУ
- 32 Выбор языка субтитров; Нажмите кнопку OSD на пульте ДУ для
- 33 При помощи кнопок пульта ДУ
- 37 FM