Магнитолы Mystery MMD-3002S - инструкция пользователя по применению, эксплуатации и установке на русском языке. Мы надеемся, она поможет вам решить возникшие у вас вопросы при эксплуатации техники.
Если остались вопросы, задайте их в комментариях после инструкции.
"Загружаем инструкцию", означает, что нужно подождать пока файл загрузится и можно будет его читать онлайн. Некоторые инструкции очень большие и время их появления зависит от вашей скорости интернета.

-18-
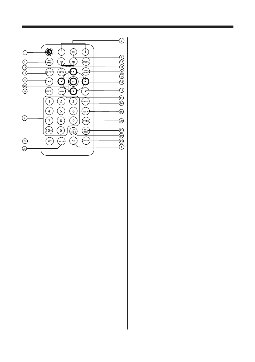
1.
o
Кнопка включения/выключения реси-
вера
2. P/N BAND Кнопка переключения между
режимами PAL/SECAM в режиме ТВ/
Кнопка выбора частотного диапазона в
режимеFM
3.
DU
Кнопка начала/временной приоста-
новкивоспроизведения
4. 0–9/10+Кнопкисцифрами
5. REPEAT Кнопка повторного воспроизве-
дения
6. A-B Кнопка повторного воспроизведе-
ниявыбранногофрагмента
7. VOL+/-Кнопкирегулировкиуровнягром-
кости/установкинастроекзвука
8. MUTE Кнопка мгновенного выключения
звука
9. SELКнопкавыборанастроекзвука
10. MODEКнопкавыборарежимаработы
11.
O P
Кнопкиручнойнастройкинастан-
ции/переходакпоследующей/предыду-
щейдорожке
12А.
D E
Кнопкиперемещениявлево/вправо
12В.
F G
Кнопкиперемещениявверх/вниз
13.
H
Кнопкаостановкивоспроизведения
14. OKКнопкаподтверждения
15. SETUP Кнопка меню настроек проигры-
вателя
16. SLOWКнопказамедленноговоспроизве-
дения
17. DVD MENU Кнопка доступа к меню DVD
диска
18. GOTOКнопкадлявыборафрагмента
19. L/R/AUDIOКнопкавыборалевого/право-
гоканала/кнопкавыборааудиоязыкаво
время работы режима DVD воспроизве-
дения
20. SUBTITLEКнопкавыборасубтитров
21. OSD Кнопка вывода на дисплей стати-
стическойинформацииодиске
22. РВС/TITLE Кнопка включения функции
управления воспроизведением/доступа
кменюназванийнаDVDдиске
23. ZOOM Кнопка увеличения/уменьшения
изображения
24. ANGLE Кнопка изменения угла просмо-
трасценынаDVDдиске
25. PROGRAM Кнопка воспроизведения до-
рожеквзапрограммированномпорядке
РУКОВОДСТВО ПО ЭКСПЛУАТАЦИИ
Содержание
- 3 Меры предосторожности
- 4 очистка передней панели и жК-экрана
- 8 Поддержка внешних жестких дисков
- 9 УпрАВЛение Мр3 ВоспроиЗВедениеМ; Примечание по созданию собственных
- 10 - диски, созданные в формате Packet
- 11 порядок установки
- 12 порядок извлечения; В) Вставьте до упора ключи, входящие в; Установка/извлечение диска
- 15 тыльная сторона головного устройства
- 17 PO
- 21 Выберите необходимый частотный ди-; Выбор ранее сохраненной станции; Выберите необходимый частотный; сканирование всех станций; - Автоматическая настройка станций
- 22 DU
- 23 остановка воспроизведения; Используйте кнопки пульта ДУ; подтверждение выбора; В. При помощи кнопок перемещения
- 26 подключение USB устройства; Месторасположение USB входа указа-; остановка
- 32 При помощи кнопок пульта ДУ
- 36 FM; тВ