Магнитолы Mystery MDD-4300 - инструкция пользователя по применению, эксплуатации и установке на русском языке. Мы надеемся, она поможет вам решить возникшие у вас вопросы при эксплуатации техники.
Если остались вопросы, задайте их в комментариях после инструкции.
"Загружаем инструкцию", означает, что нужно подождать пока файл загрузится и можно будет его читать онлайн. Некоторые инструкции очень большие и время их появления зависит от вашей скорости интернета.

-15-
1. Кнопка снятия передней панели
2.
o
Кнопка включения/выключения реси-
вера
3. MUTE Кнопка мгновенного выключения
звука
4. MODE Кнопка выбора режима работы
ресивера
5. BAND Кнопка выбора частотного диапа-
зона/включения тонкомпенсации/пере-
ключения между режимами PAL/NTSC
6. VOL Ручка регулировки уровня громко-
сти
7. SEL Кнопка выбора настроек звука/уста-
новки настроек звука
8. DISP Кнопка вывода на дисплей часов/
отображения ID-тегов
9. LOC Кнопка выбора режима приема
только станций с сильным сигналом
10. SCAN Кнопка сканирования AM/FM диа-
пазона
11. ИК приемник сигналов пульта ДУ
12.
Q
Кнопка извлечения диска
13. DSP Кнопка переключения характери-
стик тембра
14. AMS Кнопка автоматической настройки
на станцию/начала/ временной приоста-
новки воспроизведения
15.
P O
Кнопки ручной настройки на стан-
ции/перехода к последующей/предыду-
щей дорожке
16. MONO Кнопка выбора моно/стерео ре-
жима приема FM станций
ПУЛЬТ ДУ
7
9
10
1
2
16
18
5
6
3
S E L
2
3
4
5
6
7
8
9
S LO W
R P T
0
1 0 +
TU N N IN G
S E T U P
G O TO
MO D E
O S D
P /N
B A N D
D IS C
MEN U
O K
1
A N G LE
P B C
TI TL E
L/R
A U D IO
ZO O M
P R O G
A -B
SU BTI TLE
MU TE
4
11
8
12
15
14
13
17
19
20
21
22
23
24
25
26
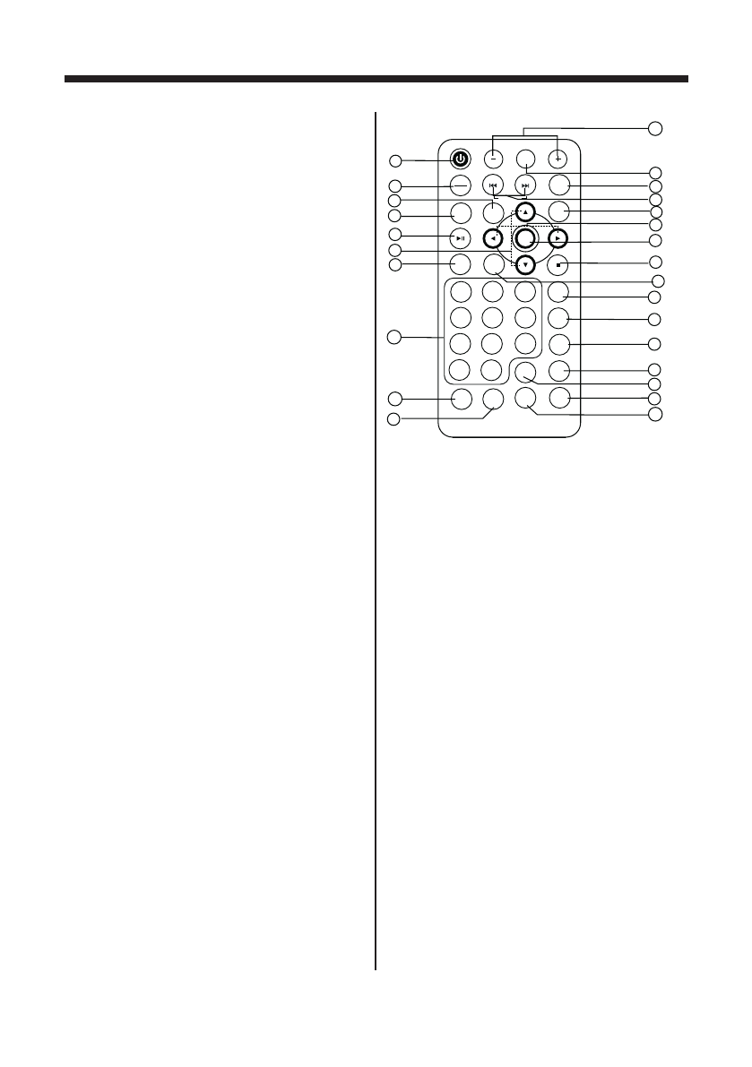
1. Кнопка включения/выключения ресиве-
ра
2. P/N/BAND Кнопка выбора частотного
диапазона в режиме FM
3.
B
Кнопка начала/временной приоста-
новки воспроизведения
4. 0-9/10+ Кнопки с цифрами
5. REPEAT Кнопка повторного воспроизве-
дения
6. А-В Кнопка повторного воспроизведе-
ния выбранного фрагмента
7. VOL+/- Кнопки регулировки уровня гром-
кости/установки настроек звука
8. MUTE Кнопка мгновенного выключения
звука
9. SEL Кнопка выбора настроек звука
10. MODE Кнопка выбора режима работы
11.
P O
Кнопки ручной настройки на стан-
ции/перехода к последующей/предыду-
щей дорожке
12.
E/D
Кнопки перемещения вправо/влево
13.
F/G
Кнопки перемещения вверх/вниз
РУКОВОДСТВО ПО ЭКСПЛУАТАЦИИ
Содержание
- 2 РУКОВОДСТВО ПО ЭКСПЛУАТАЦИИ
- 3 МеРы ПРеДОСТОРОжнОСТИ
- 4 Очистка передней панели и жК-экрана
- 8 Поддержка внешних жестких дисков
- 9 УПРАВЛенИе МР3 ВОСПРОИЗВеДенИеМ; Примечание по созданию собственных
- 10 - диски, созданные в формате Packet
- 11 Установка ресивера; Установка при помощи кронштейнов.
- 15 ПУЛЬТ ДУ; P O
- 16 Индикация текущего времени:; Мгновенное выключение звука
- 17 Volume – регулировка уровня громкости.; Регулировка уровня громкости
- 18 Настройки главного меню; Установка времени; - Кнопки настройки частоты
- 20 DU
- 22 Повторно нажмите кнопку пульта ДУ; Остановка воспроизведения; Используйте кнопки пульта ДУ; Подтверждение выбора; В. При помощи кнопок перемещения
- 23 Подключение USB устройства
- 24 Гнездо для карт SD/MMC находится в
- 26 УПРАВЛенИе DVD ДИСКАМИ
- 31 При помощи кнопок пульта ДУ
- 35 FM