Магнитолы Kenwood KDC-V6090R - инструкция пользователя по применению, эксплуатации и установке на русском языке. Мы надеемся, она поможет вам решить возникшие у вас вопросы при эксплуатации техники.
Если остались вопросы, задайте их в комментариях после инструкции.
"Загружаем инструкцию", означает, что нужно подождать пока файл загрузится и можно будет его читать онлайн. Некоторые инструкции очень большие и время их появления зависит от вашей скорости интернета.

2 6
1 5
Ñâîéñòâà RDS
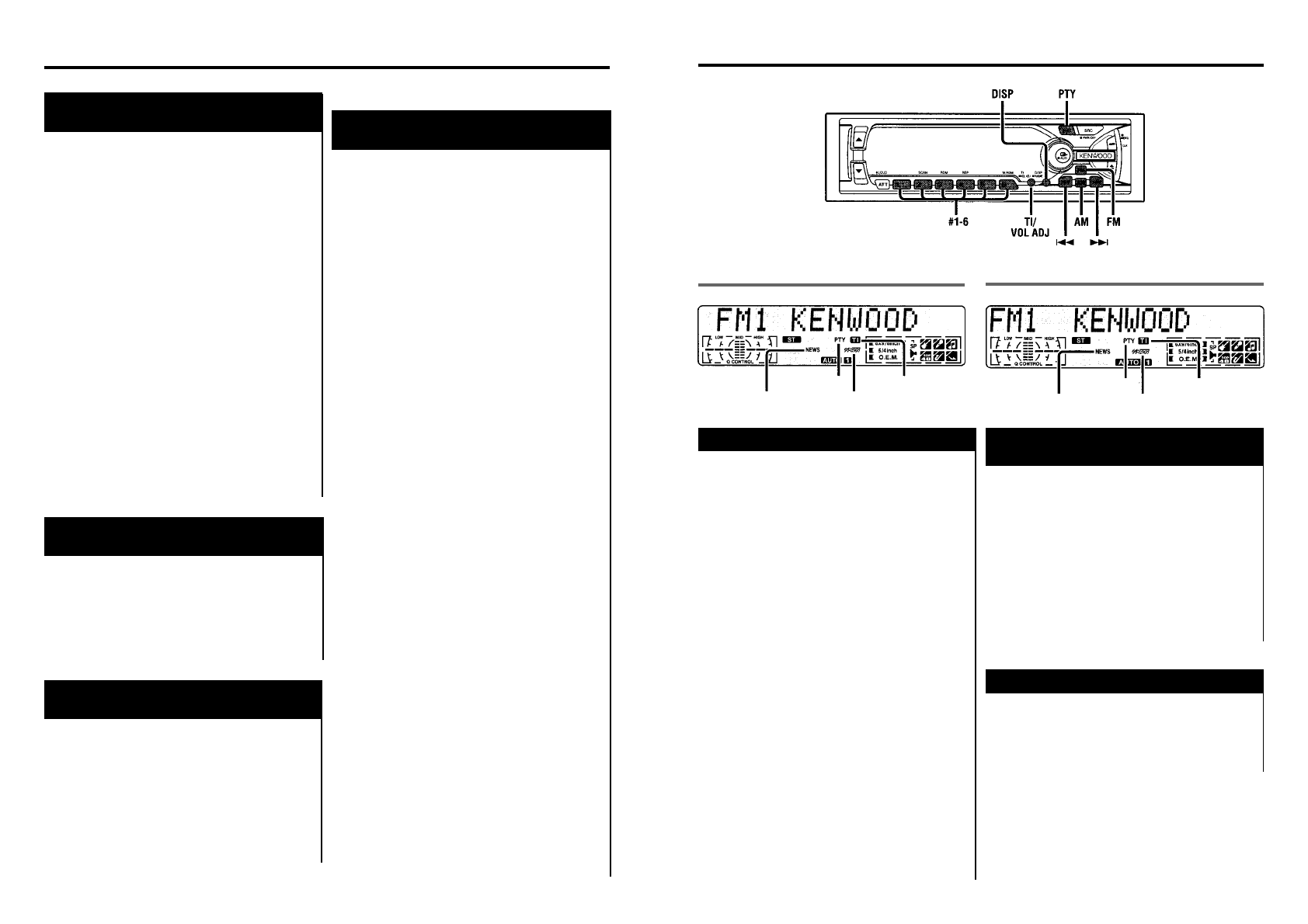
KDC-6090R/KDC-5090R
KDC-V6090R
Èíäèêàòîð PTY
Èíäèêàòîð ÒI
Èíäèêàòîð NEWS
Èíäèêàòîð RDS
Èíäèêàòîð PTY
Èíäèêàòîð ÒI
Èíäèêàòîð NEWS
Èíäèêàòîð RDS
RDS (Ñèñòåìà ðàäèîäàííûõ)
R D S ï ð å ä ñ ò à â ë ÿ å ò ñ î á î é ö è ô ð î â ó þ
èíôîðìàöèîííóþ ñèñòåìó, êîòîðàÿ ïî-
çâîëÿåò ïðèíèìàòü ñèãíàëû íå òîëüêî
ïîñòîÿííî äåéñòâóþùèõ ðàäèîâåùà-
òåëüíûõ ïðîãðàìì, íî è ñåòåâóþ èí-
ôîðìàöèþ, òðàíñëèðóåìóþ 4ðàäèî-
ñòàíöèÿìè. Ïðè ïðîñëóøèâàíèè ñòàí-
öèè RDS (ò.å. ñòàíöèè ñ âîçìîæíîñòÿ-
ìè RDS) íàðÿäó ñ ÷àñòîòîé íà äèñïëåå
âîñïðîèçâîäÿòñÿ ïîçûâíûå ïðîãðàì-
ìû ñòàíöèè, ÷òî äàåò âàì âîçìîæ-
íîñòü áûñòðî ïîíÿòü, êàêàÿ ñòàíöèÿ
ïðèíèìàåòñÿ.
Ê òîìó æå ñòàíöèè RDS (ñèñòåìû ðà-
äèîäàííûõ) ïåðåäàþò äëÿ òîé æå ñòàí-
öèè ÷àñòîòíóþ èíôîðìàöèþ. Ïðè äëè-
òåëüíûõ ïîåçäêàõ äàííàÿ ôóíêöèÿ àâ-
òîìàòè÷åñêè ïåðåêëþ÷àåòñÿ íà êîíê-
ðåòíóþ ÷àñòîòó, îáåñïå÷èâàþùóþ íàè-
ëó÷øèé ïðèåì äëÿ êîíêðåòíîé ðàäèî-
âåùàòåëüíîé ñåòè ñòàíöèé, êîòîðûå
âû õîòåëè áû ïðîñëóøàòü. Ïðè ýòîì
äàííûå àâòîìàòè÷åñêè çàïîìèíàþò-
ñÿ, ÷òî ïîçâîëÿåò âàì áûñòðî ïåðå-
êëþ÷àòüñÿ íà äðóãóþ ñòàíöèþ RDS,
òðàíñëèðóþùóþ òó æå ïðîãðàììó, íî
îáåñïå÷èâàþùóþ ëó÷øèé ïðèåì. Ê íèì
îòíîñÿòñÿ ñòàíöèè, õðàíÿùèåñÿ â ïà-
ì ÿ ò è ï ð å ä â à ð è ò å ë ü í î é ó ñ ò à í î â ê è
ñòàíöèé, êîòîðûå âû ïðèâûêëè ñëó-
ø à ò ü .
Enhanced Other Network
(Óëó÷øåííàÿ îñòàëüíàÿ ñåòü)
Ñòàíöèè, êîòîðûå ïðåäëàãàþò <En-
hanced Other Network>, òàêæå ïåðå-
äàþò èíôîðìàöèþ îá îñòàëüíûõ ñòàí-
öèÿõ RDS, êîòîðûå èìåþò èíôîðìà-
öèþ î ñèòóàöèè íà äîðîãàõ. Åñëè âû
íàñòðàèâàåòåñü íà ñòàíöèþ, êîòîðàÿ
íå ïåðåäàåò èíôîðìàöèþ î ñèòóàöèè
íà äîðîãàõ, íî äðóãàÿ ñòàíöèÿ RDS
í à ÷ è í à å ò ò ð à í ñ ë è ð î â à ò ü ò à ê ó þ è í -
ôîðìàöèþ, òþíåð àâòîìàòè÷åñêè ïå-
ðåêëþ÷àåòñÿ íà ýòó ñòàíöèþ íà âðåìÿ
èíôîðìàöèè î ñèòóàöèè íà äîðîãàõ.
Ýêñòðåííûå ñîîáùåíèÿ
Êîãäà ïîñûëàåòñÿ ñðî÷íîå ñîîáùå-
íèå (îïîâåùàþùåå î êàòàñòðîôàõ è
ò.ï.), âñå òåêóùèå ôóíêöèè ïðåðûâà-
þòñÿ, ïîçâîëÿÿ ïîëó÷èòü ïðåäóïðåæ-
ä å í è å .
Óñòàíîâêè ìåíþ
Ïåðåêëþ÷åíèå
ãðàôè÷åñêîé èíäèêàöèè
Àâòîìàòè÷åñêàÿ
íàñòðîéêà âðåìåíè
Âûáîð öâåòà ïîäñâåòêè
êíîïîê óïðàâëåíèÿ
Ñ ïîìîùüþ àâòîìàòè÷åñêîé íàñòðîé-
êè âðåìåíè âû ìîæåòå àâòîìàòè÷åñêè
âûñòàâëÿòü ÷àñû â ñîîòâåòñòâèè ñ ñèã-
íàëàìè òî÷íîãî âðåìåíè, ïåðåäàâàå-
ìûìè ñòàíöèÿìè RDS (ïîñëå ïîëó÷å-
íèÿ ñèãíàëîâ RDS â òå÷åíèå íåñêîëü-
êèõ ìèíóò). Âû òàêæå èìååòå âîçìîæ-
íîñòü óñòàíîâèòü âðåìÿ âðó÷íóþ, åñëè
ô ó í ê ö è ÿ à â ò î ì à ò è ÷ å ñ ê î é í à ñ ò ð î é ê è
âðåìåíè îòêëþ÷åíà.
Äèñïëåé è óñòàíîâêà:
«SYNC ON»: Àâòîìàòè÷åñêàÿ íàñòðîéêè âðå-
ìåíè (ñòàíäàðòíàÿ íàñòðîéêà)
«SYNC OFF»: Ðó÷íàÿ íàñòðîéêè âðåìåíè
Àâòîìàòè÷åñêàÿ íàñòðîéêà âðåìåíè:
Íà 3-4 ìèíóòû íàñòðîéòåñü íà ñòàíöèþ RDS.
Ïðîèçîéäåò àâòîìàòè÷åñêàÿ íàñòðîéêà âðå-
ìåíè îòíîñèòåëüíî òî÷íîãî ìåñòíîãî âðåìå-
íè.
ÏÐÈÌÅ×ÀÍÈÅ
Åñëè âûáðàííàÿ âàìè ñòàíöèÿ RDS íå ïåðåäàåò
ñèãíàëîâ òî÷íîãî âðåìåíè, âðåìÿ íå íàñòðàèâà-
åòñÿ.  ýòîì ñëó÷àå ñëåäóåò âûáðàòü äðóãóþ
ñòàíöèþ RDS.
 û ì î æ å ò å ï å ð å ê ë þ ÷ è ò ü ö â å ò ï î ä -
ñâåòêè êíîïîê ñ çåë¸íîãî íà êðàñíûé.
Äèñïëåé è óñòàíîâêà:
«Button Green»: Çåë¸íûé öâåò ïîäñâåòêè.
«Button Red»: Öâåò ïîäñâåòêè êíîïîê - êðàñ-
íûé.
Ý ò à ô ó í ê ö è ÿ ï î ç â î ë ÿ å ò î ò ê ë þ ÷ è ò ü
íèæíþþ ÷àñòü ýêðàíà äèñïëåÿ â ñëó-
÷àå ïåðåãðóçêè åãî èíôîðìàöèåé.
Äèñïëåé è óñòàíîâêà:
«Graphic ON»: Ïðè âêëþ÷åíèè äèñïëåÿ ðàáî-
òàåò âåñü ýêðàí (ñòàíäàðòíàÿ íàñòðîéêà).
«Graphic OFF»: Ïðè âêëþ÷åíèè äèñïëåÿ ðà-
áîòàåò òîëüêî âåðõíÿÿ ÷àñòü ýêðàíà è èíäè-
êàòîð IN.
Èçìåíåíèå öâåòà
ïîäñâåòêè äèñïëåÿ
Ôóíêöèÿ ìîäåëè KDC-V6090R
Âû ìîæåòå óñòàíîâèòü íóæíûé Âàì
öâåò äèñïëåÿ.
Äèñïëåé è óñòàíîâêà:
1
Âûáåðèòå «Color» äèñïëåÿ âî âðåìÿ âûáîðà
ôóíêöèè â ñèñòåìå ìåíþ.
2
Äëÿ òîãî, ÷òîáû óñòàíîâèòü öâåò â
ðó÷íîì ðåæèìå:
Íàæìèòå è óäåðæèâàéòå â íàæàòîì ñîñòîÿíèè
êíîïêó I<< èëè >>I.
Íàæàòèå êíîïêè >>I óâåëè÷èâàåò íàñûùåííîñòü
öâåòà, íàæàòèå êíîïêè I<< - óìåíüøàåò åãî.
Êîãäà áóäåò âûáðàí íóæíûé öâåò, îòïóñòèòå
íàæàòóþ êíîïêó.
3
Âûçîâ ëþáèìûõ öâåòîâ (çàìåíà çà-
ðàíåå óñòàíîâëåííîãî öâåòà):
Íàæìèòå êíîïêó ïðåäóñòàíîâêè (#1-4), ñîîò-
âåòñòâóþùóþ íåîáõîäèìîìó öâåòó.
Êíîïêè #1-4 çàïðîãðàììèðîâàíû íà ñëåäóþ-
ùèå öâåòà:
#1: Áåëûé
#2: Êðàñíûé
#3: Ãîëóáîé
#4: Ñèíå-çåë¸íûé
4
Ïåðåêëþ÷åíèå öâåòîâ â çàâèñèìîñ-
ò è î ò ñ è ò ó à ö è è ( ñ è ò ó à ö è î í í û é ð å -
æèì):
Êàæäûé ðàç, êîãäà Âû íàæèìàåòå êíîïêó #6,
ðåæèì ïåðåêëþ÷àåòñÿ â ñëåäóþùåì ïîðÿäêå:
... ðåæèì ñêàíèðîâàíèÿ - ðåæèì SRC (èçìåíå-
íèå öâåòîâ çàâèñèò îò ïðîèãðûâàåìîãî â äàí-
íûé ìîìåíò èñòî÷íèêà) - ðåæèì âðåìåíè (öâåò
èçìåíÿåòñÿ ÷åðåç êàæäûå øåñòü ÷àñîâ) - ñèòó-
àöèîííûé ðåæèì îòêëþ÷åí - ...
Åñëè ñèòóàöèîííûé ðåæèì îòêëþ÷åí, âîçîá-
íîâëÿåòñÿ èñõîäíàÿ óñòàíîâêà öâåòîâ.
5
Äëÿ òî÷íîé íàñòðîéêè ãîëóáîãî öâå-
òà (ðåæèì íàñòðîéêè ãîëóáîãî öâåòà):
Íàæìèòå êíîïêó #3 êàê ìèíèìóì íà îäíó
ñåêóíäó äëÿ ââîäà ðåæèìà íàñòðîéêè ãîëóáîãî
öâåòà. Êíîïêè I<< è >>I èñïîëüçóþòñÿ ñîîòâåò-
ñòâåííî äëÿ íàñòðîéêè
îòòåíêîâ ãîëóáîãî öâåòà.
Íàæìèòå êíîïêó #3 äëÿ îêîí÷àíèÿ ðàáîòû
ðåæèìà íàñòðîéêè ãîëóáîãî öâåòà.
6
Äëÿ ââåäåíèÿ â ïàìÿòü óñòàíîâîê
öâåòà (ïàìÿòü ïðåäóñòàíîâîê öâåòà)
Ïîñëå óñòàíîâêè öâåòîâ ïîäñâåòêè, íàæìèòå
êíîïêó #5 íà äâå ñåêóíäû, ÷òîáû ââåñòè â
ïàìÿòü óñòàíîâêè öâåòîâ. Ïîâòîðíîå íàæàòèå
êíîïêè #5 âûçûâàåò óñòàíîâêè öâåòîâ, çàëî-
æåííûå â ïàìÿòü.












