Магнитолы Kenwood KDC-MP3043 - инструкция пользователя по применению, эксплуатации и установке на русском языке. Мы надеемся, она поможет вам решить возникшие у вас вопросы при эксплуатации техники.
Если остались вопросы, задайте их в комментариях после инструкции.
"Загружаем инструкцию", означает, что нужно подождать пока файл загрузится и можно будет его читать онлайн. Некоторые инструкции очень большие и время их появления зависит от вашей скорости интернета.

10
|
KDC-MP443/KDC-MP3043/KDC-MP343/KDC-MP243/KDC-MP243SW
Меню
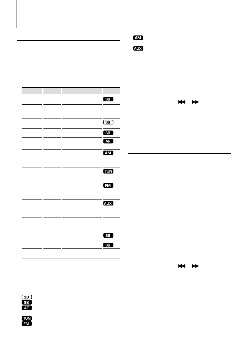
Система меню
В меню вы можете настроить различные фун-
кции ресивера.
1 Переключите ресивер в режим меню
Нажмите кнопку поиска на 1 секунду.
На дисплее будет отображаться
сообщение“MENU”.
2
Выберите параметр меню
Нажимайте кнопки [FM+] или [AM–].
Индикация Установка Описание
Источник
“CODE SET”/
“CODE CLR”
См. стр.
10/11
Установка/сброс кода безо-
пасности (KDC-MP443).
“DIM”
ON/OFF*
Регулировка яркости дис-
плея в зависимости от
освещения.
—
“ICON”
ON1/ON2*/
OFF
Установка графического
режима дисплея.
“SWPRE”
R*/ SW
Настройка выхода пред-
усилителя.
“SPRM”
ON*/OFF
Включение/выключение
функции Supreme.
“LO.S”*
1
ON/OFF*
Автоматический поиск осу-
ществляется только среди
радиостанций с хорошим
приемом.
“AUTO1”*/
“AUTO2”/
“MANUAL”
AUTO1*/
AUTO2/
MANUAL
Выбор режима настройки
радиостанций.
“CRSC”
OFF/ON*
Переключение в режим
моно для уменьшения
шумов при плохом каче-
стве приема.
“NAME SET” См. стр. 11 Настройка дисплея при
переключении на внешний
источник, подключенный
ко входу AUX.
“SCL”
AUTO*/
MANU
Выбор режима пролисты-
вания текста (автоматиче-
ски/вручную).
—
“AUX”
OFF/ON1*/
ON2
Отображение названия AUX
во время выбора источника.
“CD READ”
1*/2
Выбор режима чтения CD.
“DEMO”
См. стр. 12 Включение/выключение
режима демонстрации.
—
*Режим, установленный по умолчанию
*
1
Функция KDC-MP243SW
Отображение на дисплее зависит от выбран-
ного источника. Пиктограмма в последней
колонке показывает, при выборе какого источ-
ника отображается параметр.
: Может быть установлен не в режиме ожидания.
: Может быть установлен в режиме ожидания.
: Может быть установлен в режиме воспроизве-
дения аудиофайлов.
: Может быть установлен в режиме тюнера.
: Может быть установлен в режиме приема
радиостанций диапазона FM.
Функция KDC-MP443
Активация кода безопасности
С установленным кодом безопасности снижается
вероятность кражи ресивера, т.к. при включении
требуется ввести код безопасности.
• Вы можете установить 4-значный код по своему выбору.
• Код безопасности не отображается на дисплее.
Запишите его и сохраните в надежном месте.
1
Переключите ресивер в режим ожидания
Нажмите кнопку [SRC].
Выберите индикацию “STANDBY” .
2
Войдите в режим меню
Нажмите кнопку поиска на 1 секунду.
После отображения сообщения “MENU” поя-
вится сообщение “CODE SET”.
3
Войдите в режим установки кода безопас-
ности
Нажмите ручку [AUD] на 1 секунду.
После отображения сообщения “ENTER” поя-
вится сообщение “CODE”.
4
Выберите позицию цифры
Нажимайте кнопки [
]/[
].
5
Выберите цифру кода
Нажимайте кнопки [FM+] или [AM–].
6
Для завершения ввода кода безопасности
повторите шаги 4 и 5.
7
Подтвердите ввод кода безопасности
Нажмите ручку [AUD] на 3 секунды.
После отображения сообщения “RE-ENTER”
появится сообщение “CODE”.
8
Повторите шаги 4-7 и повторно введите код
безопасности.
Появится сообщение “APPROVED” .
Функция кода защиты активирована.
: Может быть установлен в режиме приема
радиостанций диапазона AM.
: Может быть установлен, когда выбран внеш-
ний источник AUX.
— : Может быть установлен в любом режиме.
• Информация об установке параметров различных
функций приведена на соответствующих страницах.
• Подробное описание параметров меню приведено
в разделе <Приложение> на странице 14.
3
Установите значение выбранного параметра
Нажимайте кнопки [
]/[
].
4
Выйдите из режима меню
Нажмите кнопку поиска.
Содержание
- 3 Перед использованием; ПРЕДУПРЕЖДЕНИЕ
- 4 Общие функции; Испольльзуется для включения питания.; Отключение звука при входящем звонке; Воспроизведение возобновится, если во время; Базовые функции
- 5 Русский; Функции тюнера; Функции воспроизведения дисков; Воспроизведение: Слот для диска; из папки в случайном порядке.
- 6 Основные функции; Регулировка параметров звучания; Выход из режима регулировки параметров звучания; Нажимте любую кнопку.; Настройка звука; Настройка акустической системы; Выбор типа акустической системы позволяет; Переключение дисплея; Вы можете выбирать информацию, отображае
- 7 В ждущем режиме/режиме внешнего источника; Информация; Установка времени вручную; Выберите режим отображения часов; Изображение на дисплее начнет мигать.; Установите цифру часов
- 8 Тюнер; Установка шага настройки; Вы можете изменить шаг настройки частоты.; Выключите ресивер
- 9 Проигрыватель музыкальных дисков/аудиофайлов; Функция пульта дистанционного управления; Прямой выбор трека/файла; Отмена прямого выбора трека; Прямой выбор диска; Отмена прямого выбора диска; Поиск аудиофайла; Вы можете выбрать композицию, которую хоти; Операция; Перемещение между; Вы можете выбрать композицию, которую хотите; выше выбранной в данный момент.
- 10 Меню; Система меню; В меню вы можете настроить различные фун-; Активация кода безопасности; Выберите индикацию “STANDBY” .; Нажмите кнопку поиска на 1 секунду.; Нажмите кнопку поиска.
- 11 Установка названия внешнего входа; Ввод кода защиты при первом использовании; Отключение кода безопасности
- 12 Настройка режима демонстрации; Вы можете включить или выключить режим; Войдите в режим меню; Появится сообщение “MENU”.; Выберите режим демонстрации; Выберите индикацию; Установите режим демонстрации; Каждое такое нажатие на 2 секунды включает; Индикация; “DEMO ON”
- 13 Повторное нажатие кнопки; прежнюю настройку громкости; Управление звучанием; Управление тюнером; Основные функции пульта дистанционного управления; Управление проигрывателем; • Не оставляйте пульт ДУ в местах с повышенной; Установка и замена батарей; Используйте две батареи типоразмера “AA”/ “R6”.; ATT
- 14 Приложение; Информация об аудиофайлах; • Поддерживаемы типы файлов; В примере файлового каталога, приведенного; Вы можете найти инструкцию об аудиофайлах; Использование опционального устрой-
- 15 Глоссарий; • Чтение CD; Маркировка изделий, использующих; CLASS 1
- 16 Принадлежности/ Процедура установки; Принадлежности; подключаемые к этому устройству
- 17 Подключение проводов к соединительным гнездам
- 18 Установка; Не-японские автомобили; Извлечение жесткой резиновой; Вставьте выступы на ключах для снятия и осво; Извлечение устройства; Прочтите раздел <Извлечение жесткой рези
- 19 Возможные неисправности; Иногда проблемы в работе ресивера могут быть; Слабый прием радиостанций.; Проигрыватель компакт-дисков; Выбранный диск не воспроизводится, вместо; Воспроизведение аудиофайлов; При воспроизведении аудиофайлов звук пре-; бражаются на дисплее, показывая
- 20 Технические характеристики