Магнитолы JVC KW-AVX825 - инструкция пользователя по применению, эксплуатации и установке на русском языке. Мы надеемся, она поможет вам решить возникшие у вас вопросы при эксплуатации техники.
Если остались вопросы, задайте их в комментариях после инструкции.
"Загружаем инструкцию", означает, что нужно подождать пока файл загрузится и можно будет его читать онлайн. Некоторые инструкции очень большие и время их появления зависит от вашей скорости интернета.

50
TÜRKÇE
Aşağıdaki kablo ya da adaptörü kullanarak iPod/iPhone bağlayabilirsiniz:
Nereye
Kablo/adaptör
Çalıştırmak için
Müzik dinlemek
USB 2.0 kablosunu (iPod/iPhone aksesuarı)
ünitenin arkasından USB kablosuna.
Aşağıda “USB kablosuyla
bağlandığında”ya bakınız.
iPod, KS-PD100 (verilmez) arabirim adaptörünü
ünitenin arkasındaki CD şarj cihazı prizine.
Bkz. “Arabirim adaptörüne bağlandığında”
(
51).
Video izlemek
iPod/iPhone, KS-U30 (verilmez) USB Ses ve Video
kablosunu ünitenin arkasından USB kablosuna
takın.
Aşağıda “USB kablosuyla bağlandığında”
ya bakınız.
• <
AV Input
> (AV Girişi) için <
iPod
(Off)
> seçeneğinin belirlendiğinden
emin olun,
18.
USB kablosuyla bağlandığında
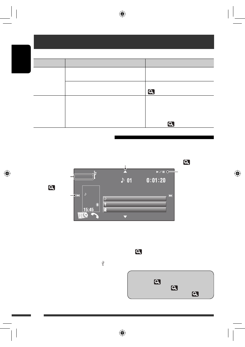
Aşağıda anlatılan işlem “HEAD MODE” başlığı altındadır.
iPod/iPhone dinleme
FLAT
REPEAT
SOURCE
Current Track Title
Artist Name
Album Title
HEAD MODE
iPod
Oynatma işlemini
başlatır/duraklatır
• Kategorinin bir önceki /sonraki öğesine taşır
*
1
• <
Search Mode
> (Arama Modu) menüsüne girer
(Basılı tutun)
(
24 )
• Bir işlem/video seçer
• Geri/ileri arama
(Basılı tutun)
~
[SOURCE] tuşuna, ardından [USB iPod]
tuşuna basın.
Oynatma otomatik olarak başlar.
• iPod/iPhone’u USB terminaline bağladığınızda,
“
USB iPod
” kaynak olarak seçilir ve oynatma
otomatik olarak başlar.
• Denetim ünitesini seçmek için iPod öğesine
basın.
–
HEAD MODE
: Çalma işlemini bu ünite ile
kontrol eder.
–
iPod MODE
*
2
: iPod/iPhone bağlıyken çalma
işlemini kontrol eder.
Ÿ
Bir parka/video seçmek için [
4
] veya
[
¢
] düğmesine basın.
*
3
*
1
[
5
/
∞
] mevcut şarkıyı/videoyu nasıl seçtiğinize
bağlı olarak çalışmayabilir.
*
2
Bağlantı için KS-U30 kullanırken
<
AV Input
>
girişi
olarak
<
iPod (Off)
>
seçtiğinizden emin olun.
(
18)
*
3
Video kaynakları için çalmayı devam
ettiremeyebilirsiniz.
• <
Search Mode
>’dan (Arama Modu) bir parça/
video seçme,
24.
• Çalma modunu seçmek,
22.
• Sesli kitap oynatma hızını değiştirme,
22.
Oynatma için denetim
ünitesini gösterir
(
aşağıda )
TR_KW-AVX820[EU]_2.indb 50
TR_KW-AVX820[EU]_2.indb 50
09.2.6 3:22:58 PM
09.2.6 3:22:58 PM
Содержание
- 75 номер страницы) обозначает номер; Как перенастроить Ваше устройство; Будьте осторожны, не уроните диск при извлечении.; CОДЕРЖАНИЕ; ВВЕДЕНИЕ; Прослушивание с устройства автоматической; СПРАВОЧНАЯ ИНФОРМАЦИЯ
- 76 Тип воспроизводимых дисков; Тип диска; • Данное устройство не; Dual Disc; Сторона DVD; Предостережение для воспроизведения дисков DualDisc
- 77 Соединительная панель; Основные операции; Отключение или подключение панели монитора; Отсоединение; • Соединительная панель закрывается; Подключение; • Держите панель монитора
- 78 Использование панели монитора/сенсорной панели
- 81 Продолжение не следующей странице; Navigation
- 83 Если включена функция “Dual Zone”, эти кнопки
- 84 Выберите; Подготовка; Отмена демонстрации функций дисплея и установка часов
- 85 Общее представление о меню AV Menu; > можно использовать для
- 86 Можно настроить только тогда, когда источником является “
- 87 Disc; Невозможно настроить, если не отображается картинка.
- 88 Доступно только для “
- 89 Элемент меню; Зависит от использования регулятора усиления.
- 90 Недоступно, если в качестве источника выбрано “
- 91 Сохранение пользовательских; разъему устройства автоматической смены компакт-дисков.
- 92 Для “
- 94 Можно включить функцию <
- 95 Сохранение запрограммированной радиостанции/службы вручную
- 96 Выбор диска из списка; Начало
- 98 Если устройство уже подключено к приемнику, <
- 101 Прослушивание радио; ] для поиска радиостанций — автоматический поиск.
- 102 Поиск программы FM Radio; • В приведенном ниже примере в списке; выбрать один из 29 кодов PTY.
- 103 Включение или выключение
- 104 Отслеживание той же; AF Regional; • Если подключен тюнер DAB, см. также раздел; Автоматический выбор; On; • Настройка устройства на другую радиостанцию с
- 105 Операции с дисками; Открытие панели монитора.; Запрещение извлечения диска; Для отмены запрещения
- 106 Отображение списка папок или дорожек.
- 107 Кнопки операций на экране
- 108 Операции с помощью пульта дистанционного управления (RM-RK252); Кнопка; Замедленное воспроизведение:
- 109 Прямой поиск элемента
- 110 Операции с; Ввод времени и чисел; VCD
- 111 Строки состояния; RPT; Когда не используется функция PBC.
- 112 Используя сенсорную панель,; можно; На пульте дистанционного управления:; Операции в режиме “Dual Zone”; с помощью пульта дистанционного управления.
- 113 Если метка включает картинку “Jacket; Выбор папки или дорожки; Выберите папку или дорожку.; Выбор дорожки
- 114 Операции с помощью; Откройте экран списка.; Выбор режимов воспроизведения; Выберите необходимый параметр.
- 115 Операции с устройством USB
- 116 Использование устройств Bluetooth®; Профили Bluetooth; Подключение нового устройства Bluetooth; Первое подключение устройства Bluetooth; устройства. Всего можно зарегистрировать до 5 устройств.; Информация о Bluetooth:
- 117 Использование сотового телефона Bluetooth; Завершение вызова; Voice; Dial Menu
- 118 Программирование; Можно запрограммировать до 6 номеров.; Вызов запрограммированного номера,
- 119 Использование аудиопроигрывателя Bluetooth; Начало воспроизведения.; Пример: При воспроизведении диска MP3; Выберите диск для; • Выбор режима воспроизведения,
- 120 • Поиск вручную: Удерживайте в нажатом положении [; Прослушивание тюнера DAB
- 121 Активация или; Мигает; Если автомобиль находится в регионе, где прием
- 122 При подключении с помощью кабеля USB; Прослушивание iPod/iPhone; выбрать дорожку или видеозапись.
- 123 При подключении с помощью интерфейсного адаптера; Выбор дорожки из меню; необходимого элемента.
- 124 Использование других внешних устройств; Просмотр экрана навигации; • Можно использовать источник “
- 126 Рекомендуемый способ чистки:; Обслуживание
- 127 Дополнительная информация о приемнике; Общие сведения; Оригинальная программа
- 128 Воспроизведение файла; Воспроизведение файлов DivX
- 129 Значки типов телефонов
- 130 iPhone во время воспроизведения дорожки.; Устройство автоматической; интерфейсного адаптера:; Предусмотрен режим “iPod MODE”,
- 131 Настройки меню
- 132 Звуковые сигналы, передаваемые задними терминалами; Через терминал DIGITAL OUT
- 134 товарными знаками компании Dolby Laboratories.
- 135 Устранение проблем; Симптомы
- 139 Только при подключении с помощью
- 140 Технические характеристики; УСИЛИТЕЛЬ
- 142 ПРЕДУПРЕЖДЕНИЕ; ОБЩИЕ ТРЕБОВАНИЯ; Затруднения при эксплуатации?; Пожалуйста, перезагрузите Ваше устройство; соответствующую страницу
- 143 Указатель операций