Магнитолы Alpine CDE-9845RB (RR) - инструкция пользователя по применению, эксплуатации и установке на русском языке. Мы надеемся, она поможет вам решить возникшие у вас вопросы при эксплуатации техники.
Если остались вопросы, задайте их в комментариях после инструкции.
"Загружаем инструкцию", означает, что нужно подождать пока файл загрузится и можно будет его читать онлайн. Некоторые инструкции очень большие и время их появления зависит от вашей скорости интернета.

35
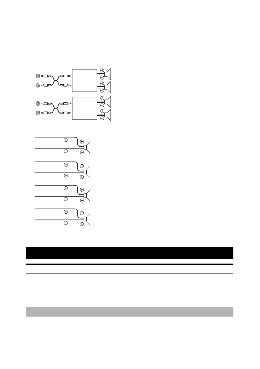
Ïðè ïîäêëþ÷åíèè âíåøíåãî óñèëèòåëÿ ìîùíîñòè âû ìîæåòå óëó÷øèòü êà÷åñòâî çâóêà,
îòêëþ÷èâ ïèòàíèå âñòðîåííîãî óñèëèòåëÿ ìîùíîñòè.
POWER-IC OFF:
Ïðè àêòèâèçàöèè äèíàìèêîâ äàííàÿ óñòàíîâêà âûïîëíÿåòñÿ ïóòåì
ñ î å ä è í å í è ÿ ô ð î í ò à ë ü í î ã î è ò û ë î â î ã î ï ð å ä ó ñ è ë è ò å ë ÿ ñ è ñ ò å ì û ñ â í å ø í è ì
óñèëèòåëåì.  ýòîì ñëó÷àå ñèãíàë îò âñòðîåííîãî â ãîëîâíîé àïïàðàò óñèëèòåëÿ
íà äèíàìèêè íå ïîñòóïàåò.
POWER-IC ON:
Ñèãíàë íà äèíàìèêè ïîñòóïàåò ÷åðåç âñòðîåííûé óñèëèòåëü.
Óñèëèòåëü
Óñèëèòåëü
Ôðîíòàëüíûé ëåâûé
Ôðîíòàëüíûé ïðàâûé
Òûëîâîé ëåâûé
Òûëîâîé ïðàâûé
SPEAKER
R IGHT FRON T
SPEAKER
R IGHT REAR
SPEAKER
LE FT REAR
SPEAKER
LE FT FRON T
•
 ñëó÷àå óñòàíîâêè ïàðàìåòðà âûõîäíîé ìîùíîñòè â «OFF» çâóêîâîé ñèãíàë íà âûõîäå ñèñòåìû
îòñóòñòâóåò.
Äèíàìèêè
Ôðîíòàëüíûé ïðàâûé
Òûëîâîé ïðàâûé
Òûëîâîé ëåâûé
Ôðîíòàëüíûé ëåâûé
Åñëè ó âàñ âîçíèêëà ïðîáëåìà, ïîïðîáóéòå âûêëþ÷èòü, à çàòåì ñíîâà âêëþ÷èòü âàø àïïàðàò.
Åñëè ýòî íå ïîìîãëî â ðåøåíèè ïðîáëåìû, îçíàêîìüòåñü ñ ðàçäåëàìè ïðèâåäåííîãî íèæå
ñïèñêà. Ýòè èíñòðóêöèè ïîìîãóò âàì ñïðàâèòüñÿ ñ âîçíèêøåé ïðîáëåìîé â ñëó÷àå
íåêîððåêòíîé ðàáîòû àïïàðàòà.  ïðîòèâíîì ñëó÷àå, ïðîâåðüòå ïðàâèëüíîñòü ïðèñîåäèíåíèÿ
äðóãèõ óçëîâ ñèñòåìû èëè ïðîêîíñóëüòèðóéòåñü ó àâòîðèçèðîâàííîãî äèëåðà Alpine.
Îáùèå çàòðóäíåíèÿ
Àïïàðàò íå ôóíêöèîíèðóåò èëè îòñóòñòâóåò èíäèêàöèÿ íà äèñïëåå
•
Îòêëþ÷åíî çàæèãàíèå àâòîìîáèëÿ.
−
Åñëè àïïàðàò ïîäêëþ÷åí â ñîîòâåòñòâèè ñ èíñòðóêöèÿìè, òî îí íå áóäåò ðàáîòàòü
ïðè îòêëþ÷åííîì çàæèãàíèè àâòîìîáèëÿ.
Âîçìîæíûå íåïîëàäêè è ñïîñîáû èõ óñòðàíåíèÿ
Ñïðàâî÷íàÿ èíôîðìàöèÿ