Магнитолы Alpine CDA-9851R - инструкция пользователя по применению, эксплуатации и установке на русском языке. Мы надеемся, она поможет вам решить возникшие у вас вопросы при эксплуатации техники.
Если остались вопросы, задайте их в комментариях после инструкции.
"Загружаем инструкцию", означает, что нужно подождать пока файл загрузится и можно будет его читать онлайн. Некоторые инструкции очень большие и время их появления зависит от вашей скорости интернета.

36
Âû ìîæåòå óñòàíîâèòü îòîáðàæåíèå ïîäêëþ÷åííîãî óñòðîéñòâà, âûáðàâ îïöèþ AUX IN
ON. Äëÿ ýòîãî ñ ïîìîùüþ êíîïêè
4
èëè
4
âûáåðèòå íàçâàíèå äîïîëíèòåëüíîãî
óñòðîéñòâà è íàæìèòå
ðó÷êó óïðàâëåíèÿ.
 ñëó÷àå ïîäñîåäèíåíèÿ óíèâåðñàëüíîãî
òåðìèíàëà ñâÿçè ÊÑÀ-410Ñ âû ìîæåòå âûáðàòü 2 íàçâàíèÿ äîïîëíèòåëüíûõ óñòðîéñòâ.
•
Ñ ïîìîùüþ ÊÑÀ-410Ñ äîïóñêàåòñÿ âîçìîæíîñòü ïîäêëþ÷åíèÿ ê RCA âûõîäó 2-õ âíåøíèõ
óñòðîéñòâ. Äëÿ ýòîãî ñ ïîìîùüþ êíîïêè
SOURCE/POWER
âûáåðèòå ðåæèì AUX, à çàòåì ñ
ïîìîùüþ êíîïêè
BAND
âûáåðèòå òðåáóåìîå óñòðîéñòâî.
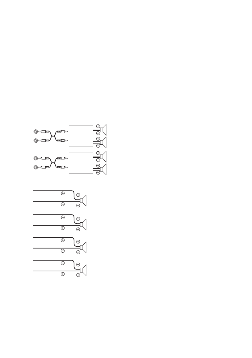
Ïîäêëþ÷åíèå âíåøíåãî óñèëèòåëÿ
P-IC ON (Çàâîäñêàÿ íàñòðîéêà) / P-IC OFF
Ïðè ïîäêëþ÷åíèè âíåøíåãî óñèëèòåëÿ ìîùíîñòè âû ìîæåòå óëó÷øèòü êà÷åñòâî çâóêà,
îòêëþ÷èâ ïèòàíèå âñòðîåííîãî óñèëèòåëÿ ìîùíîñòè.
P-IC OFF: Ïðè àêòèâèçàöèè äèíàìèêîâ äàííàÿ óñòàíîâêà âûïîëíÿåòñÿ ïóòåì ñîåäèíåíèÿ
ôðîíòàëüíîãî è òûëîâîãî ïðåäóñèëèòåëÿ ñèñòåìû ñ âíåøíèì óñèëèòåëåì. Â ýòîì
ñëó÷àå ñèãíàë îò âñòðîåííîãî â ãîëîâíîé àïïàðàò óñèëèòåëÿ íà äèíàìèêè íå ïîñòóïàåò.
4
Óñèëèòåëü
Óñèëèòåëü
Ôðîíòàëüíûé ëåâûé
Ôðîíòàëüíûé ïðàâûé
Òûëîâîé ëåâûé
Òûëîâîé ïðàâûé
P-IC ON: Ñèãíàë íà äèíàìèêè ïîñòóïàåò ÷åðåç âñòðîåííûé óñèëèòåëü.
•
 ñëó÷àå óñòàíîâêè ïàðàìåòðà âûõîäíîé ìîùíîñòè â «OFF» çâóêîâîé ñèãíàë íà âûõîäå ñèñòåìû
îòñóòñòâóåò.
Äèíàìèêè
Ôðîíòàëüíûé ïðàâûé
Òûëîâîé ïðàâûé
Òûëîâîé ëåâûé
Ôðîíòàëüíûé ëåâûé
SPEAKER
RIGHT FRONT
SPEAKER
RIGHT REAR
SPEAKER
LEFT REAR
SPEAKER
LEFT FRONT
Óñòàíîâêà äëÿ âíåøíåãî öèôðîâîãî âõîäà
D-AUX ON / D-AUX OFF (Çàâîäñêàÿ íàñòðîéêà)
 ñëó÷àå ïîäñîåäèíåíèÿ ê âàøåìó àïïàðàòó ïîääåðæèâàþùåãî Ai-NET öèôðîâîãî çâóêîâîãî
ïðîöåññîðà è íå ïîääåðæèâàþùåãî Ai-NET DVD-ïðîèãðûâàòåëÿ (DVE-5207) âû ìîæåòå
íàñëàæäàòüñÿ 5.1-êàíàëüíûì îáúåìíûì çâóêîì, âûáðàâ äëÿ óñòàíîâêè D-AUX îïöèþ ON.