Магнитолы Alpine CDA-105Ri - инструкция пользователя по применению, эксплуатации и установке на русском языке. Мы надеемся, она поможет вам решить возникшие у вас вопросы при эксплуатации техники.
Если остались вопросы, задайте их в комментариях после инструкции.
"Загружаем инструкцию", означает, что нужно подождать пока файл загрузится и можно будет его читать онлайн. Некоторые инструкции очень большие и время их появления зависит от вашей скорости интернета.

12
-RU
5
Чтобы приостановить воспроизведение,
нажмите
/
.
Чтобы возобновить воспроизведение, нажмите кнопку
/ еще раз.
6
После нажатия (OPEN) для открытия передней
панели нажмите , чтобы извлечь диск.
•
Не удаляйте компакт-диск во время цикла его извлечения.
Не загружайте более одного диска за раз. Несоблюдение
этого требования может привести к неисправности.
•
Если компакт-диск не извлекается, нажмите и
удерживайте кнопку
не менее 2 секунд.
•
Индикатор “
” загорается, когда вставлен диск.
•
Не удастся использовать компакт-диски диаметром 8 см.
•
CD-плеер может проигрывать диски, содержащие
звуковые данные, данные MP3, WMA и AAC.
•
Файлы формата WMA, защищенные технологией цифрового
управления правами DRM (Digital Rights Management), файлы
формата AAC, приобретенные в Сети iTunes Store, а также
файлы с защитой от копирования не удастся воспроизвести
на данном устройстве.
•
Во время воспроизведения MP3 отображается “MP3”.
•
Во время воспроизведения WMA отображается “WMA”.
•
Во время воспроизведения AAC отображается “AAC”.
•
При воспроизведении данных MP3/WMA/AAC на экране
фрагментов отображается номера записанных на диск файлов.
•
При воспроизведении файла, записанного с переменной
скоростью передачи битов (VBR), может отображаться
неправильное время воспроизведения.
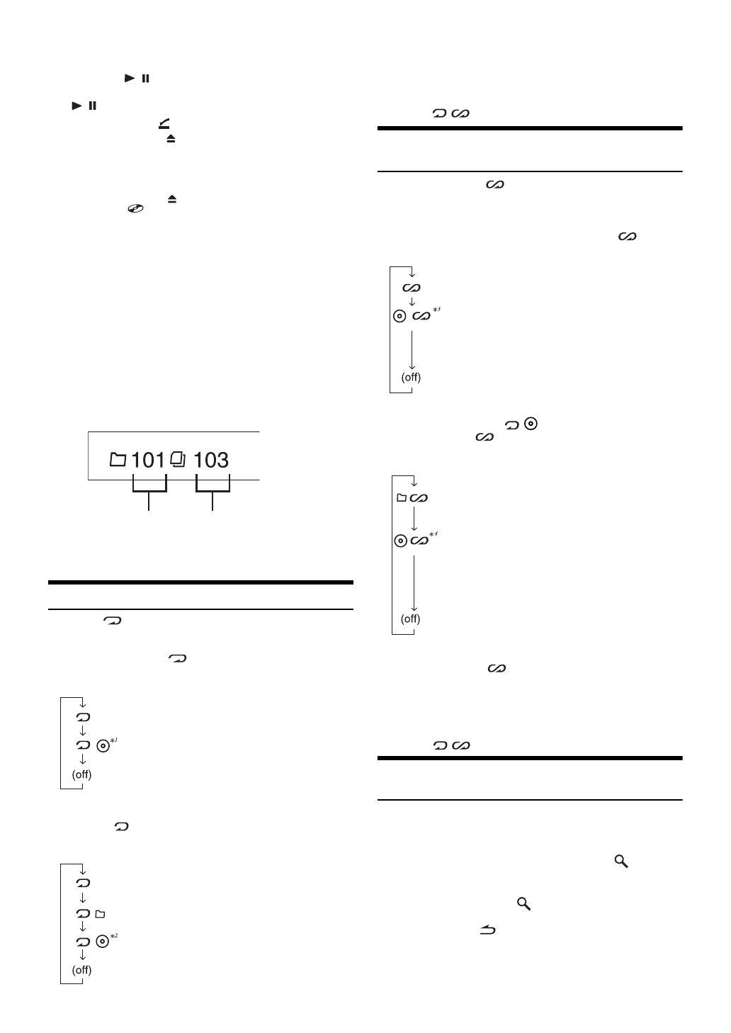
Экран при воспроизведении данных MP3/WMA/AAC
Номер папки и номер файла отображаются так, как описано ниже.
•
Нажмите кнопку
VIEW
, чтобы переключить экран. См.
“Отображение текста” (стр. 18), чтобы получить
информацию о переключении экрана.
Повторное воспроизведение
Нажмите
4, чтобы многократно воспроизводить
текущий фрагмент.
Текущий фрагмент (файл) будет постоянно воспроизводиться.
Снова нажмите кнопку
4 и выберите значение “off”,
чтобы отключить многократное воспроизведение.
Режим CD:
*
1
Только при подключенном CD-чейнджере.
•
Если при воспроизведении M.I.X. в режиме CD-чейнджера
включить
, воспроизведение M.I.X. будет применяться
только для диска, воспроизводимого в данный момент.
Режим MP3/WMA/AAC:
*
2
Только при подключенном CD-чейнджере,
поддерживающем данные MP3.
•
Если подключен CD-чейнджер или CD-чейнджер с поддержкой MP3.
После нажатия кнопки
F/SETUP
для выбора режима настройки
функций (
/
) выполните эту операцию в течение 10 секунд.
M.I.X. (воспроизведение в
случайном порядке)
Нажмите кнопку 5
в режиме воспроизведения
или во время паузы.
Фрагменты (файлы) на данном диске будут
воспроизводиться в случайной последовательности.
Чтобы отменить режим M.I.X., нажмите кнопку 5
еще раз.
Режим CD:
*
3
Если подключен CD-чейнджер с функцией ALL M.I.X.
•
Если при воспроизведении
(REPEAT ALL) в режиме CD-
чейнджера выбрано
, то воспроизведение MIX будет
действовать только для диска, воспроизводимого в данный момент.
Режим MP3/WMA/AAC:
*
4
В режиме USB все файлы, сохраненные на USB-
накопителе, воспроизводятся в случайном порядке и
горит индикатор “
”.
•
Если определенная песня воспроизводится в слуйчайном
порядке (M.I.X.) в режиме USB, эта же песня может быть
воспроизведена снова, даже если не были воспроизведены
все композиции, записанные на USB-носителе.
•
Если подключен CD-чейнджер или CD-чейнджер с поддержкой MP3.
После нажатия кнопки
F/SETUP
для выбора режима настройки
функций (
/
) выполните эту операцию в течение 10 секунд.
Поиск в текстовой информации
о компакт-диске
На дисках, поддерживающих текстовую информацию, поиск музыкальных
композиций можно выполнять по текстовым заголовкам. На дисках, не
поддерживающих текстовую информацию, поиск выполняется по номерам
фрагментов, присвоенным каждой музыкальной композиции.
1
Во время воспроизведения нажмите
/
ENT.
В результате должен включиться режим поиска.
2
Поворотом Вращающегося регулятора выберите
дорожку и нажмите
/
ENT.
Будет воспроизведен выбранный фрагмент.
•
Нажмите кнопку
/ESC
в режиме поиска для отмены.
Кроме того, режим поиска будет отключен, если в
течение 30 секунд не будет выполнено ни одной операции.
•
При выполнении поиска текстовой информации в режиме
воспроизведения M.I.X. этот режим отключается.
Отображение
номера папки
Отображение
номера файла
: Многократно воспроизводиться только
фрагмент.
: Постоянно повторяется воспроизведение
диска.
: Многократно воспроизводиться только
файл.
: Многократно воспроизводит только файлы из
выбранной папки.
: Постоянно повторяется воспроизведение
диска.
: В случайном порядке воспроизводятся
только фрагменты.
: Дорожки на всех CD-дисках,
установленных в CD-чейнджер, будут
включены в случайную
последовательность воспроизведения.
: В случайном порядке воспроизводятся
только файлы из некоторой папки.
: В случайном порядке воспроизводятся
только файлы.
Если подключен CD-чейнджер с
поддержкой MP3, все файлы на диске
будут воспроизводиться в случайном
порядке и начнется воспроизведение
следующего диска.
Содержание
- 3 РУССКИЙ; Содержание; BLUETOOTH IN; Регулировка уровней сигналов
- 4 Работа с процессорами IMPRINT; Установка и соединения
- 5 Руководство по использованию; МЕРЫ ПРЕДОСТОРОЖНОСТИ; ПРЕДУПРЕЖДЕНИЕ
- 7 ОСТОРОЖНО
- 8 Приступая к работе
- 9 Настройка уровня громкости
- 10 Прослушивание радио; Функция поиска частоты; Радио
- 11 Повторный вызов; RDS
- 13 Отображение предаваемого; Воспроизведение
- 14 Повторное воспроизведение
- 16 Терминология
- 17 Настройка регулировки низких частот; Настройка звука
- 18 Настройка регулировки; Настройка фильтра высоких частот; Включение и выключение; Настройка уровня низких частот
- 19 Настройка системы СНЧ-
- 20 Отображение текста; Другие функции
- 21 Меню SETUP
- 22 Внешнее устройство
- 23 FF SOURCE FF
- 25 Поиск нужной композиции; Быстрый поиск
- 26 Функция прямого поиска; Функция пропуска по алфавиту; Воспроизведение в случайном
- 27 Настройка режима MultEQ; Работа с
- 28 Настройка акустических параметров в; Включение/отключение режима
- 30 Настройка кривой параметрического эквалайзера; Включение и выключение режима
- 31 Запись настроек акустического поля в память
- 32 Временная поправка; левое сидение
- 34 О технологии IMPRINT; ВИДЕНИЕ И РЕАЛЬНОСТЬ
- 35 Управление CD-чейнджером; Выбор нескольких чейнджеров
- 36 При возникновении трудностей; Информация; Основные функции
- 37 Звук
- 38 Индикатор USB-накопителя; Индикаторы в режиме iPhone/iPod; DEVICE ERROR
- 39 Технические характеристики; CLASS 1
- 40 Предупреждение
- 41 Установка
- 43 Соединения