Loriot Eiffel LHCI-1500 M - Инструкция по эксплуатации

Loriot Eiffel LHCI-1500 M

Обогреватель Loriot Eiffel LHCI-1500 M - инструкция пользователя по применению, эксплуатации и установке на русском языке. Мы надеемся, она поможет вам решить возникшие у вас вопросы при эксплуатации техники.

Если остались дополнительные вопросы — свяжитесь с нами через контактную форму.

1 Страница 1
2 Страница 2
3 Страница 3
4 Страница 4
5 Страница 5
6 Страница 6
7 Страница 7
8 Страница 8
9 Страница 9
10 Страница 10
11 Страница 11
12 Страница 12
13 Страница 13
14 Страница 14
15 Страница 15
16 Страница 16
17 Страница 17
18 Страница 18
19 Страница 19
20 Страница 20
21 Страница 21
22 Страница 22
23 Страница 23
24 Страница 24
25 Страница 25
26 Страница 26
27 Страница 27
28 Страница 28
Страница: / 28

Содержание:

  • Страница 2 – Уважаемый покупатель!; Свидетельство о приемке
  • Страница 3 – СОДЕРЖАНИЕ
  • Страница 8 – УПРАВЛНЕНИЕ ПРИБОРОМ
  • Страница 9 – УХОД И ОБСЛУЖИВАНИЕ; ВОЗМОЖНЫЕ НЕИСПРАВНОСТИ И СПОСОБЫ ИХ УСТРАНЕНИЯ
  • Страница 10 – СЕРВИСНОЕ ОБСЛУЖИВАНИЕ
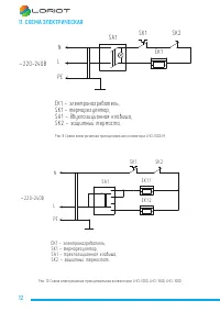
  • Страница 12 – СХЕМА ЭЛЕКТРИЧЕСКАЯ; Схема электрическая принципиальная конвекторов; Схема электрическая принципиальная конвекторов; PDF created with pdfFactory Pro trial version; P E; P E; Схема электрическая принципиальная конвекторов; PDF created with pdfFactory Pro trial version
  • Страница 14 – СРОК СЛУЖБЫ ПРИБОРА; ТРАНСПОРТИРОВАНИЕ ПРИБОРА; ПРАВИЛА УТИЛИЗАЦИИ
  • Страница 15 – СЕРТИФИКАЦИЯ ПРОДУКЦИИ
  • Страница 16 – ГАРАНТИЙНЫЙ ТАЛОН
  • Страница 17 – ГРАФИК ВЫПОЛНЕНИЯ ТЕХНИЧЕСКОГО ОБСЛУЖИВАНИЯ
Загрузка инструкции

РУКОВОДСТВО ПО ЭКСПЛУАТАЦИИ
ГАРАНТИЙНЫЙ ТАЛОН

МОДЕЛЬ

LHCI-1000 M
LHCI-1500 M
LHCI-2000 M

ЭЛЕКТРИЧЕСКИЙ КОНВЕКТОР

series

series

"Загрузка инструкции" означает, что нужно подождать пока файл загрузится и можно будет его читать онлайн. Некоторые инструкции очень большие и время их появления зависит от вашей скорости интернета.

Краткое содержание

Страница 2 - Уважаемый покупатель!; Свидетельство о приемке

Уважаемый покупатель! Поздравляем Вас с приобретением нового электрического конвектора LORIOT. При правильном обращении он прослужит Вам долгие годы. Вся продукция торговой марки LORIOT производится в соответствии с международными и российскими стандартами безопасности и качества. Перед использовани...

Страница 3 - СОДЕРЖАНИЕ

СОДЕРЖАНИЕ 1. Используемые обозначения ..........................................................................................................4 2. Правила безопасности .....................................................................................................................4 3. Назначе...

Страница 8 - УПРАВЛНЕНИЕ ПРИБОРОМ

8 6. УПРАВЛНЕНИЕ ПРИБОРОМ Подготовка к работе Извлеките обогреватель из картонной коробки. Сохраните коробку для межсезонного хранения. Убедитесь, что конвекционный обогреватель находится в положении «ВЫКЛ», прежде чем включать его. Установите обогрева-тель, следуя инструкциям по установке. Во избеж...

Характеристики

Другие модели - Обогреватели Loriot

Все обогреватели Loriot