Страница 2 - Уважаемый покупатель!; Свидетельство о приемке
Уважаемый покупатель! Поздравляем Вас с приобретением нового электрического конвектора LORIOT. При правильном обращении он прослужит Вам долгие годы. Вся продукция торговой марки LORIOT производится в соответствии с международными и российскими стандартами безопасности и качества. Перед использовани...
Страница 3 - СОДЕРЖАНИЕ
СОДЕРЖАНИЕ 1. Используемые обозначения ..........................................................................................................4 2. Правила безопасности .....................................................................................................................4 3. Назначе...
Страница 4 - ИСПОЛЬЗУЕМЫЕ ОБОЗНАЧЕНИЯ; . ПРАВИЛА БЕЗОПАСНОСТИ
4 1. ИСПОЛЬЗУЕМЫЕ ОБОЗНАЧЕНИЯ ВНИМАНИЕ!Требования, несоблюдение которых может привести к тяжелой травме или серьезному повреждению оборудова-ния. ОСТОРОЖНО!Требования, несоблюдение которых может привести к серьезной травме или летальному исходу. ПРИМЕЧАНИЕ:• если поврежден кабель питания, он должен ...
Страница 8 - УПРАВЛНЕНИЕ ПРИБОРОМ
8 6. УПРАВЛНЕНИЕ ПРИБОРОМ Подготовка к работеИзвлеките обогреватель из картонной коробки. Сохраните коробку для межсезонного хранения. Убедитесь, что конвекционный обогреватель находится в положении «ВЫКЛ», прежде чем включать его. Установите обогрева-тель, следуя инструкциям по установке. Во избежа...
Страница 9 - УХОД И ОБСЛУЖИВАНИЕ; ВОЗМОЖНЫЕ НЕИСПРАВНОСТИ И СПОСОБЫ ИХ УСТРАНЕНИЯ
9 7. УХОД И ОБСЛУЖИВАНИЕ Регулярная чистка прибора при непрерывной эксплуатации.• Перед чисткой отключите обогреватель от сети питания.• Перед чисткой убедитесь, что обогреватель полностью остыл.• Используйте влажную тряпку (не мокрую), чтобы стереть с внешней части обогревателя пыль и грязь.• Воспо...
Страница 10 - СЕРВИСНОЕ ОБСЛУЖИВАНИЕ
10 9. СЕРВИСНОЕ ОБСЛУЖИВАНИЕ В случае необходимости сервисного обслуживания обратитесь авторизованный сервисный центр. Замена шнура питанияВо избежание несчастных случаев поврежденный шнур питания должен быть заменен представителем сервис-ного центра или другим квалифицированным специалистом. 10. МО...
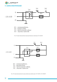
Страница 12 - СХЕМА ЭЛЕКТРИЧЕСКАЯ; Схема электрическая принципиальная конвекторов; Схема электрическая принципиальная конвекторов; PDF created with pdfFactory Pro trial version; P E; P E; Схема электрическая принципиальная конвекторов; PDF created with pdfFactory Pro trial version; P E; Схема электрическая принципиальная конвекторов; P E; Схема электрическая принципиальная конвекторов; PDF created with pdfFactory Pro trial version
12 11. СХЕМА ЭЛЕКТРИЧЕСКАЯ Рис. 9 Схема электрическая принципиальная конвектора LHCI-1000 M Рис. 10 Схема электрическая принципиальная конвекторов LHCI-1500 M, LHCI-2000 М S A 1 L P E ~ 2 2 0 - 2 4 0 В EK 1 - эле кт ронаг реват ель ; S K 1 - т ерм ор егуля т о р ; S A 1 - двух позиц и онная клав иш ...
Страница 14 - СРОК СЛУЖБЫ ПРИБОРА; ТРАНСПОРТИРОВАНИЕ ПРИБОРА; ПРАВИЛА УТИЛИЗАЦИИ
14 12. СРОК СЛУЖБЫ ПРИБОРА Срок службы обогревателя 7 лет. 13. ХРАНЕНИЕ ПРИБОРА • Убедитесь, что обогреватель полностью остыл, прежде чем убрать его на хранение.• В случае если обогреватель не планируется использовать длительное время, рекомендуется очистить его и убрать на хранение (желательно в за...
Страница 15 - СЕРТИФИКАЦИЯ ПРОДУКЦИИ
15 19. СЕРТИФИКАЦИЯ ПРОДУКЦИИ Товар сертифицирован на территории Таможенного союза.Товар соответствует требованиям:ТР ТС 004/2011 «О безопасности низковольтного оборудования», ТР ТС 020/2011 «Электромагнитная совместимость технических средств» Изготовитель:Общество с ограниченной ответственностью «И...
Страница 16 - ГАРАНТИЙНЫЙ ТАЛОН
ГАРАНТИЙНЫЙ ТАЛОН Условия гарантийных обязательств на технику LORTOT. Уважаемый покупатель! Поздравляем Вас с приобретениям техники LORIOT Настоящая гарантия действительна в течение 24 (двадцать четыре) месяцев на все изделия с даты покупки изделия покупателем при соблюдении условий, перечисленных н...
Страница 17 - ГРАФИК ВЫПОЛНЕНИЯ ТЕХНИЧЕСКОГО ОБСЛУЖИВАНИЯ
Уважаемый покупатель! Во избежание излишних проблем просим Вас внимательно ознакомиться с информацией, содержащейся в гарантийном талоне н инструкции по эксплуатации. ГАРАНТИЙНЫЙ ТАЛОН № Внимание!Пожалуйста, потребуйте от продавца полностью заполнить гарантийный талон отрывные талоны Сведения об уст...