LEX EDP 093 MG IX - Инструкция по эксплуатации

LEX EDP 093 MG IX

Печь LEX EDP 093 MG IX - инструкция пользователя по применению, эксплуатации и установке на русском языке. Мы надеемся, она поможет вам решить возникшие у вас вопросы при эксплуатации техники.

Если остались дополнительные вопросы — свяжитесь с нами через контактную форму.

1 Страница 1
2 Страница 2
3 Страница 3
4 Страница 4
5 Страница 5
6 Страница 6
7 Страница 7
8 Страница 8
9 Страница 9
10 Страница 10
11 Страница 11
12 Страница 12
13 Страница 13
14 Страница 14
15 Страница 15
16 Страница 16
17 Страница 17
18 Страница 18
19 Страница 19
20 Страница 20
21 Страница 21
22 Страница 22
23 Страница 23
24 Страница 24
25 Страница 25
26 Страница 26
27 Страница 27
Страница: / 27
Загрузка инструкции

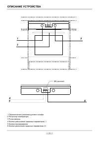
ДУХОВОЙ ШКАФ

РУКОВОДСТВО ПО ЭКСПЛУАТАЦИИ

Внимательно прочитайте руководство пользователя перед установкой и эксплуатацией

Модель:

ED

P

093 BL

Модель:

ED

P

093 MG

ED

P

093 WH

ED

P

094 WH

"Загрузка инструкции" означает, что нужно подождать пока файл загрузится и можно будет его читать онлайн. Некоторые инструкции очень большие и время их появления зависит от вашей скорости интернета.

Характеристики

Другие модели - Печи LEX

Все печи LEX