Котел ZOTA Тополь-М 14 - инструкция пользователя по применению, эксплуатации и установке на русском языке. Мы надеемся, она поможет вам решить возникшие у вас вопросы при эксплуатации техники.
Если остались вопросы, задайте их в комментариях после инструкции.
"Загружаем инструкцию", означает, что нужно подождать пока файл загрузится и можно будет его читать онлайн. Некоторые инструкции очень большие и время их появления зависит от вашей скорости интернета.

стр. 7
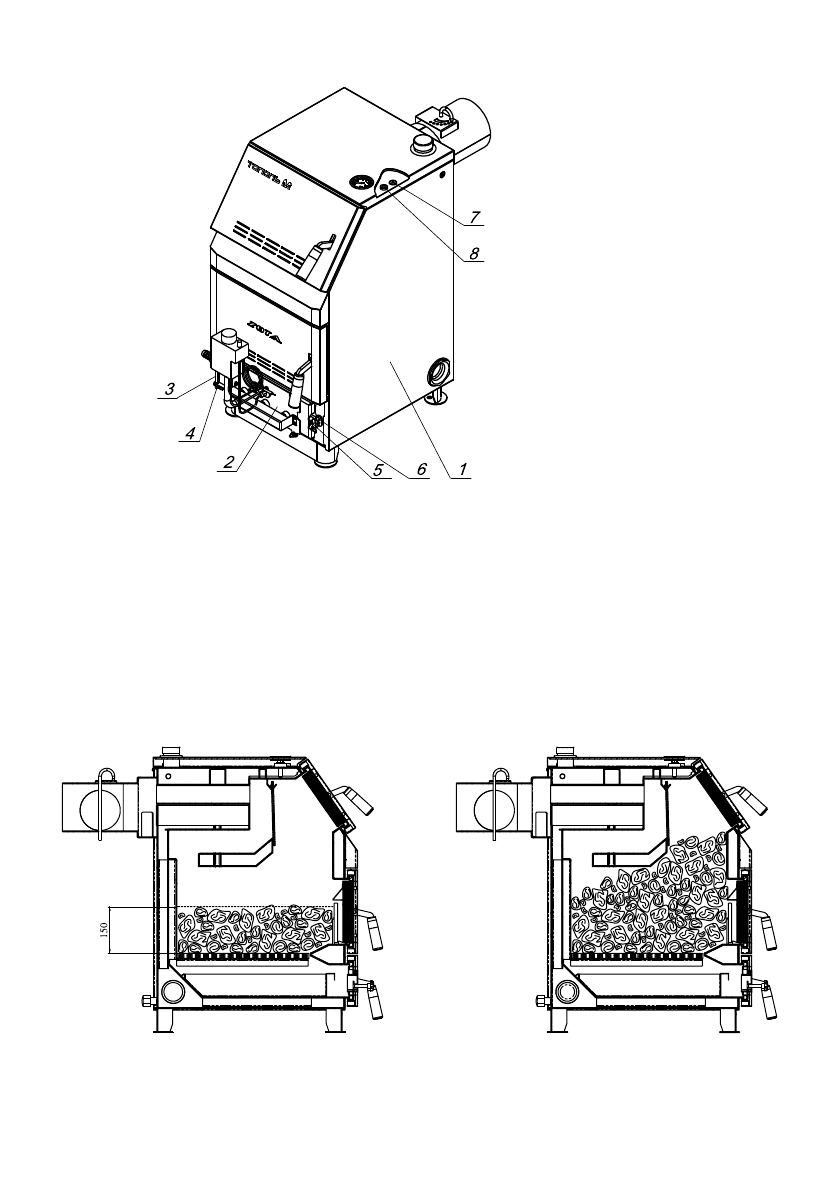
Ðис.4 Заполнение котла 
топливом для режима 
длительного горения
Ðис.3 Заполнение котла 
топливом для номинального 
режима
1 - Котел
2 - Адаптер с газовой
атмосферной горелкой
3 - Ось горелки
4 - Шайба стопорная
5 - Гайка-барашек
6 - Петля
7 - Термоограничитель
8 - Äатчик температуры
Ðис.2 Установка газовой горелки на отопительный котел
Содержание
- 8 Ðис.1 Конструкция отопительного котла
- 9 Ðис.2 Установка газовой горелки на отопительный котел
- 16 Характерные неисправности и методы иõ устранения.
- 18 Штамп ОТК; Ñведения оá установке; Ñведения о местонахождении
- 21 ПÐИЛОЖЕНИЕ 2

 
  
  
  
  
  
  
  
  
  
  
  
  
  
  
  
  
  
  
  
  
  
  
  
 



