Котел Zerten SE-7,5 - инструкция пользователя по применению, эксплуатации и установке на русском языке. Мы надеемся, она поможет вам решить возникшие у вас вопросы при эксплуатации техники.
Если остались вопросы, задайте их в комментариях после инструкции.
"Загружаем инструкцию", означает, что нужно подождать пока файл загрузится и можно будет его читать онлайн. Некоторые инструкции очень большие и время их появления зависит от вашей скорости интернета.

13
12
Р
УК
ОВО
ДС
ТВО ПО ЭК
СПЛУ
АТ
АЦИИ
Р
УК
ОВО
ДС
ТВО ПО ЭК
СПЛУ
АТ
АЦИИ
Отрывной талон 1
ФИО покупателя:
Адрес:
Обнаруженная неисправность:
Выполненные работы (перечень работ):
Подпись собственника:
Телефон:
Отрывной талон 2
ФИО покупателя:
Адрес:
Обнаруженная неисправность:
Выполненные работы (перечень работ):
Подпись собственника:
Телефон:
Отрывной талон 3
ФИО покупателя:
Адрес:
Обнаруженная неисправность:
Выполненные работы (перечень работ):
Подпись собственника:
Телефон:
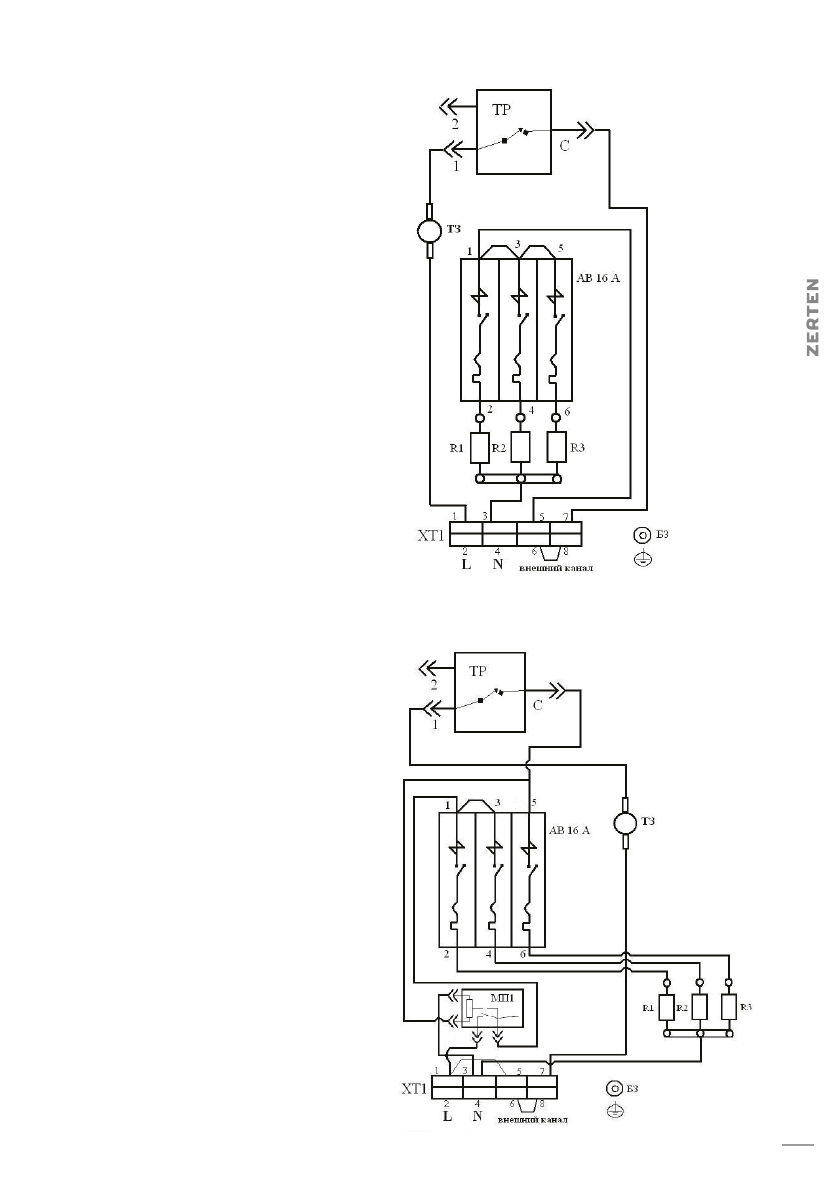
ПРИЛОЖЕНИЕ А
Электрическая схема котла SE-3
ХТ1 – клеммная колодка
АВ 16А – автоматический выключатель 16 А
ТР – термостат
R1, R2, R3 – нагревательные элементы
БЗ – болт заземления
L, N – подключение электрической сети
ТЗ – термозащита
ПРИЛОЖЕНИЕ Б
Электрическая схема котла SE-4,5
ХТ1 – клеммная колодка
АВ 16А – автоматический
выключатель 16 А
ТР – термостат
R1, R2, R3 – нагревательные элементы
БЗ – болт заземления
МП1 – магнитный пускатель
L, N – подключение электрической сети
ТЗ – термозащита