Котел РЭКО РусНИТ-203 М 3 кВт 220 В - инструкция пользователя по применению, эксплуатации и установке на русском языке. Мы надеемся, она поможет вам решить возникшие у вас вопросы при эксплуатации техники.
Если остались вопросы, задайте их в комментариях после инструкции.
"Загружаем инструкцию", означает, что нужно подождать пока файл загрузится и можно будет его читать онлайн. Некоторые инструкции очень большие и время их появления зависит от вашей скорости интернета.

www.rusnit.ru
8
ВНИМАНИЕ!
Монтаж отопительной системы должен осуществляться квалифицирован-
ными специалистами.
5.3. Перед подключением отопителя к электросети убедитесь, что автома-
тический выключатель находится в положении «ВЫКЛ». Соедините заземля-
ющий провод с клеммой отопителя, используя при этом наконечник из состава
ЗИПа.
Подключите отопитель к электросети согласно электрической схемы ри-
сунка 3.
При подключении РусНИТ 203М, РусНИТ 204М к сети провода, подходя-
щие к клеммам, должны быть оконцованы, обжаты наконечниками ВМ 1509
из состава ЗИП.
Для подключения отопителя рекомендуется использовать медный провод
(кабель).
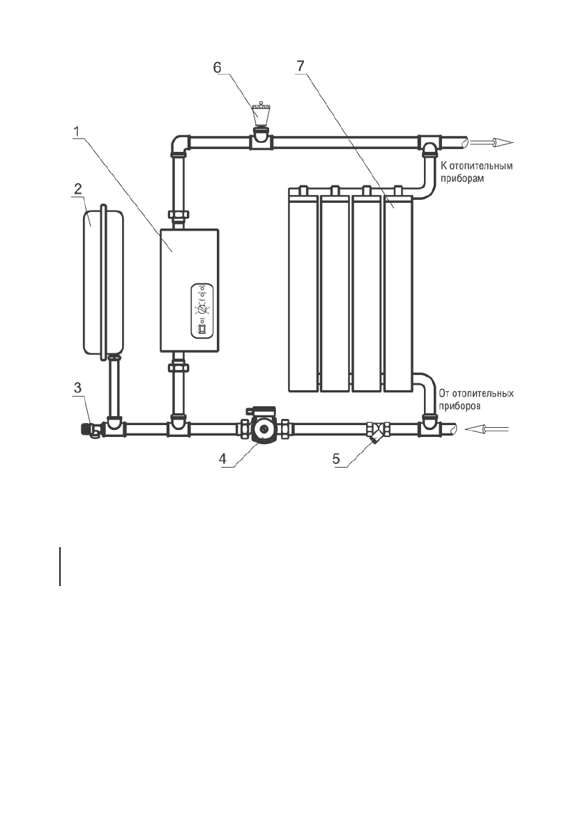
Рис. 2. Рекомендуемая схема подключения отопителя в отопительную систему:
1 – электрокотёл; 2 – экспанзомат (расширитель); 3 – предохранительный
клапан (3 атм); 4 – циркуляционный насос; 5 – фильтр;
6 – воздухоотводный клапан; 7 – прибор отопления
Содержание
- 4 УСТРОЙСТВО И ПОРЯДОК РАБОТЫ С ОТОПИТЕЛЕМ
- 5 Отопитель крепится на стене в вертикальном положении в местах,; 0 – плата индикации 11 – регулятор температуры 12 – входной патрубок
- 6 При подключении РусНИТ 203М, РусНИТ 204М к сети провода, подходя-; – воздухоотводный клапан 7 – прибор отопления
- 7 Площадь сечения каждой жилы не менее:; Рис. 3. Подключение отопителя к электрической сети
- 8 Конструкция котлов РусНИТ 203М, РусНИТ 204М предусматривает; ПРАВИЛА ЭКСПЛУАТАЦИИ; Категорически запрещается:; Рис. 4. Схема подключения датчика температуры воздуха
- 9 ТЕХНИЧЕСКОЕ ОБСЛУЖИВАНИЕ
- 11 ТРАНСПОРТИРОВАНИЕ И ХРАНЕНИЕ; Приложение 1; ТАЛОН НА УСТАНОВКУ; Владелец; Приложение 2; АДРЕСА И ТЕЛЕФОНЫ ОРГАНИЗАЦИЙ, АТТЕСТОВАННЫХ
- 15 Талон No 1; МП
- 17 Талон No 2













