Котел Navien NCN-40K White - инструкция пользователя по применению, эксплуатации и установке на русском языке. Мы надеемся, она поможет вам решить возникшие у вас вопросы при эксплуатации техники.
Если остались вопросы, задайте их в комментариях после инструкции.
"Загружаем инструкцию", означает, что нужно подождать пока файл загрузится и можно будет его читать онлайн. Некоторые инструкции очень большие и время их появления зависит от вашей скорости интернета.

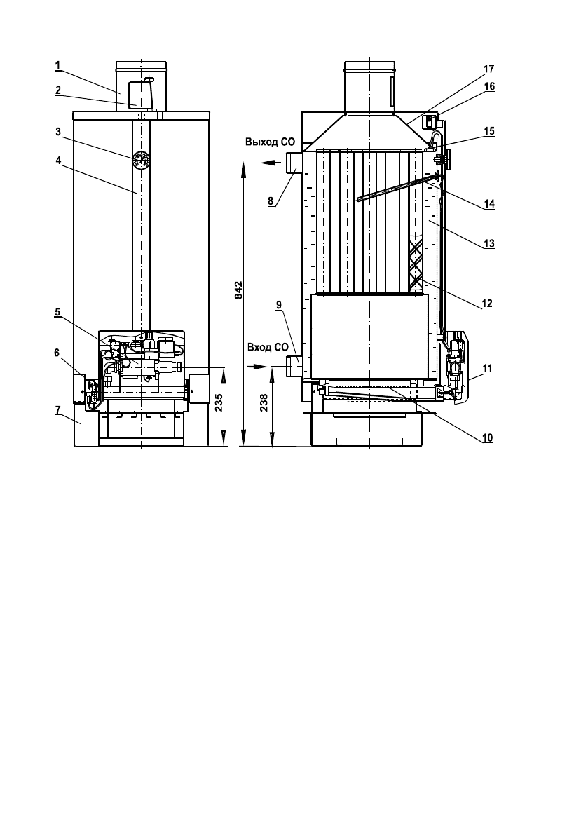
Рис.1
Котел отопительный водогрейный Комфорт
 
 
1. Тягопрерыватель;
10. Горелка;
2. Дверца тягопрерывателя;
11. Кожух блока;
3. Термометр;
12. Турбулятор;
4. Желоб;
13. Бак
-
теплообменник;
5. Блок управления;
14. Термодатчик термостата;
6. Устройство запальное;
15. Автоматика по перегреву;
7. Основание;
16
. Датчик тяги;
8. Труба отвода воды в СО;
17. Кожух.
9. Труба подвода воды из СО;
 
 
 
 
6
Содержание
- 2 «ЖУКОВСКИЙ МАШИНОСТРОИТЕЛЬНЫЙ ЗАВОД»; КОТЕЛ; РУКОВОДСТВО ПО ЭКСПЛУАТАЦИИ
- 3 ОГЛАВЛЕНИЕ
- 4 УВАЖАЕМЫЙ ПОКУПАТЕЛЬ!; Dixis
- 5 Параметры
- 8 Котел отопительный водогрейный Комфорт
- 9 VS; Блок управления
- 10 Устройство запальное
- 12 которой происходит при:
- 13 ТРЕБОВАНИЯ ПО ТЕХНИКЕ БЕЗОПАСНОСТИ
- 14 ПОДГОТОВКА КОТЛА К РАБОТЕ
- 15 ПОСЛЕДОВАТЕЛЬНОСТЬ ДЕЙСТВИЙ
- 17 ПОСЛЕДОВАТЕЛЬНОСТЬ ВКЛЮЧЕНИЯ КОТЛА; Блок автоматики
- 18 ПОСЛЕДОВАТЕЛЬНОСТЬ ВЫКЛЮЧЕНИЯ КОТЛА:
- 19 Наименование работ
- 20 ПРАВИЛА ТРАНСПОРТИРОВАНИЯ И ХРАНЕНИЯ
- 21 ВОЗМОЖНЫЕ НЕИСПРАВНОСТИ И МЕТОДЫ ИХ УСТРАНЕНИЯ; SIT
- 23 или газового хозяйства
- 24 СВИДЕТЕЛЬСТВО О ПРИЕМКЕ.; HONEYWELL; ГАРАНТИЙНЫЕ ОБЯЗАТЕЛЬСТВА
- 25 Возможно появление шума (стука) в баке при работе котла
- 26 ПРИЛОЖЕНИЕ А; КОНТРОЛЬНЫЙ ТАЛОН НА УСТАНОВКУ КОТЛА
- 27 ТАЛОН No 1; ТАЛОН No 2; (наименование местного управления газ. хоз

 
  
  
  
  
  
  
  
  
  
  
  
  
  
  
  
  
  
  
  
  
  
  
  
  
  
  
 






