Котел Thermex Grizzly 5-12 - инструкция пользователя по применению, эксплуатации и установке на русском языке. Мы надеемся, она поможет вам решить возникшие у вас вопросы при эксплуатации техники.
Если остались вопросы, задайте их в комментариях после инструкции.
"Загружаем инструкцию", означает, что нужно подождать пока файл загрузится и можно будет его читать онлайн. Некоторые инструкции очень большие и время их появления зависит от вашей скорости интернета.

22
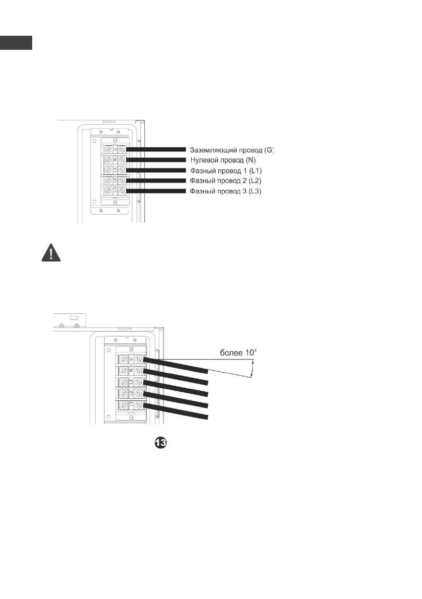
Схема трехфазного подключения сетевого кабеля к клеммной ко-
лодке указана в Рис. 12.
Клеммы L1, L2, L3 должны быть разомкнуты.
Подключение L1-L2-L3-N-G слева направо соответственно.
Минимальное сечение кабеля и номинальный ток нагрузки ука-
заны в Таблице 1. Зафиксируйте сетевой кабель.
Рис 12. Трехфазное подключение прибора
Внимание! Каждый провод и клемма должны быть плотно затя-
нуты!
Сетевой провод должен выходить из отверстия на боковой поверхности
прибора под углом не менее 10° ниже горизонтали (Рис.13), чтобы избежать
накопления конденсата на проводе и попадания его в прибор.
Рис. 13. Расположение сетевого кабеля
7.3.4
Установка лицевой панели
Подключите соединительный провод между панелью управления на лице-
вой панели и главной платой управления. Установите лицевую панель, за-
тянув 4 винта на верхней и нижней стенках прибора.
ыв
RU
Характеристики
Остались вопросы?Не нашли свой ответ в руководстве или возникли другие проблемы? Задайте свой вопрос в форме ниже с подробным описанием вашей ситуации, чтобы другие люди и специалисты смогли дать на него ответ. Если вы знаете как решить проблему другого человека, пожалуйста, подскажите ему :)