Котел Лемакс PRIME-С24 - инструкция пользователя по применению, эксплуатации и установке на русском языке. Мы надеемся, она поможет вам решить возникшие у вас вопросы при эксплуатации техники.
Если остались вопросы, задайте их в комментариях после инструкции.
"Загружаем инструкцию", означает, что нужно подождать пока файл загрузится и можно будет его читать онлайн. Некоторые инструкции очень большие и время их появления зависит от вашей скорости интернета.

13
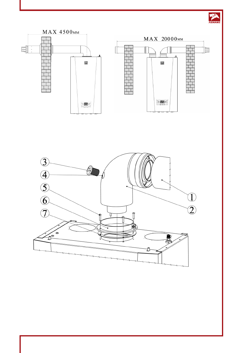
Рис. 4. Коаксиальный дымоход
Рис. 5. Раздельный дымоход
Рис. 6. Пример схемы подключения коаксиального дымохода к котлу
1 – дымоход коаксиальный 60/100;
2 – отвод коаксиальный с фланцем;
3 – заглушка канала д ля отбора проб дымовых
газов;
4 – канал д ля отбора проб дымовых газов;
5 – крепежные винты;
6 – хому т соединительный;
7 – уплотнительная прок ладка.
Содержание
- 3 СОДЕРЖАНИЕ
- 4 ОБЩИЕ ПОЛОЖЕНИЯ
- 6 ТЕХНИЧЕСКОЕ ОПИСАНИЕ
- 9 Крепление котла на несущей поверхности; ветствии с проектом газификации; УВЕДОМЛЕНИЕ
- 10 После монтажа проверьте герметичность соединений.
- 12 скачков напряжения в сети. Заземление обязательно.
- 13 Рис. 6. Пример схемы подключения коаксиального дымохода к котлу
- 14 Рис. 7. Пример схемы подключения раздельного дымохода к котлу
- 15 ПОДГОТОВКА К ПЕРВОМУ ПУСКУ; ВА ЖНАЯ ИНФОРМАЦИЯ; Необходимо убедиться в следующем:; ПУСК КОТЛА; Для правильного зажигания горелки нужно:
- 17 Описание экранных символов:; Нажимая кнопку «; OFF; – Выбрать меню «sel1/INFO» кнопкой «
- 19 НАСТРОЙКА ПАРАМЕТРОВ КОТЛА
- 22 ПОДКЛЮЧЕНИЕ ДОПОЛНИТЕЛЬНЫХ УСТРОЙСТВ; следовать порядку, указанному на рисунке 10.; Подсоединение комнатного термостата; муфту 5 в корпусе и подключите его к клеммам 1 и 2 (рисунок 11)
- 23 Подсоединение датчика наружной температуры; муфту 5 в корпусе и подсоедините его к клеммам 3 и 4 (рисунок 11); Рис. 11. Подключение дополнительных устройств
- 24 Подсоединение «OPENTHERM» устройства; ходную муфту 5 в корпусе и подключите его к клеммам 1 и 2 (рисунок 12); ЭЛЕКТРООБОРУДОВАНИЕ
- 26 СООБЩЕНИЯ ОБ ОШИБКАХ
- 28 НАСТРОЙКА ГАЗОВОГО КЛАПАНА; Настройка работы на максимальной мощности
- 29 Настройка работы на минимальной мощности
- 30 УКАЗАНИЯ ПО УХОДУ И ОБСЛУЖИВАНИЮ; ные на рисунке 15 данным.
- 31 Если этого недостаточно, повторите описанную выше процедуру.; ГАРАНТИЙНЫЕ ОБЯЗАТЕЛЬСТВА; Срок службы котла 12 лет.
- 32 СВЕДЕНИЯ ОБ УТИЛИЗАЦИИ
- 33 КОНТРОЛЬНЫЙ ТАЛОН НА УСТАНОВКУ КОТЛА; Кем произведены (на месте
- 34 ОТМЕТКИ О ПРОВЕДЕНИИ ЕЖЕГОДНОГО ТЕХНИЧЕСКОГО ОБСЛУЖИВАНИЯ
- 40 ОСОБЫЕ ОТМЕТКИ