Котел Лемакс Патриот-6 - инструкция пользователя по применению, эксплуатации и установке на русском языке. Мы надеемся, она поможет вам решить возникшие у вас вопросы при эксплуатации техники.
Если остались вопросы, задайте их в комментариях после инструкции.
"Загружаем инструкцию", означает, что нужно подождать пока файл загрузится и можно будет его читать онлайн. Некоторые инструкции очень большие и время их появления зависит от вашей скорости интернета.

9
Патриот В. 1.13
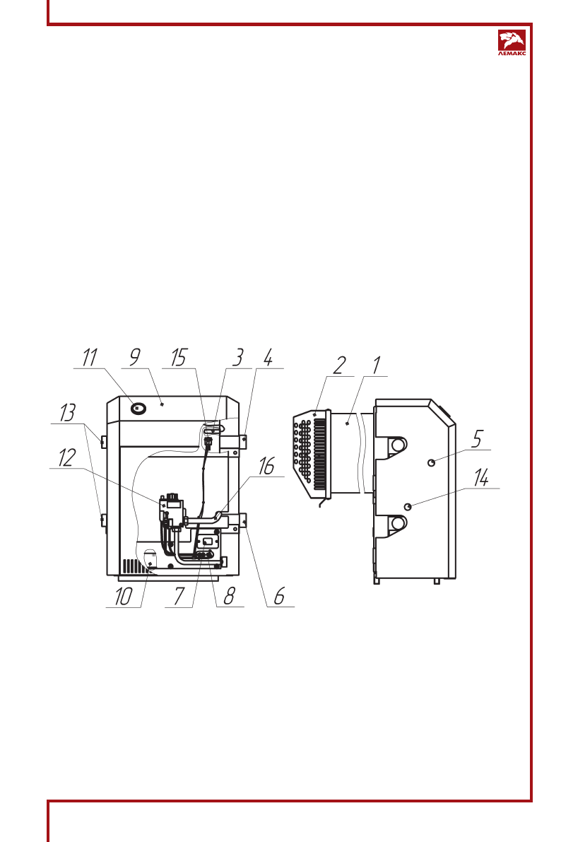
Рис. 1. Устройство изделия
1. Дымовоздушный блок;
2. Дефлектор;
3. Стакан для установки баллонов термо-
регулятора и термометра;
4. Выход воды в систему отопления;
5. Выход воды на горячее водоснабжение
(для котлов со водяным контуром);
6. Вход воды из системы отопления;
7. Смотровое окошко;
8. Запальная горелка;
9. Декоративная облицовка;
10. Основная горелка;
11. Термоиндикатор;
12. Автоматика безопасности с газовым
клапаном;
13. Заглушки;
14. Вход воды из водопровода (для котлов
со водяным контуром);
15. Датчик перегрева;
16. Гибкая подводка для газа.
4.
ТРЕБОВАНИЯ БЕЗОПАСНОСТИ
4.1 Bо избежание аварии и несчастных случаев категорически запрещается:
– пользоваться котлом детям и лицам, не прошедшим специальное обучение (ин-
структаж) по безопасному пользованию газом, незнакомым с настоящим «Руковод-
ством по эксплуатации» и не выполняющим правила пожарной безопасности;
– самовольно устанавливать и запускать котел в работу;
– эксплуатировать котел при неполном заполнении отопительной системы водой;
– изменять конструкцию котла;
– разбирать и ремонтировать котел собственными силами и средствами;
– превышать температуру воды в котле более 95 °С;
– пользоваться горячей водой из отопительной системы;
– пользоваться котлом при неисправной автоматике безопасности и других неис-
правностях котла;
– оставлять котел, работающий длительное время, без присмотра.
4.2 Участок стены дома, на который устанавливается котел, должен быть из не сгораемо-
го материала (например кирпич, бетон). Не допускается размещение легко воспламе-
няемых материалов ближе 0,5 м. от дымохода котла. Помещение, где устанавливается
котел, должно постоянно проветриваться, а котел систематически очищаться от пыли
и других горючих отложений.
Содержание
- 3 СОДЕРЖАНИЕ
- 4 ОБЩИЕ УКАЗАНИЯ; производятся владельцем котла.; КОМПЛЕКТНОСТЬ; ТЕХНИЧЕСКИЕ ХАРАКТЕРИСТИКИ; с газогорелочным устройством.
- 9 регулятора и термометра; ТРЕБОВАНИЯ БЕЗОПАСНОСТИ; – оставлять котел, работающий длительное время, без присмотра.
- 11 находится в отдельной упаковке.; Точное количество теплоноси-; чивая с усилием, не допускающим повреждение прокладки.
- 12 ЗАПРЕЩАЕТСЯ; отвод продуктов сгорания:; Таблица 3; Место отвода; котла использовать диэлектрическую вставку.; ПОРЯДОК РАБОТЫ
- 13 Рис 3. Примерная схема открытой системы отопления *; Рис. 4. Примерная схема открытой системы отопления
- 14 ку управления по часовой стрелке в позицию «выключено» (; ПРАВИЛА ЭКСПЛУАТАЦИИ, ТЕХНИЧЕСКОЕ ОБСЛУЖИВАНИЕ; и физическими свойствами отличными от нейтральных свойств
- 15 трена съемная верхняя крышка.; ГАРАНТИЙНЫЕ ОБЯЗАТЕЛЬСТВА; тационных характеристик.
- 16 ВОЗМОЖНЫЕ НЕИСПРАВНОСТИ И МЕТОДЫ ИХ УСТРАНЕНИЯ; Наименование; СВИДЕТЕЛЬСТВО О ПРИЕМКЕ
- 18 КОНТРОЛЬНЫЕ ТАЛОНЫ; КОНТРОЛЬНЫЙ ТАЛОН НА МОНТА Ж; СВЕДЕНИЯ ОБ УТИЛИЗАЦИИ
