Котел FLAMES Eco КОД-16 - инструкция пользователя по применению, эксплуатации и установке на русском языке. Мы надеемся, она поможет вам решить возникшие у вас вопросы при эксплуатации техники.
Если остались вопросы, задайте их в комментариях после инструкции.
"Загружаем инструкцию", означает, что нужно подождать пока файл загрузится и можно будет его читать онлайн. Некоторые инструкции очень большие и время их появления зависит от вашей скорости интернета.

- 5 -
2
О П И С А Н И Е К О Н С Т Р У К Ц И И
,
П Р И Н Ц И П Р А Б О Т Ы И О С Н О В Н Ы Е
П Р Е И М У Щ Е С Т В А
Котлы имеют современную конструкцию и привлекательный дизайн. Они
изготовлены из высококачественных материалов с использованием специализированного
технологического оборудования для резки металла и его
сварки, современных технологий
окрашивания
и контроля
качества.
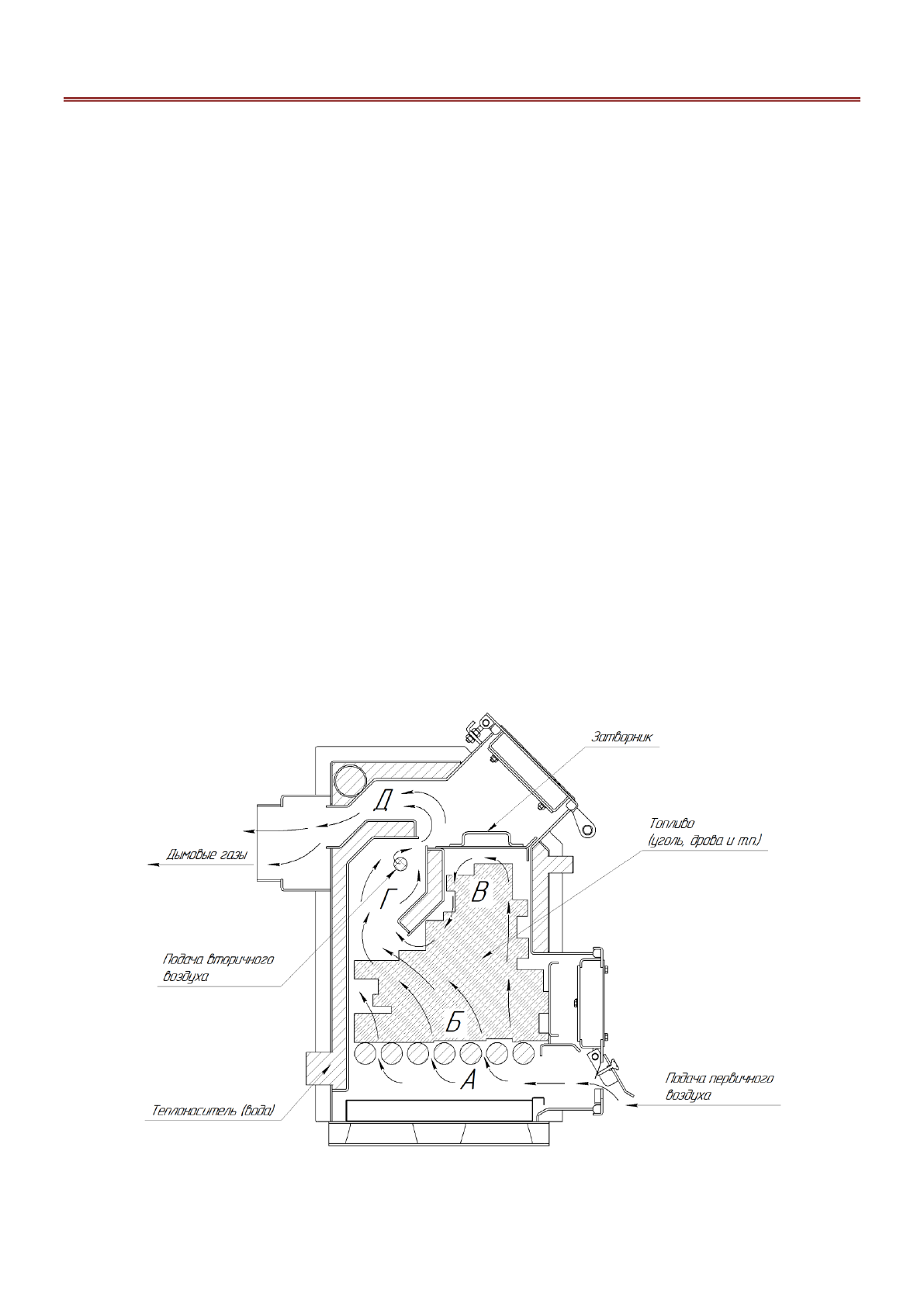
Стальной сварной корпус котла выполнен из листовой стали и состоит из топки с
теплосъемником
,
внизу находится
водоохлаждаемая колосниковая решётка (зона Б на
рисунке
1).
Это увеличивает теплоотдачу за счет большей
конвективной поверхности
нагрева,
позволяя
увеличить площади
теплообмена.
Пространство между топкой и кожухом образует рубашку из теплоносителя. Толщина
металла топки –
4,0 мм, кожуха водяной рубашки –
3,0 мм.
Первичный воздух подается через
канал,
расположенный в дверце
топки, и
регулируется
заслонкой
поддувала. Воздух распространяется снизу колосника, обдувая
топливо по
всей площади
соприкосновения
(
зона А на рис. 1
).
Теплообменник разделяет топку на
две камеры, в одной из которых находится
топливо
(
зона В
)
, а в другой
-
камера сгорания
(
зона Г
).
Затворник ограничивает движение
пламени
в зоне
B
и направляет его в нужную сторону. Топливо, находящееся сверху
закладки
,
создает топливный резерв
и по мере прогорания
нижних слоев
опускается,
обеспечивая постоянную подпитку процесса горения
.
Это влияет
на его длительность
.
Также в
зоне
B
на различных этапах горения
создается эффект «колпаковой» печи
:
нагретый горячий воздух поднимается вверх,
отдавая энергию теплоносителю,
и опускается
уже охлажденным,
покидая
зону нагрева.
В зоне Г проходит
основной процесс горения, туда же через форсунки подается
вторичный воздух
для эффективного дожига
летучего составляющего топлива
.
Обеспечивается качественное
перемешивание печных пиролизных газов и разогретого
вторичного воздуха.
После прогорания топлива дымовые газы движутся
по каналу Д и покидают
котел.
Рисунок 1 –
Схема движения газов в котле
Содержание
- 2 Дорогой наш; Flames; Разработчик и производитель:
- 3 Содержание
- 4 Н А З Н А Ч Е Н И Е; Запрещается
- 5 Рисунок 1 –
- 8 Дополнительное оборудование; Т Е Х Н И Ч Е С К И Е Х А Р А К Т Е Р И С Т И К И; Таблица
- 9 У С Т А Н О В К А К О Т Л А; ТРЕБОВАНИЕ К КОТЕЛЬНОЙ
- 10 ПОДКЛЮЧЕНИЕ КОТЛА К ДЫМОВОЙ ТРУБЕ
- 12 ПОДКЛЮЧЕНИЕ К СИСТЕМЕ ОТОП ЛЕНИЯ; каких
- 13 СХЕМЫ ПОДКЛЮЧЕНИЯ КОТЛА К СИСТЕМЕ ОТОПЛ ЕНИЯ
- 16 П Р И М Е Н Е Н И Е А Н Т И Ф Р И З О В В С И С Т Е М Е О Т О П Л Е Н И Я
- 18 Т О П К А К О Т Л А; При
- 23 Условия прекращения действия гарантийных обязательств:
- 26 ГАРАНТИЙНЫЙ ТАЛОН
- 29 Реквизиты организации, выполнившей гарантийный ремонт
- 31 Для заметок