Котел Элемент Комфорта Комфорт 7,5 - инструкция пользователя по применению, эксплуатации и установке на русском языке. Мы надеемся, она поможет вам решить возникшие у вас вопросы при эксплуатации техники.
Если остались вопросы, задайте их в комментариях после инструкции.
"Загружаем инструкцию", означает, что нужно подождать пока файл загрузится и можно будет его читать онлайн. Некоторые инструкции очень большие и время их появления зависит от вашей скорости интернета.

15
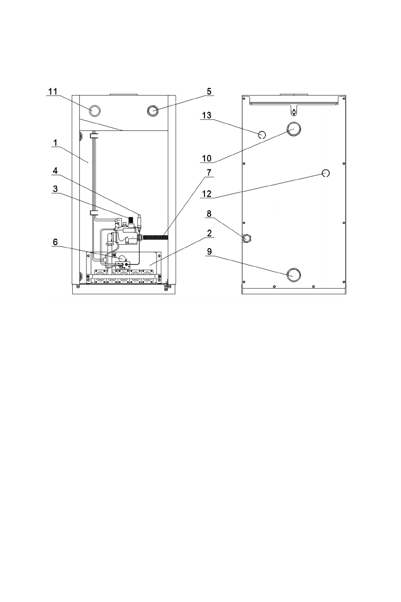
1. Котел.
2. Газогорелочное устройство.
3. Ручка управления.
4. Пьезовоспламенитель.
5. Регулятор температуры.
6. Смотровое окно.
7. Гибкая подводка для газа.
8. Штуцер для подключения газа.
9. Вход отопительной воды.
10. Выход отопительной воды.
11. Указатель температуры.
12. Вход воды горячего водоснабжения.
13. Выход воды горячего водоснабжения.
Рис 3. Котел «Элемент Комфорта» с автоматикой 820 NOVA
УСТРОЙСТВО КОТЛА С ГАЗОГОРЕЛОЧНЫМИ УСТРОЙСТВАМИ
ГГУ-40, ГГУ-45