Котел Элемент Комфорта Комфорт 7,5 - инструкция пользователя по применению, эксплуатации и установке на русском языке. Мы надеемся, она поможет вам решить возникшие у вас вопросы при эксплуатации техники.
Если остались вопросы, задайте их в комментариях после инструкции.
"Загружаем инструкцию", означает, что нужно подождать пока файл загрузится и можно будет его читать онлайн. Некоторые инструкции очень большие и время их появления зависит от вашей скорости интернета.

13
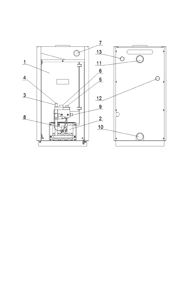
1. Котел.
2. Газогорелочное устройство.
3. Кнопка подачи газа на пилотную горелку.
4. Кнопка выключения.
5. Пьезовоспламенитель.
6. Рукоятка настройки температуры.
7. Указатель температуры.
8. Смотровое окно.
9. Штуцер для подключения газа.
10. Вход отопительной воды.
11. Выход отопительной воды.
12. Вход воды горячего водоснабжения.
13. Выход воды горячего водоснабжения.
Рис 1. Котел «Элемент Комфорта» с автоматикой 710 MINISIT
УСТРОЙСТВО КОТЛА С ГАЗОГОРЕЛОЧНЫМИ УСТРОЙСТВАМИ
ГГУ-30Д, ГГУ-35Д