Baxi Slim 1.400 iN - Инструкция по эксплуатации - Страница 15

Котел Baxi Slim 1.400 iN - инструкция пользователя по применению, эксплуатации и установке на русском языке. Мы надеемся, она поможет вам решить возникшие у вас вопросы при эксплуатации техники.

Если остались вопросы, задайте их в комментариях после инструкции.

"Загружаем инструкцию", означает, что нужно подождать пока файл загрузится и можно будет его читать онлайн. Некоторые инструкции очень большие и время их появления зависит от вашей скорости интернета.
Страница:
/ 39
Загружаем инструкцию
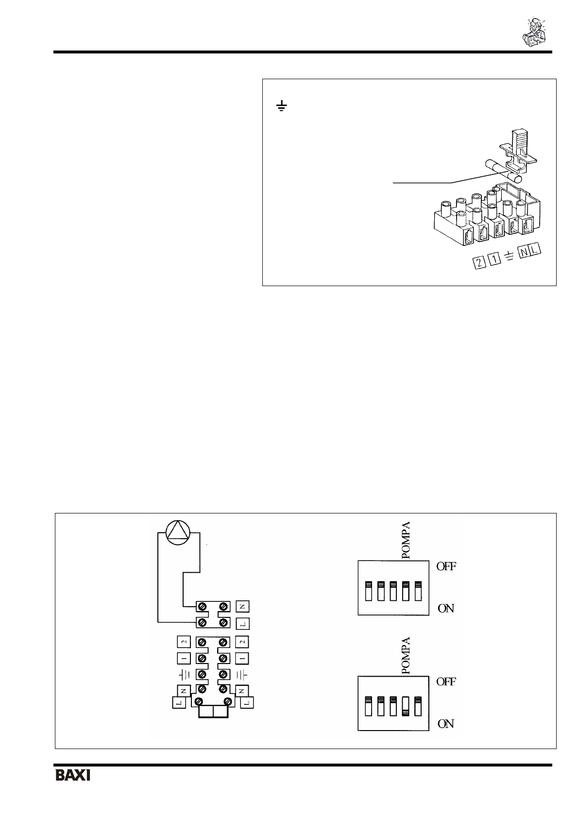
background image

SLIM i – iN                                                                                           

 

 

 

   

 

 

                                                                                - 14 -                              

 

 

 

 

5.1 

   

 

 

 

 

 

 

 

 

 

 

 

 

 

 

 

 

 

 

 

 

 

 

 

 

 

 

 

 

 

 

 

 

 

 

 

 

 

 

 

 

 

 

 

 

 

 

 

 

 

 

 

2  (

. 7).

 

(L)  = 

 

( )  = 

 

  = 

-

 

(1) (2) = 

 

 

 

 

 

. 7: 

 

 

 

 
 

5.2. 

 

 

 (

 

 1.400 iN, 1.490 iN, 1.620 iN) 

 

 

 

 

 

 

 

 

 

 

 

 

 

 

 

  

 

   

 

   

   

 

 

 

 

 

   

   

  

5.3. 

 

 

 (

 

 

 iN) 

 

 iN 

 

 

 

 

 

 

 

 

 

 

 

 

 

 

 

 

 

 

 

 

 

 

 

 

 

   

 

 

   

 

 

 

 

 

 

 

 

  (

 

 

   

 

 3x1 

2

   

 

 

 8 

 

 

   

 

). 

 

   

 

 

   

   

  «

Э

 

 

   

 

 

». 

 

 

 

   

   

 

  § 6. 

 

 

. 8: 

 

 

 

 

 

 – 

 

(

 

 

 

 

 

)  

 

 – 

 

(

 

 

 

 

 

)  

Полезные видео

Характеристики

Оцените статью
tehnopanorama.ru
Остались вопросы?

Не нашли свой ответ в руководстве или возникли другие проблемы? Задайте свой вопрос в форме ниже с подробным описанием вашей ситуации, чтобы другие люди и специалисты смогли дать на него ответ. Если вы знаете как решить проблему другого человека, пожалуйста, подскажите ему :)

Задать вопрос

Часто задаваемые вопросы
Как посмотреть инструкцию к Baxi Slim 1.400 iN?
Необходимо подождать полной загрузки инструкции в сером окне на данной странице
Руководство на русском языке?
Все наши руководства представлены на русском языке или схематично, поэтому вы без труда сможете разобраться с вашей моделью
Как скопировать текст из PDF?
Чтобы скопировать текст со страницы инструкции воспользуйтесь вкладкой "HTML"