Котел Baxi Nuvola Duo-tec HT 24 GA - инструкция пользователя по применению, эксплуатации и установке на русском языке. Мы надеемся, она поможет вам решить возникшие у вас вопросы при эксплуатации техники.
Если остались вопросы, задайте их в комментариях после инструкции.
"Загружаем инструкцию", означает, что нужно подождать пока файл загрузится и можно будет его читать онлайн. Некоторые инструкции очень большие и время их появления зависит от вашей скорости интернета.

7107112.01 (1-04/11)
12
10.2 СИСТЕМА ПРИТОКА ВОЗДУХА И ОТВОДОВ ПРОДУКТОВ СГОРАНИЯ ПО ДВУМ
РАЗДЕЛЬНЫМ ТРУБАМ
МОНТАЖ ДЫМОХОДА ПРИ ПОМОЩИ ПЕРЕХОДНОГО КОМПЛЕКТА
Такой комплект позволяет подключить трубы
дымоотведения и забора воздуха в любом
направлении благодаря возможности поворота на
360º. Данный тип системы позволяет удалять дым
как наружу здания с выходом через стену, так и
подключать к отдельным дымоходным трубам.
Забор воздуха для горения может осуществляться
в зонах, отделенных от мест дымоотвода.
Переходной
комплект,
поставляемый
как
дополнительное оборудование, состоит из
переходника для дымоотводящей трубы 80 (В) и
соединителя для трубы подачи воздуха (А). Для
подключения трубы подачи воздуха используются
те же винты и прокладка, которые были
предварительно сняты с заглушки.
(А) – труба подачи воздуха
(В) – труба выводов продуктов сгорания
Колено 90° позволяет присоединять котел к дымоходу в любом направлении, поскольку оно может
поворачиваться на 360°. Кроме того, колено 90° может использоваться в качестве дополнительного в
сочетании с дополнительной трубой или с коленом 45.
Использование колена 90º сокращает суммарную длину всех труб на 0,5 метра.
Использование колена 45º сокращает суммарную длину всех труб на 0,25 метра.
Первое колено 90º не включается в расчет максимальной возможной длины.
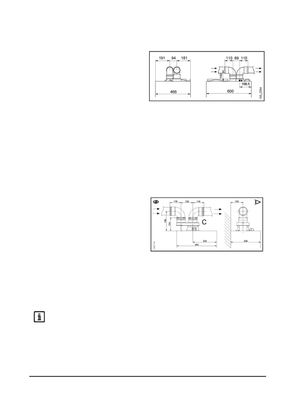
МОНТАЖ ДЫМОХОДА ПРИ ПОМОЩИ РАЗДЕЛИТЕЛЬНОГО КОМПЛЕКТА
(
альтернативный вариант
)
Для подключения раздельных труб: отвода
продуктов сгорания и забора воздуха, можно
использовать
специальный
разделительный
комплект (С), поставляемый как дополнительное
оборудование.
Такой
комплект
позволяет
подключить трубы дымоотведения и забора
воздуха в любом направлении благодаря
возможности поворота на 360º. Данный тип
системы позволяет удалять дым как наружу
здания с выходом через стену, так и подключать к
отдельным дымоходным трубам. Забор воздуха
для горения может осуществляться в зонах,
отделенных
от
мест
дымоотвода.
Разделительный
комплект
крепится
на
коаксиальном выходе (60/100 мм) котла и
позволяет продуктам сгорания и воздуху входить
и выходить через две раздельные трубы (80 мм).
Более подробная информация приведена в
инструкции по монтажу, прилагаемому к
разделительному комплекту.
(С) – разделительный комплект
НЕКОТОРЫЕ ПРИМЕРЫ УСТАНОВКИ ДЫМООТВОДЯЩИХ ТРУБОПРОВОДОВ С УКАЗАНИЕМ
ДОПУСТИМЫХ ДЛИН ПРИВДЕНЫ В КОНЦЕ РУКОВОДСТВА В ПРИЛОЖЕНИИ «РАЗДЕЛ D».
Ра
зд
ел
С
ПЕ
ЦИА
ЛИ
С
Т
ПО
У
С
ТА
Н
О
В
КЕ